LEMON Manuals: Even more car manuals for everyone: 1960-2025
Home >> Acura >> 2021 >> TLX Base >> Repair and Diagnosis (Single Page) >> Suspension >> Front Suspension >> Front Damper/Spring Components - Service Information >> Exploded View >> Front Damper/Spring Components >> Repair Procedure
April 5, 2026: LEMON Manuals is launched! Read the announcement.

Repair Procedure

How to use this manual .

GHH561312Courtesy of HONDA, U.S.A., INC.
: Torque, N.m (lbf.ft) : Replace : Warning/Caution : Inspection/Adjustment *: Learning : SPL Tool : Required Removal
  1. A.-

    Sub-Procedure 

    GHH561313Courtesy of HONDA, U.S.A., INC.

    Installation 

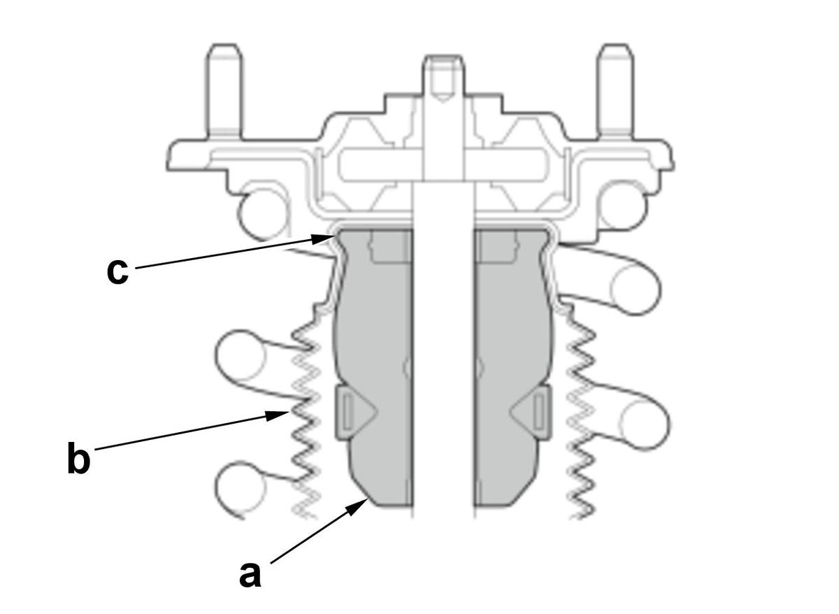
    • Push the bump stop (a) and the dust cover (b) into the dent (c) of the damper mounting base securely.
  2. B.-

    Sub-Procedure 

    GHH561314Courtesy of HONDA, U.S.A., INC.

    Installation 

    Specifications 

    Specification
    a No Clearance
  3. C.-

    Sub-Procedure 

    Removal 

    NOTICE: 

    Do not compress the spring more than necessary to remove the nut.

    Figure 1 

    • Refer to the figure 1.

    Tool Details (Figure 1) 

    Name
    a Strut Spring Compressor (Commercially Available)
    GHH561315Courtesy of HONDA, U.S.A., INC.

    Installation 

    NOTICE: 

    Do not compress the spring excessively.

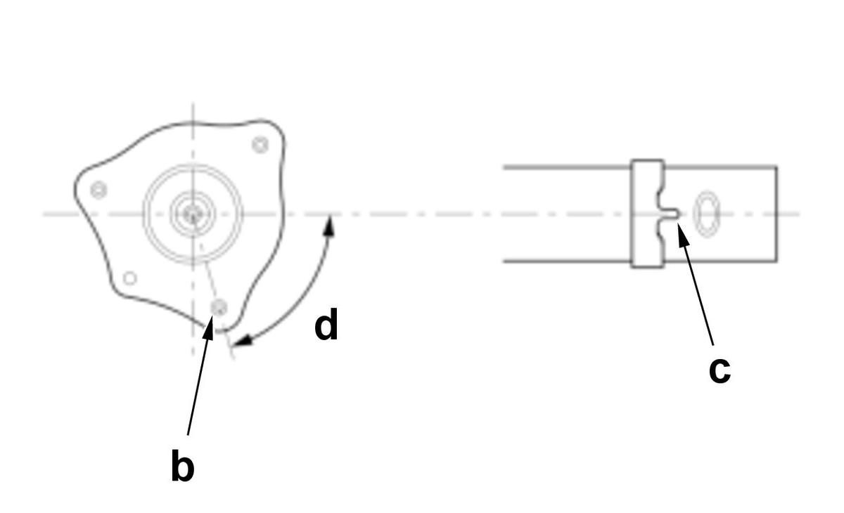
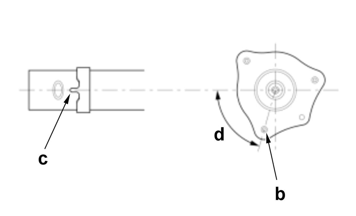
    1. Align the angle of the stud (b) on the damper mounting base with the aligning tab (c) on the bottom of the damper unit.

    Specifications (Figure 2 and 3) 

    Standard Value
    d 78.4 deg.+/-3 deg.

    Figure 2 (Left side) 

    GHH561316Courtesy of HONDA, U.S.A., INC.

    Figure 3 (Right side) 

    GHH561317Courtesy of HONDA, U.S.A., INC.

    Figure 4 

    2. Refer to the figure 4.

    NOTE:  Make sure that the dust cover (e) is properly positioned into the raised portion (f) of the damper unit. (Figure 4)

    Tool Details (Figure 4) 

    Name
    g Strut Spring Compressor (Commercially Available)
    GHH561318Courtesy of HONDA, U.S.A., INC.