LEMON Manuals: Even more car manuals for everyone: 1960-2025
Home >> Acura >> 2021 >> TLX Base >> Repair and Diagnosis >> External Pages >> Different variant/trim >> Section 20 (Electrical Component Locator And Service Information - Engine Block/Crankshaft Area Components (3.0L Engine)) >> Exploded View >> Engine Block/Crankshaft Area(3.0L Engine) >> Repair Procedure
April 5, 2026: LEMON Manuals is launched! Read the announcement.

Repair Procedure

WARNING: This page is about a different variant/trim than selected.

How to use this manual .

GHH559672Courtesy of HONDA, U.S.A., INC.
: Torque, N.m (lbf.ft) : Replace : Warning/Caution : Inspection/Adjustment *: Learning ■: SPL Tool : Required Removal
GHH559673Courtesy of HONDA, U.S.A., INC.
: Torque, N.m (lbf.ft) : Replace : Warning/Caution : Inspection/Adjustment *: Learning ■: SPL Tool : Required Removal
*1: In the illustration, other parts are omitted because the component parts and the removal/installation procedure are the same.
GHH559674Courtesy of HONDA, U.S.A., INC.
: Torque, N.m (lbf.ft) : Replace : Warning/Caution : Inspection/Adjustment *: Learning : SPL Tool : Required Removal
  1. A.-

    Key Information 

    Do the following before starting your work.

    Remove: 

    Sub-Procedure 

    GHH559675Courtesy of HONDA, U.S.A., INC.

    Installation 

    NOTE:

    Make sure the direction of the sensor connector (a) as shown.

    Installation Directions 

      Position Direction
    Front Bank b Crankshaft Pulley Side
    Rear Bank Transmission Side
  2. B.-

    Key Information 

    Do the following before starting your work.

    Remove: 

    Sub-Procedure 

    Removal 

    NOTE:  Be careful not to damage the crankshaft and the oil seal case.

    Figure 1 

    GHH559676Courtesy of HONDA, U.S.A., INC.

    Figure 2 

    GHH559677Courtesy of HONDA, U.S.A., INC.

    Installation 

    • Clean and dry the oil seal case.

    Lubricant Specifications (Figure 1) 

    Position Type
    a Engine Oil

    Installation Depth (Figure 2) 

    Standard Value
    b No Clearance
    • Clean the excess oil off the crankshaft, and check that the oil seal lip is not distorted.
  3. C.-

    Key Information 

    Do the following before starting your work.

    Remove: 

    Sub-Procedure 

    GHH559678Courtesy of HONDA, U.S.A., INC.

    Installation 

    1. Remove all of the old gasket from the mating surfaces of each part and clean it.

    Lubricant Specifications 

    Position Type Detail
    a Liquid Gasket (P/N 08718-0003, 08718-0004, or 08718-0009) b 2.5 mm (0.098 in)

    Lubricant Specifications 

    Position Type
    The lip of the oil seal Engine Oil
    NOTE:
    • Install the component within 5 minutes of applying the liquid gasket.
    • If too much time has passed after applying the liquid gasket, remove the old liquid gasket and residue, then reapply new liquid gasket.
    • Wait at least 30 minutes before filling the engine with oil.
    • Do not run the engine for at least 3 hours after installing the parts.
  4. D.-

    Key Information 

    Do the following before starting your work.

    Remove: 

    Sub-Procedure 

    Removal 

    NOTE:  Be careful not to damage the engine oil pump.

    Figure 1 

    GHH559679Courtesy of HONDA, U.S.A., INC.

    Figure 2 

    GHH559680Courtesy of HONDA, U.S.A., INC.

    Installation 

    • Clean and dry the oil seal housing.

    Lubricant Specifications (Figure 1) 

    Position Type
    a Engine Oil

    Installation Depth (Figure 2) 

    Standard Value
    b No Clearance
    • Clean the excess oil off the crankshaft, and check that the oil seal lip is not distorted.
  5. E.-

    Key Information 

    Do the following before starting your work.

    Remove: 

    Removal 

    1. Temporary install the timing belt mount cover and the side engine mount bracket ..

    2. Remove the oil pan - Refer to: A/C Compressor/Engine Oil Pan Area(3.0L Engine)

    Sub-Procedure 

    GHH559681Courtesy of HONDA, U.S.A., INC.

    Installation 

    1. Remove all of the old gasket from the mating surfaces of each part and clean it.

    Lubricant Specifications 

    Position Type Detail
    a Liquid Gasket (P/N 08718-0003, 08718-0004, or 08718-0009) b 2.5 mm (0.098 in)

    Lubricant Specifications 

    Position Type
    The lip of the oil seal Engine Oil

    Lubricant Specifications 

    Object Type Specified Amount
    Pump Rotor Chamber Engine Oil 2 mL (0.07 fl oz, 0.07 Imp oz)
    NOTE:
    • Install the component within 5 minutes of applying the liquid gasket.
    • If too much time has passed after applying the liquid gasket, remove the old liquid gasket and residue, then reapply new liquid gasket.
    • Wait at least 30 minutes before filling the engine with oil.
    • Do not run the engine for at least 3 hours after installing the parts.
  6. F.-
    NOTE:

    Keep all removed parts in order, and install them of the original position when installing.

    Sub-Procedure 

    Figure 1 

    GHH559682Courtesy of HONDA, U.S.A., INC.

    Figure 2 

    GHH559683Courtesy of HONDA, U.S.A., INC.

    Removal 

    • Refer to the figure 1.
    NOTE:
    • If you can feel a ridge of metal or hard carbon around the top of each cylinder, remove it with a ridge reamer (a). Follow the reamer manufacturer's instructions. If the ridge is not removed, it may damage the piston as it is pushed out. (Figure 2)
    • Take care not to damage the cylinder with the connecting rod.
    • Mark the cylinder number on the connecting rod and the connecting rod bearing cap to avoid mixing them up during reassembly.

    Tool Details (Figure 2) 

    Name
    a Ridge Reamer (Commercially Available)

    Figure 3 

    GHH559684Courtesy of HONDA, U.S.A., INC.

    Installation 

    1. Check the connecting rod bearing is securely in place.

    Lubricant Specifications 

    Position Type
    • Piston
    • Inside of Ring Compressor
    • Cylinder Bore
    Engine Oil

    2. Position the piston/rod assembly with the arrow (b) facing the timing belt side of the engine block. (Figure 3)

    Figure 4 

    GHH559685Courtesy of HONDA, U.S.A., INC.

    3. Push down on the ring compressor (c) to prevent the rings from expanding before entering the cylinder bore. (Figure 4)

    Tool Details (Figure 4) 

    Name
    c Ring Compressor (Commercially Available)

    4. Stop after the ring compressor pops free, and check the connecting rod-to-rod journal alignment before pushing the piston into place.

    5. Adjust the connecting rod bearing - Refer to: Connecting Rod Bearing Adjustment(3.0L Engine)

    (if necessary).

    Figure 5 

    GHH559686Courtesy of HONDA, U.S.A., INC.

    Figure 6 

    GHH559687Courtesy of HONDA, U.S.A., INC.

    6. Set the crankshaft to bottom dead center (BDC) for the cylinder.

    7. Install the connecting rod cap. Line up the mark (d) on the connecting rod and the connecting rod cap. (Figure 5)

    Lubricant Specifications 

    Position Type
    • Threads
    • Flange
    Engine Oil

    Tightening Procedure (Figure 6) 

    Step Operation Standard Value
    1 Hand Tighten The bolts until they sit on the connecting rod cap
    2 Temporarily Tighten 23 N.m (17 lbf.ft)
    3 Angle Tighten e 120 deg.
    NOTE:

    Remove the connecting rod bolt if you tightened it beyond the specified angle, and go back to step 1 of the tightening procedure. Do not loosen it back to the specified angle.

    8. Inspect the connecting rod and crankshaft end play - Refer to: Connecting Rod and Crankshaft End Play Inspection(3.0L Engine) . (if necessary)

  7. G.-

    Key Information 

    Do the following before starting your work.

    Remove: 

    Sub-Procedure 

    NOTE:
    • Keep all removed parts in order, and install them of the original position when installing.
    • Be careful not to damage the journals and the CKP pulse plate.

    NOTE:  The No. 1 journal is on the crankshaft pulley side.

    Figure 1 

    Fig 1: Bearing Cap Bolts Loosening Sequence
    GHH559688Courtesy of HONDA, U.S.A., INC.

    Removal 

    • Loosen the bearing cap bolts and the bearing cap side bolts in sequence 1/3 turn at a time; repeat the sequence until all bolts are loosened. (Figure 1)

    Figure 2 

    GHH559689Courtesy of HONDA, U.S.A., INC.

    Installation 

    1. Adjust the main bearing - Refer to: Crankshaft Main Bearing Adjustment(3.0L Engine)

    (if necessary).

    2. Install the crankshaft.

    Lubricant Specifications 

    Position Type
    • Main Bearings
    • Connecting Rod Bearings
    Engine Oil

    3. Install the thrust washer (a) as shown. (Figure 2)

    Lubricant Specifications 

    Position Type
    Thrust Washer Surfaces Engine Oil

    Figure 3 

    GHH559690Courtesy of HONDA, U.S.A., INC.

    4. Install the main bearings and the main bearing caps.

    NOTE:

    Install the main bearing caps aligning the arrows (b) facing the timing belt side of the engine block. (Figure 3)

    Lubricant Specifications 

    Position Type
    • Threads
    • Flanges
    Engine Oil

    Installation Directions 

    Position Direction
    c Crankshaft Pulley Side

    Figure 4 

    Fig 2: Crankshaft Bearings Tightening Sequence
    GHH559691Courtesy of HONDA, U.S.A., INC.

    Figure 5 

    GHH559692Courtesy of HONDA, U.S.A., INC.

    5. Tighten the bolts, in sequence. (Figure 4)

    Tightening Procedure (Figure 4 and 5) 

    Step Operation Object Specification
    1 Temporarily Tighten All Bolts
    2 Tighten - 22 N.m (16 lbf.ft)
    3 Angle Tighten - d 30deg.
    4 Tighten - 40 N.m (30 lbf.ft)
    5 Angle Tighten - d 42deg.
    6 Tighten - 26 N.m (19 lbf.ft)
    Step Operation Object Specification
    7 Angle Tighten - d 30deg.
  8. H.-

    Sub-Procedure 

    NOTE:

    Keep all removed parts in order, and install them of the original position when installing.

    Figure 1 

    GHH559693Courtesy of HONDA, U.S.A., INC.

    Removal 

    • Refer to the figure 1.

    Tool Details (Figure 1) 

    Name
    a Ring Expander (Commercially Available)

    Figure 2 

    GHH559694Courtesy of HONDA, U.S.A., INC.

    Installation 

    1. Clean all ring grooves thoroughly with a squared-off broken ring or a ring groove cleaner with a blade to fit the piston grooves. File down a blade if necessary. Do not use a wire brush to clean the ring grooves, or cut the ring grooves deeper with the cleaning tools.

    2. If necessary, inspect the piston ring end gap - Refer to: Block and Piston Inspection(3.0L Engine) or Piston, Ring, Pin, and Connecting Rod Inspection(3.0L Engine)

    .NOTE:  If the piston is to be separated from the connecting rod, do not install new rings yet.

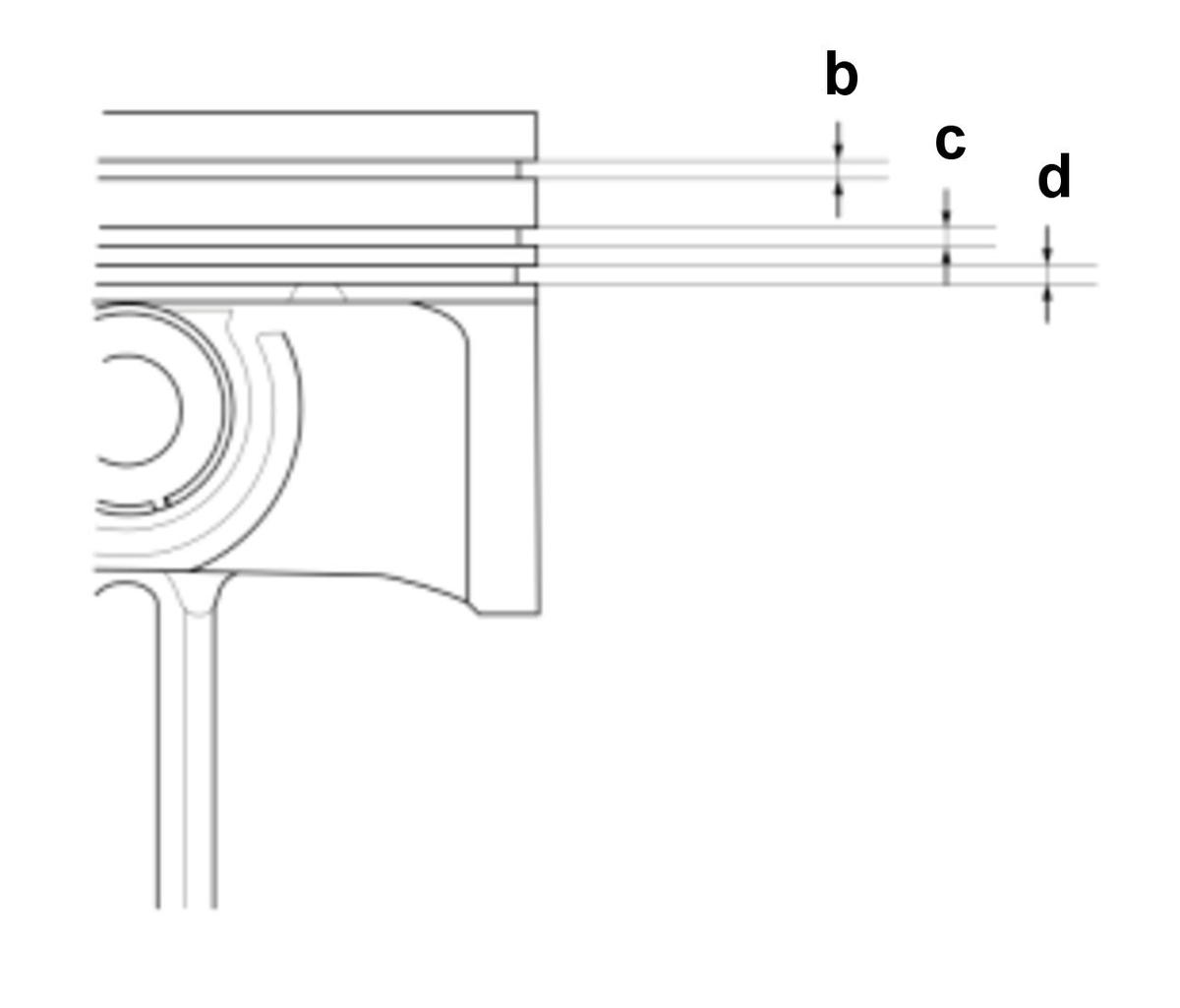
    Specifications (Figure 2) 

    Standard Value (New)
    b 1.5 mm (0.059 in)
    c 1.2 mm (0.047 in)
    d 2.0 mm (0.079 in)

    Figure 3 

    GHH559695Courtesy of HONDA, U.S.A., INC.

    Figure 4 

    GHH559696Courtesy of HONDA, U.S.A., INC.

    3. The manufacturing marks (e)/(f) must be facing upward. (Figure 3)

    Specifications (Figure 3) 

    Marking Position Mark
    e 1TU
    f 2TU

    Specifications (Figure 4) 

    Standard Value (New)
    Top Ring g 2.7 mm (0.106 in)
    h 1.5 mm (0.047 in)
    Second Ring g 2.7 mm (0.106 in)
    h 1.2 mm (0.047 in)

    Lubricant Specifications 

    Position Type
    Piston Rings Engine Oil

    4. Rotate the rings in their grooves to make sure they do not bind.

    Figure 5 

    GHH559697Courtesy of HONDA, U.S.A., INC.

    5. Position the ring end gaps as shown. (Figure 5)

    Specifications (Figure 5) 

    Position Object
    i Oil Ring Gap
    k Second Ring Gap
    m Oil Ring Gap
    n Top Ring Gap and Spacer Ring Gap
    o Piston Pin

    Specifications (Figure 5) 

    Specifications
    p About 90 deg.
    q About 45 deg.

    After Installation 

  9. I.-

    Sub-Procedure 

    NOTE:

    Keep all removed parts in order, and install them of the original position when installing.

    Figure 1 

    GHH559698Courtesy of HONDA, U.S.A., INC.

    Figure 2 

    GHH559699Courtesy of HONDA, U.S.A., INC.

    Removal 

    1. Remove the snap rings.

    Lubricant Specifications (Figure 1) 

    Position Type
    a Engine Oil

    -1. Turn them in the ring grooves until the end gaps are lined up with the cutouts in the piston pin bores (b). (Figure 1)

    NOTE:

    Take care not to damage the ring grooves.

    -2. Remove the snap rings from both sides of each piston. Start at the cutout in the piston pin bore. Remove the snap rings carefully so they do not go flying or get lost. Wear goggles or safety glasses to prevent eye injury. (Figure 2)

    Figure 3 

    GHH559700Courtesy of HONDA, U.S.A., INC.

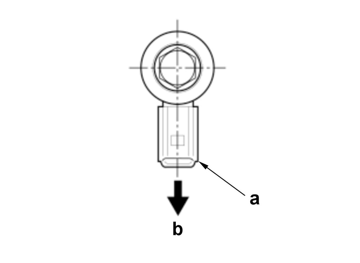
    2. Remove the piston pin. (Figure 3)

    • Heat the piston/rod assembly to about 158 deg.F (70 deg.C).

    3. If necessary, do the following inspection.

    Figure 4 

    GHH559701Courtesy of HONDA, U.S.A., INC.

    Figure 5 

    GHH559702Courtesy of HONDA, U.S.A., INC.

    Figure 6 

    GHH559703Courtesy of HONDA, U.S.A., INC.

    Installation 

    1. Install the snap ring. (only on one side)

    2. Install the piston pin.

    Lubricant Specifications (Figure 4) 

    Position Type
    c Engine Oil
    d
    e
    • Heat the piston to about 158 deg.F (70 deg.C). (Figure 5)
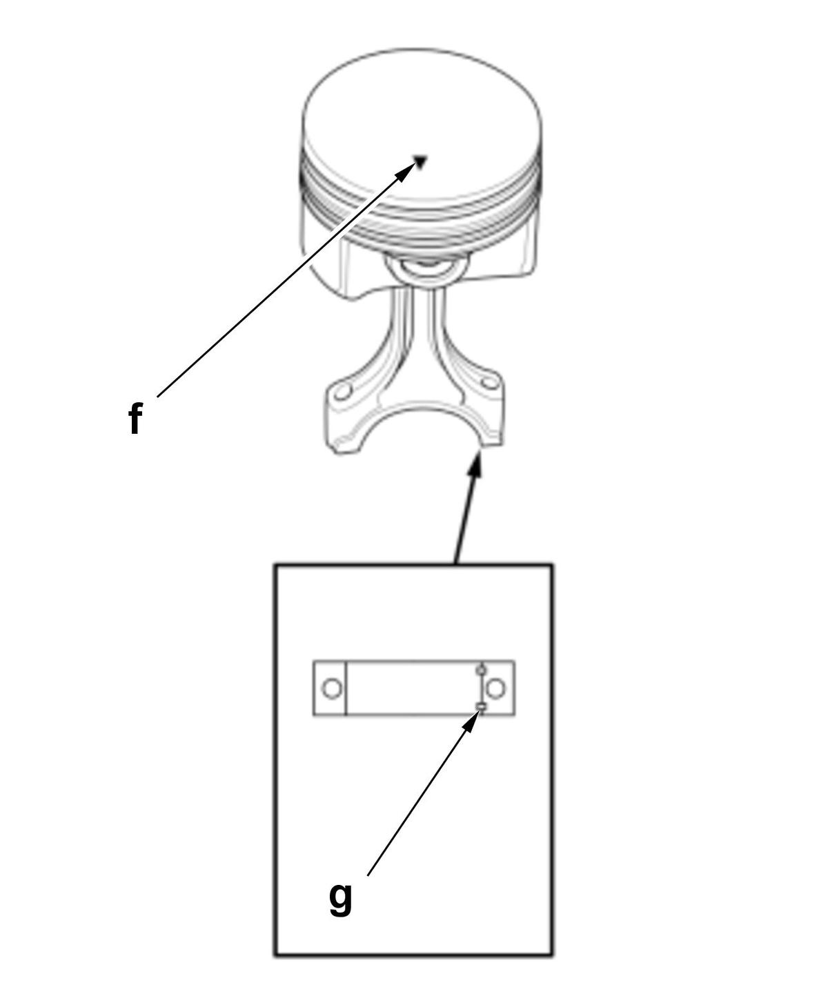
    • Align the arrow (f) with the groove (g) direction on the connecting rod as shown. (Figure 6)
      NOTE:

      Pay attention to the direction for installing the connecting rod according to the marks.

    3. Install the remaining snap ring.

    • Turn the snap rings in the ring grooves until the end gaps are positioned at the bottom of the piston.
  10. J.-

    Sub-Procedure 

    NOTE:

    Be careful not to damage the CKP pulse plate.

    GHH559704Courtesy of HONDA, U.S.A., INC.

    Installation 

    • Align the portion (a) on the CKP pulse plate and groove (b) on the crankshaft.

    Lubricant Specifications 

    Position Type
    • Bolt Threads
    • Bolt Flange
    Engine Oil