LEMON Manuals: Even more car manuals for everyone: 1960-2025
Home >> Acura >> 2022 >> MDX Base >> Repair and Diagnosis (Single Page) >> General Information >> OEM General Information >> Electrical Component Locator And Service Information : Front Damper/Spring Components (3.5L Engine) >> Exploded View >> Front Damper/Spring Components (3.5L Engine) >> Repair Procedure
April 5, 2026: LEMON Manuals is launched! Read the announcement.

Repair Procedure

How to use this Service Information .

GHH662714Courtesy of HONDA, U.S.A., INC.

: Torque, N.m (lbf.ft)

: Replace

: Warning/Caution

: Inspection/Adjustment

*: Learning

: SPL Tool

: Required Removal

  1. A.-

    Sub-Procedure 

    GHH662715Courtesy of HONDA, U.S.A., INC.

    Installation 

    • Push the bump stop (a) and the dust cover (b) into the dent (c) of the damper mounting base securely.
  2. B.-

    Sub-Procedure 

    GHH662716Courtesy of HONDA, U.S.A., INC.

    Installation 

    Specifications 

    Specification
    a No Clearance
  3. C.-

    Sub-Procedure 

    Removal 

    NOTICE: 

    Do not compress the spring more than necessary to remove the nut.

    • Refer to the figure 1.

    Tool Details (Figure 1) 

    Name
    a Spring Compressor (Commercially Available) or Equivalent Tool
    b Hex Wrench (Commercially Available)

    Figure 1 

    GHH662717Courtesy of HONDA, U.S.A., INC.

    Installation 

    NOTICE: 

    Do not compress the spring excessively.

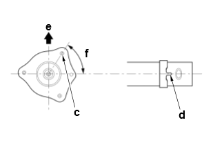
    1. Align the angle of the stud (c) on the damper mounting base with the aligning tab (d) on the bottom of the damper unit.

    Vehicle Directions (Figure 2) 

    Position Direction
    e Front

    Specifications (Figure 2 and 3) 

    Standard Value
    f 59 deg.+/-3 deg.

    Figure 2 (Left side) 

    GHH662718Courtesy of HONDA, U.S.A., INC.

    Figure 3 (Right side) 

    GHH662719Courtesy of HONDA, U.S.A., INC.

    2. Refer to the figure 4.NOTE: 

    • Make sure that the dust cover (g) is properly positioned into the raised portion (h) of the damper unit. (Figure 4)
    • Make sure that the tab (i) of the lower spring seat rubber is properly installed into the damper uint. (Figure 4)

    Tool Details (Figure 4) 

    Name
    k Spring Compressor (Commercially Available) or Equivalent Tool
    m Hex Wrench (Commercially Available)

    Figure 4 

    GHH662720Courtesy of HONDA, U.S.A., INC.