Repair Procedure
How to use this service information .
NOTICE:
When working with a vehicle equipped with the electronic air suspension, be sure to set it to the leveling off mode to prevent unexpected operation. Refer to the Electronic Air Suspension System Service Precautions - Refer to: Electronic Air Suspension System Connector Fitting Precautions or Electronic Air Suspension System Service Precautions for the procedure.
: Torque, N.m (lbf.ft)
: Replace
: Warning/Caution
: Inspection/Adjustment
*: Learning
: SPL Tool
: Required Removal
: Torque, N.m (lbf.ft)
: Replace
: Warning/Caution
: Inspection/Adjustment
*: Learning
: SPL Tool
: Required Removal
: Torque, N.m (lbf.ft)
: Replace
: Warning/Caution
: Inspection/Adjustment
*: Learning
: SPL Tool
: Required Removal
: Torque, N.m (lbf.ft)
: Replace
: Warning/Caution
: Inspection/Adjustment
*: Learning
: SPL Tool
: Required Removal
: Torque, N.m (lbf.ft)
: Replace
: Warning/Caution
: Inspection/Adjustment
*: Learning
: SPL Tool
: Required Removal
- A.-
Sub-Procedure
Removal
- Refer to the figure.
- B.-
After Installation
- With Maintenance Minder System: If the Maintenance Minder indicated that the dust and pollen filter needed replacement, reset the Maintenance Minder with the gauge . If the Maintenance Minder did not indicate that the dust and pollen filter needed replacement, reset the Maintenance Minder with the HDS .
- C.-
Key Information
Do the following before starting your work.
Remove:
- D.-
Preconditions
- Set the driver's and front passenger's temperature to MAX COOL (Lo), FRESH, and VENT (
) position.
Key Information
Do the following before starting your work.
Remove:
- Set the driver's and front passenger's temperature to MAX COOL (Lo), FRESH, and VENT (
- E.-
Preconditions
- Set to the VENT (
) position.
Key Information
Do the following before starting your work.
Remove:
Sub-Procedure
Installation
NOTE: Before installation, make sure the door and linkage move smoothly.
- Refer to the figure.
After Installation
- Set to the VENT (
- F.-
Preconditions
- Set the rear temperature to MAX COOL (Lo).
Key Information
Do the following before starting your work.
Remove:
Sub-Procedure
Installation
NOTE: Before installation, make sure the door and linkage move smoothly.
- Refer to the figure.
After Installation
- G.-
Sub-Procedure
Removal
- Refer to the figure.
- H.-
Key Information
Do the following before starting your work.
Remove:
- Driver's Center Console Cover - Refer to: Center Console Area (2025) or Center Console Area (2022-24)
- I.-
Key Information
Do the following before starting your work.
Remove:
- Driver's Center Console Cover - Refer to: Center Console Area (2025) or Center Console Area (2022 2023 2024)
- J.-
Preconditions
- Set the driver's temperature to MAX COOL (Lo).
Key Information
Do the following before starting your work.
Remove:
- Driver's Center Console Cover - Refer to: Center Console Area (2025) or Center Console Area (2022 2023 2024)
- Driver's Knee Airbag
Sub-Procedure
Installation
NOTE: Before installation, make sure the door and linkage move smoothly.
- Refer to the figure.
After Installation
- K.-
Preconditions
- Set to the VENT (
) position.
Key Information
Do the following before starting your work.
Remove:
- Driver's Center Console Cover - Refer to: Center Console Area (2025) or Center Console Area (2022 2023 2024)
- Driver's Knee Airbag
Sub-Procedure
Installation
NOTE: Before installation, make sure the door and linkage move smoothly.
- Refer to the figure.
After Installation
- Set to the VENT (
- L.-
Key Information
Do the following before starting your work.
Remove:
- Driver's Center Console Cover - Refer to: Center Console Area (2025) or Center Console Area (2022 2023 2024)
- Driver's Knee Airbag
- Driver's Heater Duct B
Sub-Procedure
Removal
- Refer to the figure.
- M.-
Key Information
Do the following before starting your work.
Remove:
- Driver's Center Console Cover - Refer to: Center Console Area (2025) or Center Console Area (2022 2023 2024)
- Driver's Knee Airbag
- Driver's Heater Duct B
Sub-Procedure
Removal
- Refer to the figure.
- N.-
Key Information
Do the following before starting your work.
Remove:
- Front Passenger's Knee Airbag
- Passenger's Heater Duct B
- O.-
Key Information
Do the following before starting your work.
Remove:
- P.-
Preconditions
- Set to the VENT (
) position.
Sub-Procedure
Installation
NOTE: Before installation, make sure the door and linkage move smoothly.
- Refer to the figure.
After Installation
- Set to the VENT (
- Q.-
Preconditions
- Set the front passenger's temperature to MAX COOL (Lo).
Sub-Procedure
Installation
NOTE: Before installation, make sure the door and linkage move smoothly.
- Refer to the figure.
After Installation
- R.-
Key Information
Do the following before starting your work.
Remove:
- S.-
Key Information
Do the following before starting your work.
Remove:
- T.-
- U.-
Preconditions
Key Information
Do the following before starting your work.
Remove:
Procedure:
After Installation
- A/C Refrigerant Evacuate and Charge
- A/C System Test - Refer to: A/C System Contamination Inspection or A/C System Test or A/C System Inspection
- V.-
Preconditions
- Set the driver's and front passenger's temperature to MAX COOL (Lo), FRESH, and VENT (
) position.
- A/C Refrigerant Recovered
- Engine Coolant Drained - Refer to: Coolant Check (3.5L Engine) or Coolant Replacement (3.5L Engine) or Coolant Replacement (3.0L Engine) or Coolant Check (3.0L Engine)
Key Information
Do the following before starting your work.
Remove:
Procedure:
Sub-Procedure
Removal
NOTE: Engine coolant will run out when the hoses are disconnected; drain it into a clean drip pan. Be sure not to let coolant spill on electrical parts or painted surfaces. If any coolant spills, rinse it off immediately.
Installation
- Refer to the figure.
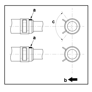
Heater Hose Installation Directions (Upper and lower)
Position Direction a Vehicle upper side b Vehicle left side Specifications (Upper and lower)
Standard Value c 110deg. After Installation
- Engine Coolant Refill - Refer to: Coolant Check (3.5L Engine) or Coolant Replacement (3.5L Engine) or Coolant Replacement (3.0L Engine) or Coolant Check (3.0L Engine)
- A/C Refrigerant Evacuate and Charge
- Set the driver's and front passenger's temperature to MAX COOL (Lo), FRESH, and VENT (
- W.-
Preconditions
- Set to the FRESH position.
Sub-Procedure
Installation
NOTE: Before installation, make sure the door and linkage move smoothly.
- Refer to the figure.
After Installation
- X.-
Preconditions
After Installation
- A/C Refrigerant Evacuate and Charge
- A/C System Test - Refer to: A/C System Contamination Inspection or A/C System Test or A/C System Inspection
- Y.-
- Z.-
Preconditions
- Engine Coolant Drained - Refer to: Coolant Check (3.5L Engine) or Coolant Replacement (3.5L Engine) or Coolant Replacement (3.0L Engine) or Coolant Check (3.0L Engine)
After Installation
- Engine Coolant Refill - Refer to: Coolant Check (3.5L Engine) or Coolant Replacement (3.5L Engine) or Coolant Replacement (3.0L Engine) or Coolant Check (3.0L Engine)