LEMON Manuals: Even more car manuals for everyone: 1960-2025
Home >> Acura >> 2022 >> MDX Base >> Repair and Diagnosis (Single Page) >> Steering >> Steering Linkage >> Electrical Component Locator And Service Information : Steering Gearbox Components >> Exploded View >> Steering Gearbox Components >> Repair Procedure
April 5, 2026: LEMON Manuals is launched! Read the announcement.

Repair Procedure

How to use this service information .

NOTICE: 

When working with a vehicle equipped with the electronic air suspension, be sure to set it to the leveling off mode to prevent unexpected operation. Refer to the Electronic Air Suspension System Service Precautions - Refer to: Electronic Air Suspension System Connector Fitting Precautions or Electronic Air Suspension System Service Precautions for the procedure.

GHH665532Courtesy of HONDA, U.S.A., INC.

: Torque, N.m (lbf.ft)

: Replace

: Warning/Caution

: Inspection/Adjustment

*: Learning

: SPL Tool

: Required Removal

*1: Part(s) are shown for one side only as the procedure is the same for both sides.

  1. A.-

    NOTE:  The tie-rod end can be removed without removing the steering gearbox.

    Key Information 

    Do the following before starting your work.

    Remove: 

    Disconnect: 

    After Installation 

  2. B.-

    Sub-Procedure 

    NOTICE: 

    Do not allow dust, dirt, or other foreign materials to enter the steering gearbox.

    GHH665533Courtesy of HONDA, U.S.A., INC.

    Installation 

    Lubricant Specifications 

    Position Type
    a Multipurpose Grease
    • Fit the boot ends properly into the grooves.

    After Installation 

    • Wipe the grease off the threaded section of the rack end.
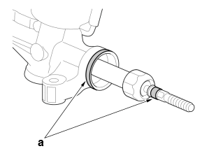
  3. C.-

    Sub-Procedure 

    GHH665534Courtesy of HONDA, U.S.A., INC.

    Installation 

    Tool Details 

    Name
    a Pincers 1098 (Oetiker) (Commercially Available) or Equivalent Tool

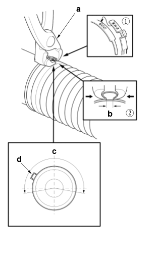
    Specifications 

    Specification
    b 2.0 mm (0.079 in)

    Specification 

    Standard Value
    c 200 deg.

    NOTE:  Position the ear portion (d) of the boot band above the level surface.

    After Installation 

    • Slide the rack right and left to be certain that the boots are not deformed or twisted.
  4. D.-

    Sub-Procedure 

    NOTICE: 

    • Do not allow dust, dirt, or other foreign materials to enter the steering gearbox.
    • Do not clamp the cylinder part of the gearbox housing in a C-clamp.
    • Be careful not to damage the mounting surface with a C-clamp.
    • Be careful not to damage the rack surface.
    GHH665535Courtesy of HONDA, U.S.A., INC.

    Removal/Installation 

    • Refer to the figure.

    Tool Details 

    Name
    a C-clamp (Commercially Available) or Equivalent Tool