LEMON Manuals: Even more car manuals for everyone: 1960-2025
Home >> Acura >> 2022 >> TLX Base >> Repair and Diagnosis (Single Page) >> Quick Lookups >> Electrical Component Locations >> Electrical Component Locator And Service Information - Rear SUBFRAME Area Components >> Exploded View >> Rear Subframe Area >> Repair Procedure
April 5, 2026: LEMON Manuals is launched! Read the announcement.

Repair Procedure

How to use this manual .

GHH562545Courtesy of HONDA, U.S.A., INC.
: Torque, N.m (lbf.ft) : Replace : Warning/Caution : Inspection/Adjustment *: Learning : ■SPL Tool : Required Removal
*1: Part(s) are shown for one side only as the procedure is the same for both sides.

*2: Without AWD

*3: With AWD

*4: 2.0 L engine with AWD

GHH562546Courtesy of HONDA, U.S.A., INC.
: Torque, N.m (lbf.ft) : Replace : Warning/Caution : Inspection/Adjustment *: Learning : ■SPL Tool : Required Removal
*1: With AWD

*2: 2.0 L engine with AWD

  1. A.-

    Preconditions 

    Key Information 

    Do the following before starting your work.

    Remove: 

    Disconnect: 

    • Rear Suspension Area
      1. -

        Rear Stabilizer Link (Rear Stabilizer Bar Side)

      2. -

        Rear Lower Arm A (Rear Knuckle Side)

      3. -

        Rear Lower Arm B (Rear Knuckle Side)

      4. -

        Rear Control Arm (Rear Knuckle Side)

      5. -

        Rear Upper Arm A (Rear Knuckle Side)

      6. -

        Rear Upper Arm B (Rear Knuckle Side)

      7. -

        Rear Damper (Rear Knuckle Side)

    Sub-Procedure 

    Removal 

    Figure 1 

    • Support the rear subframe (a) with a wood block (b) and a transmission jack (c). (Figure 1)

    Tool Details (Figure 1) 

    Name
    c Transmission Jack (Commercially Available)
    GHH562547Courtesy of HONDA, U.S.A., INC.

    Installation 

    • Do the following procedure while using the subframe alignment pin.

    Installation Directions (Figure 2) 

    Position Direction
    d Front

    Tightening Procedure (Figure 2) 

    Step Operation Object Specification
    1 Temporarily Tighten All Bolts -
    2 Align Subframe -
    3 Tighten All Bolts -> ->

    Figure 2 

    GHH562548Courtesy of HONDA, U.S.A., INC.

    After Installation 

  2. B.-

    Key Information 

    Do the following before starting your work.

    Remove: 

    Disconnect: 

    • Rear Stabilizer Link (Rear Stabilizer Bar Side)
    • Propeller Shaft (Rear Differential Side) (With AWD)
    • Rear Differential Breather Tube (Rear Differential Side) (With AWD)
    • Rear Differential Pump Motor Breather Tube (Motor Side) (With AWD)

    Sub-Procedure 

    Removal 

    Figure 1 

    1. Support the rear subframe (a) with a wood block (b) and a transmission jack (c). (Figure 1)

    Tool Details (Figure 1) 

    Name
    c Transmission Jack (Commercially Available)
    GHH562549Courtesy of HONDA, U.S.A., INC.

    2. Remove the rear stabilizer bar (d) through the wheelwell opening as shown. (Figure 2)

    NOTE:

    Do not try to remove the stabilizer bushing (e). Replace the stabilizer assembly if the bushings need replacement. (Figure 2)

    Specifications (Figure 2) 

    Position Standard Value
    f about 20 mm (0.79 in)

    Figure 2 

    GHH562550Courtesy of HONDA, U.S.A., INC.

    Installation 

    Installation Directions (Figure 3) 

    Position Direction
    g Front

    Tightening Procedure (Figure 3) 

    Step Operation Object Specification
    1 Temporarily Tighten -
    2 Tighten All Bolts ->
    Step Operation Object Specification
    3 Recheck specified torque All Bolts -

    Figure 3 

    GHH562551Courtesy of HONDA, U.S.A., INC.
  3. C.-

    Sub-Procedure 

    GHH562552Courtesy of HONDA, U.S.A., INC.

    Installation 

    Installation Directions 

    Mark Direction
    a Up

    Specifications 

    Standard Value
    b 2.0 mm (0.079 in) max.
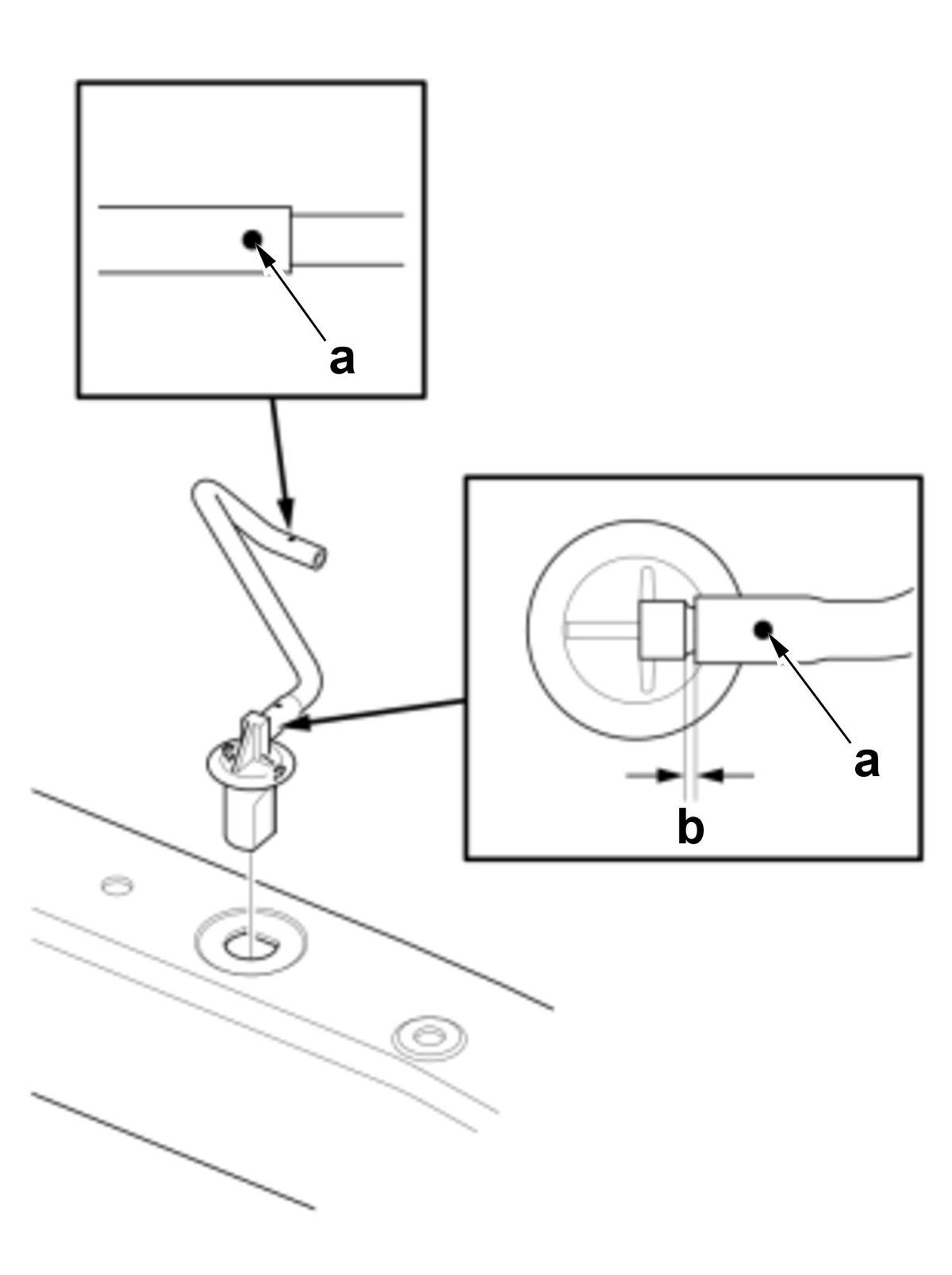
  4. D.-

    Sub-Procedure 

    GHH562553Courtesy of HONDA, U.S.A., INC.

    Installation 

    Installation Directions 

    Mark Direction
    a Up

    Specifications 

    Standard Value
    b 1.0 mm (0.039 in) max.