LEMON Manuals: Even more car manuals for everyone: 1960-2025
Home >> Acura >> 2022 >> TLX Base >> Repair and Diagnosis (Single Page) >> Quick Lookups >> Electrical Component Locations >> Electrical Component Locator And Service Information - Windshield Wiper Area Components >> Exploded View >> Windshield Wiper Area >> Repair Procedure
April 5, 2026: LEMON Manuals is launched! Read the announcement.

Repair Procedure

How to use this manual .

GHH563607Courtesy of HONDA, U.S.A., INC.
: Torque, N.m (lbf.ft) : Replace : Warning/Caution : Inspection/Adjustment *: Learning : ■SPL Tool : Required Removal
*1: Part(s) are shown for one side only as the procedure is the same for both sides.
GHH563608Courtesy of HONDA, U.S.A., INC.
: Torque, N.m (lbf.ft) : Replace : Warning/Caution : Inspection/Adjustment *: Learning : ■SPL Tool : Required Removal
*1: 2.0 L Engine

*2: 3.0 L Engine

GHH563609Courtesy of HONDA, U.S.A., INC.
: Torque, N.m (lbf.ft) : Replace : Warning/Caution : Inspection/Adjustment *: Learning : ■SPL Tool : Required Removal
  1. A.-

    Sub-Procedure 

    Figure 1 

    Removal 

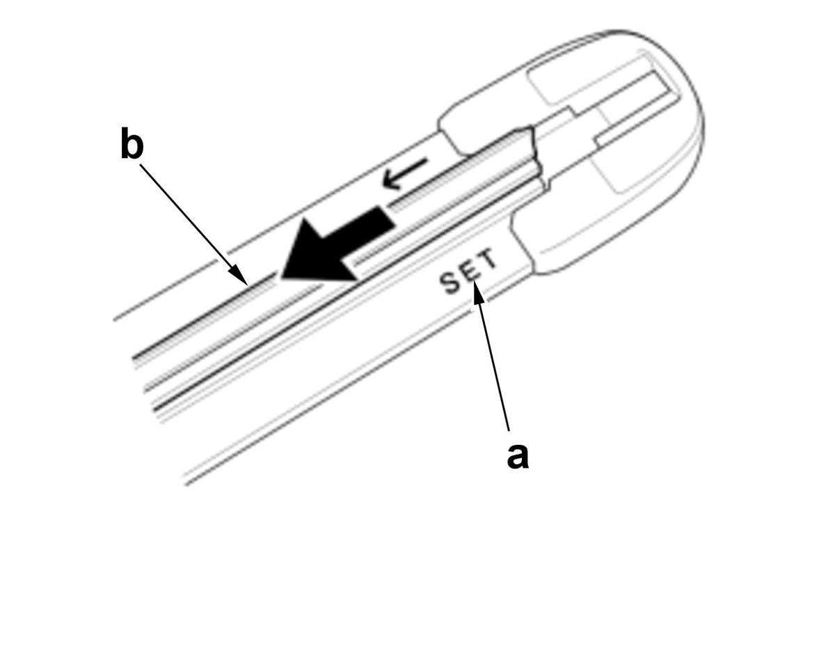
    1. Turn the vehicle to the ON mode.

    2. Turn and hold the wiper/washer switch to the MIST position, and then turn the vehicle to the OFF (LOCK) mode.

    3. Release the wiper/washer switch.

    NOTE:

    The wiper arm stops at the service position.

    4. On the "SET" label (a) side, pull back the wiper blade (b). (Figure 1)

    GHH563610Courtesy of HONDA, U.S.A., INC.

    Figure 2 

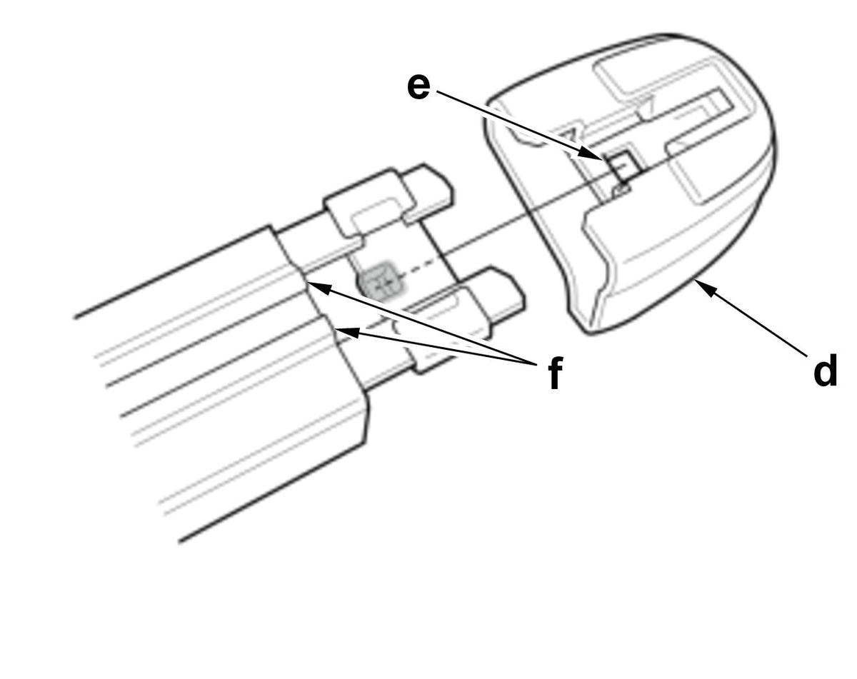
    5. Pull out the wiper blade (c). (Figure 2)

    GHH563611Courtesy of HONDA, U.S.A., INC.

    Figure 3 

    6. If necessary, remove the end cap (d) by pressing the tab (e). (Figure 3)

    NOTE:  When removing it, take care not to damage the rubber holder (f). (Figure 3)

    GHH563612Courtesy of HONDA, U.S.A., INC.
  2. B.-

    Sub-Procedure 

    GHH563613Courtesy of HONDA, U.S.A., INC.

    Removal 

    1. Turn the vehicle to the ON mode.

    2. Turn and hold the wiper/washer switch to the MIST position, and then turn the vehicle to the OFF (LOCK) mode.

    3. Release the wiper/washer switch.

    NOTE:

    The wiper arm stops at the service position.

    4. Remove the wiper blade holder (a).

    After Installation 

  3. C.-

    NOTE:  Before removal, turn the wiper/washer switch ON to the (LO) or (HI) position, then OFF to return the motor shaft to the park position.

    After Installation 

  4. D.-
    GHH563614Courtesy of HONDA, U.S.A., INC.
  5. E.-
    GHH563615Courtesy of HONDA, U.S.A., INC.
  6. F.-
    GHH563616Courtesy of HONDA, U.S.A., INC.
  7. G.-
    GHH563617Courtesy of HONDA, U.S.A., INC.
  8. H.-

    Sub-Procedure 

    Removal 

    • Refer to the figure.
    GHH563618Courtesy of HONDA, U.S.A., INC.
  9. I.-

    Sub-Procedure 

    GHH563619Courtesy of HONDA, U.S.A., INC.

    ? Removal 

    • Refer to the figure.
  10. J.-
    GHH563620Courtesy of HONDA, U.S.A., INC.

    Sub-Procedure 

    Installation 

    NOTE:

    Do not wipe off part (a) because special grease is applied.

    After Installation 

  11. K.-

    Key Information 

    Do the following before starting your work.

    Remove: 

    Sub-Procedure 

    Removal 

    • Refer to the figure.
    GHH563621Courtesy of HONDA, U.S.A., INC.
  12. L.-
    GHH563622Courtesy of HONDA, U.S.A., INC.
  13. M.-
    GHH563623Courtesy of HONDA, U.S.A., INC.
  14. N.-

    Sub-Procedure 

    GHH563624Courtesy of HONDA, U.S.A., INC.

    Removal 

    • Refer to the figure.
  15. O.-

    Sub-Procedure 

    GHH563625Courtesy of HONDA, U.S.A., INC.

    Installation 

    • Set the motor (a) and the wiper linkage assembly (b).
    NOTE:
    • Install the provided self-tapping bolts (c).
    • Do not use air tools and impact wrenches.
    • Keep the bolts perfectly straight while bolting them in.

    Tightening Procedure 

    Step Operation Object Specification
    1 Tighten (Tapping) All bolts The bolts until they sit on the linkage.
    2 Loosen All bolts -
    3 Tighten All bolts -

    After Installation 

  16. P.-

    Sub-Procedure 

    GHH563626Courtesy of HONDA, U.S.A., INC.

    Installation 

    • Set the windshield wiper motor to the park position.

      NOTE:  Connect the wiper motor connector, and turn the wiper/washer switch ON to (LO) or (HI) position, then OFF to return the wiper motor shaft to the park position.

    • Align the marks (a).

    After Installation 

  17. Q.-

    Sub-Procedure 

    GHH563627Courtesy of HONDA, U.S.A., INC.

    Installation 

    Lubricant Specifications 

    Position Type
    a Multipurpose Grease