LEMON Manuals: Even more car manuals for everyone: 1960-2025
Home >> Acura >> 2023 >> Integra Base, Automatic CVT Trans >> Repair and Diagnosis (Single Page) >> Electrical >> Component Locations >> Electrical Component Locator And Service Information : Transmission Components(CVT) >> Exploded View >> Transmission Components (CVT) >> Repair Procedure
April 5, 2026: LEMON Manuals is launched! Read the announcement.

Repair Procedure

How to use this service information .

NOTICE: 

GHH657129Courtesy of HONDA, U.S.A., INC.

: Torque, N.m (lbf.ft)

: Replace

: Warning/Caution

: Inspection/Adjustment

*: Learning

: SPL Tool

: Required Removal

GHH657130Courtesy of HONDA, U.S.A., INC.

: Torque, N.m (lbf.ft)

: Replace

: Warning/Caution

: Inspection/Adjustment

*: Learning

: SPL Tool

: Required Removal

GHH657131Courtesy of HONDA, U.S.A., INC.

: Torque, N.m (lbf.ft)

: Replace

: Warning/Caution

: Inspection/Adjustment

*: Learning

: SPL Tool

: Required Removal

GHH657132Courtesy of HONDA, U.S.A., INC.

: Torque, N.m (lbf.ft)

: Replace

: Warning/Caution

: Inspection/Adjustment

*: Learning

: SPL Tool

: Required Removal

GHH657133Courtesy of HONDA, U.S.A., INC.

: Torque, N.m (lbf.ft)

: Replace

: Warning/Caution

: Inspection/Adjustment

*: Learning

: SPL Tool

: Required Removal

GHH657134Courtesy of HONDA, U.S.A., INC.

: Torque, N.m (lbf.ft)

: Replace

: Warning/Caution

: Inspection/Adjustment

*: Learning

: SPL Tool

: Required Removal

GHH657135Courtesy of HONDA, U.S.A., INC.

: Torque, N.m (lbf.ft)

: Replace

: Warning/Caution

: Inspection/Adjustment

*: Learning

: SPL Tool

: Required Removal

GHH657136Courtesy of HONDA, U.S.A., INC.

: Torque, N.m (lbf.ft)

: Replace

: Warning/Caution

: Inspection/Adjustment

*: Learning

: SPL Tool

: Required Removal

*1: Left-hand threads

  1. A.-

    Sub-Procedure 

    ■ Installation 

    NOTICE: 

    Tighten the bolts in a crisscross pattern in at least two steps.

  2. B.-

    Sub-Procedure 

    GHH657137Courtesy of HONDA, U.S.A., INC.

    ■ Installation 

    • Refer to the figure.
  3. C.-

    Sub-Procedure 

    GHH657138Courtesy of HONDA, U.S.A., INC.

    ■ Removal 

    • Pry down the lock tab of the washer (a).
  4. D.-

    Sub-Procedure 

    GHH657139Courtesy of HONDA, U.S.A., INC.

    ■ Installation 

    • Install the pipes at the appropriate points as shown.

    Lubricant Specifications 

    Object Type
    O-Ring Transmission Fluid

    Installation Information 

    Name
    a 12 x 89 mm Pipe
    b Lubrication Pipe D
    c Lubrication Pipe E
  5. E.-

    Sub-Procedure 

    ■ Installation 

    NOTICE: 

    • Tighten the bolts in a crisscross pattern in at least two steps.
    • Be careful not to drop the oil guide plate.

    After Installation 

    Procedure After Replacing Torque Converter Housing 

    1. CVT Differential Carrier Bearing Preload Inspection

    2. Final Drive Shaft Tapered Roller Bearing Preload Inspection

  6. F.-

    After Installation 

    Procedure After Replacing Gasket 

    1. CVT Differential Carrier Bearing Preload Inspection

    2. Final Drive Shaft Tapered Roller Bearing Preload Inspection

  7. G.-

    Sub-Procedure 

    ■ Installation 

    • Make sure to assemble the final drive shaft and the final driven gear correctly (Combination A or B) if either one of them or both are to be replaced. Correct combinations of the shaft and gear can be identified by the presence or the absence of the groove (a). (Figure 1 and 2)

    Figure 1 (Combination A) 

    GHH657140Courtesy of HONDA, U.S.A., INC.

    Figure 2 (Combination B) 

    GHH657141Courtesy of HONDA, U.S.A., INC.
  8. H.-

    Sub-Procedure 

    Figure 1 

    GHH657142Courtesy of HONDA, U.S.A., INC.

    ■ Removal 

    • Pry down the lock tab of the washer (a). (Figure 1)

    Figure 2 

    GHH657143Courtesy of HONDA, U.S.A., INC.

    ■ Installation 

    • Install the roller by aligning it with the groove (b) of the control shaft. (Figure 2)
  9. I.-

    Sub-Procedure 

    GHH657144Courtesy of HONDA, U.S.A., INC.

    ■ Installation 

    • Install the detent lever by aligning the guide tab (a) of the detent lever with the opening (b) of the manual valve.
  10. J.-

    Sub-Procedure 

    GHH657145Courtesy of HONDA, U.S.A., INC.

    ■ Installation 

    Lubricant Specifications 

    Position Type
    a Transmission Fluid

    Specifications 

    Standard Value
    b 0.5-1.5 mm (0.020-0.059 in)
  11. K.-

    Sub-Procedure 

    ■ Removal 

    NOTICE: 

    Do not use a magnet to remove the check balls.

    GHH657146Courtesy of HONDA, U.S.A., INC.

    ■ Installation 

    • Install the check balls at the specified position (a).

    NOTICE: 

    Be careful not to drop the check balls.

  12. L.-

    Sub-Procedure 

    GHH657147Courtesy of HONDA, U.S.A., INC.

    ■ Installation 

    • Align the hole (a) of the stator shaft flange with the dowel pin (b).

    After Installation 

    Procedure After Replacing Stator Shaft Flange 

  13. M.-

    Sub-Procedure 

    GHH657148Courtesy of HONDA, U.S.A., INC.

    ■ Installation 

    Lubricant Specifications 

    Object Type
    Thrust Needle Bearing Transmission Fluid

    Installation Directions 

    Position Direction
    a Transmission Housing Side

    After Installation 

    Procedure After Replacing Thrust Needle Bearing 

  14. N.-

    Sub-Procedure 

    Figure 1 

    GHH657149Courtesy of HONDA, U.S.A., INC.

    ■ Removal 

    • Note the depth (a) between the surface of the transmission housing (b) and the clutch guide (c). (Figure 1)
      NOTE:

      The recorded value of the depth will be the standard one when installing the input shaft assembly.

    Figure 2 

    GHH657150Courtesy of HONDA, U.S.A., INC.

    ■ Installation 

    1. Install the input shaft assembly by aligning the clutch discs (d) with the sun gear (e), and aligning the clutch guide (f) with the ring gear (g). (Figure 2)

    Figure 3 

    GHH657151Courtesy of HONDA, U.S.A., INC.

    2. Measure the depth (h) between the surface of the transmission housing (i) and the clutch guide (k), then make sure the measured value of the depth is within the recorded value when removing. (Figure 3)

  15. O.-

    Sub-Procedure 

    GHH657152Courtesy of HONDA, U.S.A., INC.

    ■ Installation 

    Lubricant Specifications 

    Object Type
    Thrust Needle Bearing Transmission Fluid

    Installation Directions 

    Position Direction
    a Transmission Housing Side

    After Installation 

    Procedure After Replacing Thrust Needle Bearing 

  16. P.-

    Sub-Procedure 

    GHH657153Courtesy of HONDA, U.S.A., INC.

    ■ Removal/Installation 

    Tool Details 

    Name
    a Snap Ring Pliers (Commercially Available)

    ■ Installation 

    NOTICE: 

    • Be careful not to deform the snap ring by opening/closing it excessively.
    • Make sure the snap ring is firmly installed in the groove.
  17. Q.-

    After Installation 

    Procedure After Replacing Planetary Carrier 

  18. R.-

    After Installation 

    Procedure After Replacing Thrust Washer 

  19. S.-

    Sub-Procedure 

    GHH657154Courtesy of HONDA, U.S.A., INC.

    ■ Installation 

    Installation Directions 

    Position Direction
    a Transmission Housing Side

    After Installation 

    Procedure After Replacing Washer 

  20. T.-

    Sub-Procedure 

    ■ Installation 

    NOTICE: 

    • Be careful not to deform the snap ring by opening/closing it excessively.
    • Make sure the snap ring is firmly installed in the groove.

    After Installation 

    Procedure After Replacing Snap Ring 

  21. U.-

    Sub-Procedure 

    GHH657155Courtesy of HONDA, U.S.A., INC.

    ■ Installation 

    Installation Directions 

    Position Direction
    a Transmission Housing Side
  22. V.-

    Sub-Procedure 

    ■ Installation 

    NOTICE: 

    Starting with the reverse brake plate, alternately install the reverse brake plates and the reverse brake discs.

    After Installation 

    Procedure After Replacing Reverse Brake Plate or Reverse Brake Disc 

  23. W.-

    Sub-Procedure 

    GHH657156Courtesy of HONDA, U.S.A., INC.

    ■ Installation 

    Installation Directions 

    Mark Direction
    a UP

    After Installation 

    Procedure After Replacing Reverse Brake Disc Spring 

  24. X.-

    Sub-Procedure 

    GHH657157Courtesy of HONDA, U.S.A., INC.

    ■ Removal/Installation 

    1. Put the reverse brake spring compressor attachment (a) on the spring retainer/return spring assembly (b).

    NOTICE:  Be sure the attachment is set over the return springs, not on the reverse brake piston (c).

    2. Install the reverse brake spring compressor plate (d) as shown.

    Installation Directions 

    Mark Direction
    e UP

    3. Make sure that the reverse brake spring compressor bolt (f) is properly installed on the dent in the surface of the reverse brake spring compressor attachment.

    4. Compress the return springs using the reverse brake spring compressor until the snap ring securing the spring retainer/return spring can be removed/installed.

    5. Remove/Install the snap ring.

    6. Remove the reverse brake spring compressor.

    ■ Installation 

    NOTICE: 

    • Be careful not to deform the snap ring by opening/closing it excessively.
    • Make sure the snap ring is firmly installed in the groove.
  25. Y.-

    Sub-Procedure 

    GHH657158Courtesy of HONDA, U.S.A., INC.

    ■ Installation 

    • Install the spring retainer/return spring assembly by aligning their holes (a) with the bosses (b).
  26. Z.-

    Sub-Procedure 

    GHH657159Courtesy of HONDA, U.S.A., INC.

    ■ Removal 

    • Remove the reverse brake piston while applying air pressure to the reverse brake pressure circuit hole (a).

    NOTICE: 

    Cover the hydraulic circuit hole using a shop towel to prevent scatter of the transmission fluid.

    After Installation 

    Procedure After Replacing Reverse Brake Piston 

  27. AA.-

    Sub-Procedure 

    NOTICE: 

    The bearing and the bearing outer race should be replaced as a set.

    Figure 1 

    GHH657160Courtesy of HONDA, U.S.A., INC.

    ■ Removal 

    Be careful not to burn yourself by the hot part.

    NOTICE: 

    Do not heat the transmission housing more than 212 deg.F (100 deg.C).

    Tool Details (Figure 1) 

    Name
    a Heat Gun (Commercially Available)

    Figure 2 

    GHH657161Courtesy of HONDA, U.S.A., INC.

    ■ Installation 

    Lubricant Specifications 

    Object Type
    Differential Carrier Tapered Roller Bearing Outer Race Transmission Fluid

    Specifications (Figure 2) 

    Specification
    b No Clearance
  28. AB.-

    Sub-Procedure 

    GHH657162Courtesy of HONDA, U.S.A., INC.

    ■ Installation 

    • Install the spacer by aligning the tab (a) with the groove (b).

    After Installation 

    Procedure After Replacing Spacer 

  29. AC.-

    Sub-Procedure 

    GHH657163Courtesy of HONDA, U.S.A., INC.

    ■ Removal/Installation 

    Tool Details 

    Name
    a Snap Ring Pliers (Commercially Available)

    ■ Installation 

    NOTICE: 

    • Be careful not to deform the snap ring by opening/closing it excessively.
    • Make sure the snap ring is firmly installed in the groove.
  30. AD.-

    Sub-Procedure 

    Figure 1 

    GHH657164Courtesy of HONDA, U.S.A., INC.

    ■ Removal 

    Tool Details (Figure 1) 

    Name
    a Bearing Puller (Commercially Available)
    b Spacer (Commercially Available)

    Figure 2 

    GHH657165Courtesy of HONDA, U.S.A., INC.

    ■ Installation 

    Lubricant Specifications 

    Object Type
    Driven Pulley Shaft Bearing Transmission Fluid

    Specifications (Figure 2) 

    Specification
    c No Clearance

    After Installation 

    Procedure After Replacing Driven Pulley Shaft Bearing 

  31. AE.-

    Sub-Procedure 

    Figure 1 

    GHH657166Courtesy of HONDA, U.S.A., INC.

    ■ Removal 

    Tool Details (Figure 1) 

    Name
    a Bearing Puller (Commercially Available)
    b Spacer (Commercially Available)

    Figure 2 

    GHH657167Courtesy of HONDA, U.S.A., INC.

    ■ Installation 

    Lubricant Specifications (Figure 2) 

    Position Type
    c Transmission Fluid

    Installation Directions (Figure 2) 

    Position Direction
    d Transmission Housing Side

    Specifications (Figure 2) 

    Specification
    e No Clearance

    After Installation 

    Procedure After Replacing Secondary Drive Gear 

  32. AF.-

    Sub-Procedure 

    NOTICE: 

    The bearing and the bearing outer race should be replaced as a set.

    Figure 1 

    GHH657168Courtesy of HONDA, U.S.A., INC.

    ■ Removal 

    Be careful not to burn yourself by the hot part.

    NOTICE: 

    Do not heat the transmission housing more than 212 deg.F (100 deg.C).

    Tool Details (Figure 1) 

    Name
    a Heat Gun (Commercially Available)

    Figure 2 

    GHH657169Courtesy of HONDA, U.S.A., INC.

    ■ Installation 

    Lubricant Specifications 

    Object Type
    Final Drive Shaft Tapered Roller Bearing Outer Race Transmission Fluid

    Specifications (Figure 2) 

    Specification
    b No Clearance
  33. AG.-

    After Installation 

    Procedure After Replacing Transmission Housing 

    1. CVT Differential Carrier Bearing Preload Inspection

    2. Final Drive Shaft Tapered Roller Bearing Preload Inspection

    3. Reverse Brake Thrust Clearance Inspection

    4. Input Shaft Thrust Clearance Adjustment

  34. AH.-

    Sub-Procedure 

    GHH657170Courtesy of HONDA, U.S.A., INC.

    ■ Installation 

    • Make sure the ring end gap (a) of the sealing ring is as shown.
  35. AI.-

    Sub-Procedure 

    GHH657171Courtesy of HONDA, U.S.A., INC.

    ■ Removal/Installation 

    Tool Details 

    Name
    a Snap Ring Pliers (Commercially Available)

    ■ Installation 

    NOTICE: 

    • Be careful not to deform the snap ring by opening/closing it excessively.
    • Make sure the snap ring is firmly installed in the groove.
  36. AJ.-

    Sub-Procedure 

    Figure 1 

    GHH657172Courtesy of HONDA, U.S.A., INC.

    ■ Removal 

    Tool Details (Figure 1) 

    Name
    a 3/8"-16 Slide Hammer (Commercially Available)

    Figure 2 

    GHH657173Courtesy of HONDA, U.S.A., INC.

    ■ Installation 

    Lubricant Specifications 

    Object Type
    Driven Pulley Shaft Bearing Transmission Fluid

    Specifications (Figure 2) 

    Specification
    b No Clearance
  37. AK.-

    Sub-Procedure 

    GHH657174Courtesy of HONDA, U.S.A., INC.

    ■ Removal/Installation 

    Tool Details 

    Name
    a Snap Ring Pliers (Commercially Available)

    ■ Installation 

    NOTICE: 

    • Be careful not to deform the snap ring by opening/closing it excessively.
    • Make sure the snap ring is firmly installed in the groove.
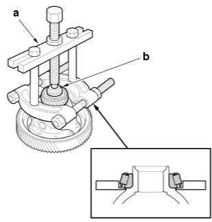
  38. AL.-

    Sub-Procedure 

    GHH657175Courtesy of HONDA, U.S.A., INC.

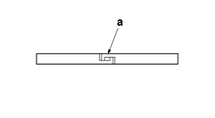
    ■ Removal 

    • Pry down the lock tab of the washer (a).
  39. AM.-

    Sub-Procedure 

    GHH657176Courtesy of HONDA, U.S.A., INC.

    ■ Removal 

    Be careful not to burn yourself by the hot part.

    NOTICE: 

    Do not heat the torque converter housing more than 212 deg.F (100 deg.C).

    Tool Details (Figure 1) 

    Name
    a Heat Gun (Commercially Available)
  40. AN.-

    Sub-Procedure 

    GHH657177Courtesy of HONDA, U.S.A., INC.

    ■ Installation 

    Lubricant Specifications 

    Position Type
    a Transmission Fluid

    Specifications 

    Specification
    b Flush with Housing
  41. AO.-

    Sub-Procedure 

    NOTICE: 

    The bearing and the bearing outer race should be replaced as a set.

    Figure 1 

    GHH657178Courtesy of HONDA, U.S.A., INC.

    ■ Removal 

    Be careful not to burn yourself by the hot part.

    NOTICE: 

    Do not heat the torque converter housing more than 212 deg.F (100 deg.C).

    Tool Details (Figure 1) 

    Name
    a Heat Gun (Commercially Available)

    Figure 2 

    GHH657179Courtesy of HONDA, U.S.A., INC.

    ■ Installation 

    Lubricant Specifications 

    Object Type
    Differential Carrier Tapered Roller Bearing Outer Race Transmission Fluid

    Specifications (Figure 2) 

    Specification
    b No Clearance
  42. AP.-

    Sub-Procedure 

    GHH657180Courtesy of HONDA, U.S.A., INC.

    ■ Installation 

    • Install the spacer by aligning the tab (a) with the groove (b).

    After Installation 

    Procedure After Replacing Spacer 

  43. AQ.-

    Sub-Procedure 

    NOTICE: 

    The bearing and the bearing outer race should be replaced as a set.

    Figure 1 

    GHH657181Courtesy of HONDA, U.S.A., INC.

    ■ Removal 

    Be careful not to burn yourself by the hot part.

    NOTICE: 

    Do not heat the torque converter housing more than 212 deg.F (100 deg.C).

    Tool Details (Figure 1) 

    Name
    a Heat Gun (Commercially Available)

    Figure 2 

    GHH657182Courtesy of HONDA, U.S.A., INC.

    ■ Installation 

    Lubricant Specifications 

    Object Type
    Final Drive Shaft Tapered Roller Bearing Outer Race Transmission Fluid

    Specifications (Figure 2) 

    Specification
    b No Clearance
  44. AR.-

    Sub-Procedure 

    GHH657183Courtesy of HONDA, U.S.A., INC.

    ■ Installation 

    • Make sure the ring end gap (a) of the sealing ring is as shown.
  45. AS.-

    Sub-Procedure 

    GHH657184Courtesy of HONDA, U.S.A., INC.

    ■ Installation 

    • Make sure the ring end gap (a) of the sealing ring is as shown.
  46. AT.-

    After Installation 

    Procedure After Replacing Stator Shaft 

  47. AU.-

    Sub-Procedure 

    GHH657185Courtesy of HONDA, U.S.A., INC.

    ■ Installation 

    • Make sure the ring end gap (a) of the sealing ring is as shown.
  48. AV.-

    After Installation 

    Procedure After Replacing Input Shaft 

  49. AW.-

    Sub-Procedure 

    NOTICE: 

    The bearing and the bearing outer race should be replaced as a set.

    Figure 1 

    GHH657186Courtesy of HONDA, U.S.A., INC.

    ■ Removal 

    Tool Details (Figure 1) 

    Name
    a Bearing Puller (Commercially Available)
    b Spacer (Commercially Available)

    Figure 2 

    GHH657187Courtesy of HONDA, U.S.A., INC.

    ■ Installation 

    NOTICE: 

    Be sure to use a press.

    Lubricant Specifications 

    Object Type
    Final Drive Shaft Tapered Roller Bearing Transmission Fluid

    Specifications (Figure 2) 

    Specification
    c No Clearance

    After Installation 

    Procedure After Replacing Final Drive Shaft Tapered Roller Bearing 

    1. CVT Differential Carrier Bearing Preload Inspection

    2. Final Drive Shaft Tapered Roller Bearing Preload Inspection

  50. AX.-

    Sub-Procedure 

    NOTICE: 

    Be sure to use a press.

    Figure 1 

    GHH657188Courtesy of HONDA, U.S.A., INC.

    ■ Removal 

    Tool Details (Figure 1) 

    Name
    a Spacer (Commercially Available)

    Figure 2 

    GHH657189Courtesy of HONDA, U.S.A., INC.

    ■ Installation 

    Lubricant Specifications (Figure 2) 

    Position Type
    b Transmission Fluid

    Tool Details (Figure 2) 

    Name
    c Spacer (Commercially Available)

    Specifications (Figure 2) 

    Specification
    d No Clearance
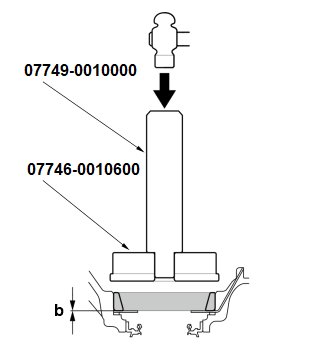
  51. AY.-

    Sub-Procedure 

    NOTICE: 

    The bearing and the bearing outer race should be replaced as a set.

    Figure 1 

    GHH657190Courtesy of HONDA, U.S.A., INC.

    ■ Removal 

    Tool Details (Figure 1) 

    Name
    a Bearing Puller (Commercially Available)
    b Spacer (Commercially Available)

    Figure 2 

    GHH657191Courtesy of HONDA, U.S.A., INC.

    ■ Installation 

    NOTICE: 

    Be sure to use a press.

    Lubricant Specifications 

    Object Type
    Final Drive Shaft Tapered Roller Bearing Transmission Fluid

    Specifications (Figure 2) 

    Specification
    c No Clearance

    After Installation 

    Procedure After Replacing Final Drive Shaft Tapered Roller Bearing 

    1. CVT Differential Carrier Bearing Preload Inspection

    2. Final Drive Shaft Tapered Roller Bearing Preload Inspection

  52. AZ.-

    After Installation 

    Procedure After Replacing Final Drive Shaft 

    1. CVT Differential Carrier Bearing Preload Inspection

    2. Final Drive Shaft Tapered Roller Bearing Preload Inspection

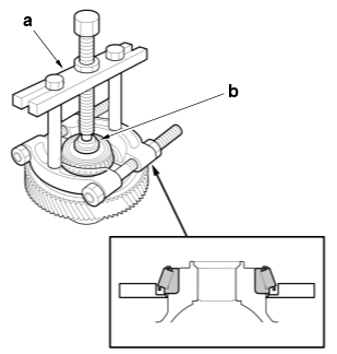
  53. BA.-

    Sub-Procedure 

    NOTICE: 

    The bearing and the bearing outer race should be replaced as a set.

    Figure 1 

    GHH657192Courtesy of HONDA, U.S.A., INC.

    ■ Removal 

    Tool Details (Figure 1) 

    Name
    a Bearing Puller (Commercially Available)
    b Spacer (Commercially Available)

    Figure 2 

    GHH657193Courtesy of HONDA, U.S.A., INC.

    ■ Installation 

    NOTICE: 

    Be sure to use a press.

    Lubricant Specifications 

    Object Type
    Differential Carrier Tapered Roller Bearing Transmission Fluid

    Tool Details (Figure 2) 

    Name
    c Spacer (Commercially Available)

    Specifications (Figure 2) 

    Specification
    d No Clearance

    After Installation 

    Procedure After Replacing Differential Carrier Tapered Roller Bearing 

  54. BB.-

    Sub-Procedure 

    GHH657194Courtesy of HONDA, U.S.A., INC.

    ■ Installation 

    NOTICE: 

    Tighten the bolts in a crisscross pattern in at least two steps.

    Installation Directions 

    Position Direction
    a Differential Carrier Side
  55. BC.-

    Sub-Procedure 

    NOTICE: 

    The bearing and the bearing outer race should be replaced as a set.

    Figure 1 

    GHH657195Courtesy of HONDA, U.S.A., INC.

    ■ Removal 

    Tool Details (Figure 1) 

    Name
    a Bearing Puller (Commercially Available)
    b Spacer (Commercially Available)

    Figure 2 

    GHH657196Courtesy of HONDA, U.S.A., INC.

    ■ Installation 

    NOTICE: 

    Be sure to use a press.

    Lubricant Specifications 

    Object Type
    Differential Carrier Tapered Roller Bearing Transmission Fluid

    Specifications (Figure 2) 

    Specification
    c No Clearance

    After Installation 

    Procedure After Replacing Differential Carrier Tapered Roller Bearing 

  56. BD.-

    After Installation 

    Procedure After Replacing Differential Carrier