LEMON Manuals: Even more car manuals for everyone: 1960-2025
Home >> Acura >> 2023 >> Integra Base, Standard Trans >> Repair and Diagnosis (Single Page) >> Electrical >> Component Locations >> Electrical Component Locator And Service Information : Engine Block/Crankshaft Area(1.5L Engine) >> Exploded View >> Engine Block/Crankshaft Area (1.5L Engine) >> Repair Procedure
April 5, 2026: LEMON Manuals is launched! Read the announcement.

Repair Procedure

How to use this service information .

GHH652577Courtesy of HONDA, U.S.A., INC.

: Torque, N.m (lbf.ft)

: Replace

: Warning/Caution

: Inspection/Adjustment

*: Learning

: SPL Tool

: Required Removal

*1: In the illustration, other parts are omitted because the component parts and the removal/installation procedure are the same.

GHH652578Courtesy of HONDA, U.S.A., INC.

: Torque, N.m (lbf.ft)

: Replace

: Warning/Caution

: Inspection/Adjustment

*: Learning

: SPL Tool

: Required Removal

  1. A.-

    NOTICE: 

    Keep all removed parts in order, and install them of the original position when installing.

    Key Information 

    Do the following before starting your work.

    Remove: 

    • Crankshaft

    Sub-Procedure 

    Figure 1 

    GHH652579Courtesy of HONDA, U.S.A., INC.

    Figure 2 

    GHH652580Courtesy of HONDA, U.S.A., INC.

    ■ Removal 

    • Refer to the figure 1.

    NOTICE: 

    • If you can feel a ridge of metal or hard carbon around the top of each cylinder, remove it with a ridge reamer (a). Follow the reamer manufacturer's instructions. If the ridge is not removed, it may damage the piston as it is pushed out. (Figure 2)
    • Take care not to damage the cylinder with the connecting rod.
    • Mark each piston/connecting rod assembly with its cylinder number to make sure they are reinstalled in the original order.
    • Keep all connecting rod bearings in order.
    NOTE:

    The existing number on the connecting rod does not indicate its position in the engine, it indicates the rod bore size.

    Tool Details (Figure 2) 

    Name
    a Ridge Reamer (Commercially Available)

    Figure 3 

    GHH652581Courtesy of HONDA, U.S.A., INC.

    ■ Installation 

    1. Check the connecting rod bearing is securely in place.

    Lubricant Specifications 

    Position Type
    • Piston
    • Inside of Ring Compressor
    • Cylinder Bore
    Engine Oil

    2. Position the piston/rod assembly with the arrow (b) facing the cam chain side of the engine block. (Figure 3)

    Figure 4 

    GHH652582Courtesy of HONDA, U.S.A., INC.

    3. Push down on the ring compressor (c) to prevent the rings from expanding before entering the cylinder bore. (Figure 4)

    Tool Details (Figure 4) 

    Name
    c Ring Compressor (Commercially Available)

    4. Stop after the ring compressor pops free, and check the connecting rod-to-rod journal alignment before pushing the piston into place.

  2. B.-

    Key Information 

    Do the following before starting your work.

    Remove: 

    Sub-Procedure 

    GHH652583Courtesy of HONDA, U.S.A., INC.

    ■ Installation 

    • Install a cooling control spacer (a) in the engine block whenever the engine block is replaced, and check for free play between the cooling control spacer and the engine block. If there is any free play, install a new cooling control spacer.

    NOTICE: 

    • Make sure the cooling control spacer contacts the bottom of the water jacket (b).
    • Make sure the cooling control spacer upper end portions and the clearance of the cylinder block end face.

    Specifications 

    Standard Value
    c 0.2 mm (0.008 in) min.
  3. C.-

    Key Information 

    Do the following before starting your work.

    Remove: 

    Sub-Procedure 

    NOTICE: 

    • Keep all removed parts in order, and install them of the original position when installing.
    • Be careful not to damage the journals and the CKP pulse plate.
    NOTE:

    The journal No. is No. 1 on the crankshaft pulley side.

    Figure 1 

    Fig 1: Crankshaft Loosening Sequence
    GHH652584Courtesy of HONDA, U.S.A., INC.

    ■ Removal 

    1. Remove the connecting rod cap and bearing half.

    2. Loosen the bolts in sequence 1/3 turn at a time; repeat the sequence until all bolts are loosened. (Figure 1)

    Figure 2 

    GHH652585Courtesy of HONDA, U.S.A., INC.

    ■ Installation 

    1. Adjust the main bearing - Refer to: Crankshaft Main Bearing Adjustment (1.5L Engine) or Crankshaft Main Bearing Adjustment (2.0L Engine) (2024 2025)

    (if necessary).

    2. Install the crankshaft.

    Lubricant Specifications 

    Position Type
    • Main Bearings
    • Connecting Rod Bearings
    Engine Oil

    3. Install the washer (a) as shown. (Figure 2)

    Lubricant Specifications 

    Position Type
    Thrust Washer Surfaces Engine Oil

    Figure 3 

    GHH652586Courtesy of HONDA, U.S.A., INC.

    Figure 4 

    GHH652587Courtesy of HONDA, U.S.A., INC.

    Figure 5 

    GHH652588Courtesy of HONDA, U.S.A., INC.

    4. Set the main bearing caps and the bearing cap bolts in place. Then loosely tighten the bearing cap bolts. (Figure 3)

    Lubricant Specifications 

    Position Type
    • Threads
    • Washer
    Engine Oil

    NOTICE: 

    • Install the main bearing caps aligning the arrows (b) with the direction to the cam chain case. (Figure 4)
    • When loosely tightening the bearing cap bolts, do not sit the bolts on the main bearing caps. (Figure 5)

    Figure 6 

    GHH652589Courtesy of HONDA, U.S.A., INC.

    5. Lightly tap the main bearing caps with a plastic mallet until the main bearing caps sit on the engine block. (Figure 6)

    Figure 7 

    Fig 2: Crankshaft Tightening Sequence
    GHH652590Courtesy of HONDA, U.S.A., INC.

    Figure 8 

    GHH652591Courtesy of HONDA, U.S.A., INC.

    6. Tighten the bolts, in sequence. (Figure 7)

    Tightening Procedure (Figure 7 and 8) 

    Step Operation Object Specification
    1 Hand Tighten All Bolts The bolts until they sit on the main bearing cap
    2 Temporarily Tighten All Bolts 30 N.m (22 lbf.ft)
    3 Angle Tighten All Bolts c 40 deg.

    7. Adjust the connecting rod bearing - Refer to: Connecting Rod Bearing Adjustment (2.0L Engine) (2024 2025) or Connecting Rod Bearing Adjustment (1.5L Engine) (if necessary).

    Figure 9 

    GHH652592Courtesy of HONDA, U.S.A., INC.

    8. Measure the diameter of each connecting rod bolt.

    9. Calculate the difference in diameter between point (d) and point (e). (Figure 9)

    Conditions (Figure 9) 

    Position
    d 30 mm (1.18 in)
    e 15 mm (0.59 in)

    Specifications (Figure 9) 

    Service Limit
    Outer diameter of the bolt (Difference in diameter) 0-0.05 mm (0-0.0020 in)
    NOTE:

    If the difference in diameter is out of specification, replace the connecting rod bolt.

    Figure 10 

    GHH652593Courtesy of HONDA, U.S.A., INC.

    Figure 11 

    GHH652594Courtesy of HONDA, U.S.A., INC.

    10. Install the connecting rod cap. Line up the mark (f) on the connecting rod and the connecting rod cap. (Figure 10)

    Lubricant Specifications 

    Position Type
    • Threads
    • Flange
    Engine Oil

    Tightening Procedure (Figure 11) 

    Step Operation Specification
    1 Hand Tighten The bolts until they sit on the connecting rod cap
    2 Temporarily Tighten 13 N.m (10 lbf.ft)
    3 Angle Tighten g 90 deg.

    NOTICE: 

    Remove the connecting rod bolt if you tightened it beyond the specified angle, and go back to step 7 of the tightening procedure. Do not loosen it back to the specified angle.

    11. Inspect the connecting rod and crankshaft end play - Refer to: Piston, Ring, Pin, and Connecting Rod Inspection (2.0L Engine) (2024 2025) or Piston, Ring, Pin, and Connecting Rod Inspection (1.5L Engine) or Connecting Rod and Crankshaft End Play Inspection (1.5L Engine) or Connecting Rod and Crankshaft End Play Inspection (2.0L Engine) (2024 2025) . (if necessary)

    After Installation 

  4. D.-

    Key Information 

    Do the following before starting your work.

    Remove: 

    Sub-Procedure 

    ■ Removal 

    NOTICE: 

    Be careful not to damage the crankshaft and the oil seal case.

    Figure 1 

    GHH652595Courtesy of HONDA, U.S.A., INC.

    Figure 2 

    GHH652596Courtesy of HONDA, U.S.A., INC.

    ■ Installation 

    1. Clean and dry the oil seal case.

    Lubricant Specifications (Figure 1) 

    Position Type
    a Engine Oil

    Specifications (Figure 2) 

    Standard Value
    b 0.75-1.25 mm (0.0295-0.0492 in)

    2. Clean the excess oil off the crankshaft, and check that the oil seal lip is not distorted.

  5. E.-

    Key Information 

    Do the following before starting your work.

    Remove: 

    Sub-Procedure 

    GHH652597Courtesy of HONDA, U.S.A., INC.

    ■ Installation 

    • Remove all of the old gasket from the mating surfaces of each part and clean it.

    Lubricant Specifications 

    Position Type Detail
    a Liquid Gasket (P/N 08718-0003, 08718-0004, or 08718- 0009) b 2.5 mm (0.098 in)

    Lubricant Specifications 

    Position Type
    The lip of the oil seal Engine Oil

    NOTICE: 

    • Install the component within 4 minutes of applying the liquid gasket.
    • If too much time has passed after applying the liquid gasket, remove the old liquid gasket and residue, then reapply new liquid gasket.
    • Wait at least 30 minutes before filling the engine with oil.
    • Do not run the engine for at least 3 hours after installing the parts.
  6. F.-

    Preconditions 

    Key Information 

    Do the following before starting your work.

    Remove: 

    ■ Installation 

    Lubricant Specifications 

    Object Type Specified Amount
    Pump Rotor Chamber Engine Oil 5 mL (1/6 fl oz, 0.18 Imp oz)

    After Installation 

  7. G.-
    GHH652598Courtesy of HONDA, U.S.A., INC.

    Key Information 

    Do the following before starting your work.

    Remove: 

    Sub-Procedure 

    ■ Installation 

    NOTICE: 

    Make sure the direction of the sensor connector (a) as shown.

    Installation Directions 

    Position Direction
    b Up
  8. H.-

    Key Information 

    Do the following before starting your work.

    Remove: 

    Sub-Procedure 

    ■ Installation 

    Lubricant Specifications 

    Object Type
    O-Ring Engine Oil

    After Installation 

  9. I.-

    Sub-Procedure 

    NOTICE: 

    Keep all removed parts in order, and install them of the original position when installing.

    Figure 1 

    GHH652599Courtesy of HONDA, U.S.A., INC.

    ■ Removal 

    • Refer to the figure 1.

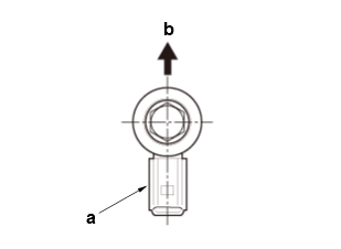
    Tool Details (Figure 1) 

    Name
    a Ring Expander (Commercially Available)

    Figure 2 

    GHH652600Courtesy of HONDA, U.S.A., INC.

    ■ Installation 

    1. Clean all ring grooves thoroughly with a squared-off broken ring or a ring groove cleaner with a blade to fit the piston grooves. File down a blade if necessary. Do not use a wire brush to clean the ring grooves, or cut the ring grooves deeper with the cleaning tools.

    2. If necessary, inspect the piston ring end gap - Refer to: Block and Piston Inspection (1.5L Engine) or Piston, Ring, Pin, and Connecting Rod Inspection (2.0L Engine) (2024 2025) or Piston, Ring, Pin, and Connecting Rod Inspection (1.5L Engine) or Block and Piston Inspection (2.0L Engine) (2024 2025)

    .

    NOTE:

    If the piston is to be separated from the connecting rod, do not install new rings yet.

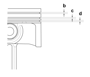
    Specifications (Figure 2) 

    Specification
    b 1.2 mm (0.047 in)
    c 1.0 mm (0.039 in)
    d 2.0 mm (0.079 in)

    Figure 3 

    GHH652601Courtesy of HONDA, U.S.A., INC.

    Figure 4 

    GHH652602Courtesy of HONDA, U.S.A., INC.

    Figure 5 

    GHH652603Courtesy of HONDA, U.S.A., INC.

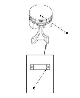
    3. The manufacturing marks (e)/(f) must be facing upward. (Figure 3)

    Specifications (Figure 3) 

    Position Mark
    e 1RF
    f 2RF

    Specifications (Figure 4) 

    Object Specification
    Top Ring g 2.3 mm (0.091 in)
    h 1.2 mm (0.047 in)
    Second Ring g 2.3 mm (0.091 in)
    h 1.0 mm (0.039 in)

    Lubricant Specifications 

    Position Type
    Piston Rings Engine Oil

    4. Rotate the rings in their grooves to make sure they do not bind.

    5. Position the ring end gaps as shown. (Figure 5)

    Specifications (Figure 5) 

    Position Object
    i Oil Ring Gap
    k Second Ring Gap
    m Oil Ring Gap
    n Top Ring Gap and Spacer Ring Gap
    o Piston Pin

    Specifications (Figure 5) 

    Specification
    p About 90 deg.
    q About 45 deg.

    After Installation 

  10. J.-

    Sub-Procedure 

    NOTICE: 

    Keep all removed parts in order, and install them of the original position when installing.

    Figure 1 

    GHH652604Courtesy of HONDA, U.S.A., INC.

    Figure 2 

    GHH652605Courtesy of HONDA, U.S.A., INC.

    ■ Removal 

    1. Remove the snap rings.

    Lubricant Specifications (Figure 1) 

    Position Type
    a Engine Oil

    -1. Turn them in the ring grooves until the end gaps are lined up with the cutouts in the piston pin bores (b). (Figure 1)

    NOTICE: 

    Take care not to damage the ring grooves.

    -2. Remove the snap rings from both sides of each piston. Start at the cutout in the piston pin bore. Remove the snap rings carefully so they do not go flying or get lost. Wear goggles or safety glasses to prevent eye injury. (Figure 2)

    Figure 3 

    GHH652606Courtesy of HONDA, U.S.A., INC.

    2. Remove the piston pin. (Figure 3)

    • Heat the piston/rod assembly to about 158 deg.F (70 deg.C).

    3. If necessary, do the following inspection.

    Figure 4 

    GHH652607Courtesy of HONDA, U.S.A., INC.

    Figure 5 

    GHH652608Courtesy of HONDA, U.S.A., INC.

    Figure 6 

    GHH652609Courtesy of HONDA, U.S.A., INC.

    Figure 7 

    GHH652610Courtesy of HONDA, U.S.A., INC.

    ■ Installation 

    1. Install the snap ring. (only on one side) (Figure 4)

    2. Install the piston pin.

    • Heat the piston to about 158 deg.F (70 deg.C). (Figure 5)
    • Align the arrow (c) with the groove (d) direction on the connecting rod as shown. (Figure 6)

    Lubricant Specifications (Figure 7) 

    Position Type
    e Engine Oil
    f
    g

    3. Install the remaining snap ring.

    • Turn the snap rings in the ring grooves until the end gaps are positioned at the bottom of the piston.
  11. K.-

    Sub-Procedure 

    NOTICE: 

    Be careful not to damage the CKP pulse plate.

    GHH652611Courtesy of HONDA, U.S.A., INC.

    ■ Installation 

    • Position the mark (a) facing it outside and align the portion (b) on the CKP pulse plate and groove (c) on the crankshaft.

    Lubricant Specifications 

    Position Type
    • Bolt Threads
    • Bolt Flange
    Engine Oil

    After Installation