LEMON Manuals: Even more car manuals for everyone: 1960-2025
Home >> Acura >> 2023 >> Integra Base, Standard Trans >> Repair and Diagnosis (Single Page) >> Electrical >> Component Locations >> Electrical Component Locator And Service Information : Front Seat Area - Driver's >> Exploded View >> Front Seat Area - Driver's >> Repair Procedure
April 5, 2026: LEMON Manuals is launched! Read the announcement.

Repair Procedure

How to use this service information .

WARNING: 

GHH654788Courtesy of HONDA, U.S.A., INC.

: Torque, N.m (lbf.ft)

: Replace

: Warning/Caution

: Inspection/Adjustment

*: Learning

: SPL Tool

: Required Removal

*1: Remove the bolt with a TORX Plus socket, 50 IP.

GHH654789Courtesy of HONDA, U.S.A., INC.

: Torque, N.m (lbf.ft)

: Replace

: Warning/Caution

: Inspection/Adjustment

*: Learning

: SPL Tool

: Required Removal

*1: Without power lumbar support*2: With power lumbar support

GHH654790Courtesy of HONDA, U.S.A., INC.

: Torque, N.m (lbf.ft)

: Replace

: Warning/Caution

: Inspection/Adjustment

*: Learning

: SPL Tool

: Required Removal

*1: With seat heater.

  1. A.-
    GHH654791Courtesy of HONDA, U.S.A., INC.
  2. B.-

    Sub-Procedure 

    GHH654792Courtesy of HONDA, U.S.A., INC.

    Removal 

    • Refer to the figure.
  3. C.-

    Sub-Procedure 

    GHH654793Courtesy of HONDA, U.S.A., INC.

    Removal 

    • Refer to the figure.
  4. D.-

    WARNING: 

    Preconditions 

    Key Information 

    Do the following before starting your work.

    Move: 

    • Driver's seat cushion (full tilt up position)

    Sub-Procedure 

    Figure 1 

    GHH654794Courtesy of HONDA, U.S.A., INC.

    Removal 

    How to access the driver's seat mounting bolts for the case of the seat slide motor malfunction. 

    NOTE:  If the seat slide motor malfunction, replace the seat cushion frame assembly.

    1. Remove the outer recline cover (a) as needed. (Figure 1)2. Disconnect the connectors (b). (Figure 1)3. Remove the harness clips (c). (Figure 1)4. Remove the hooks (d). (Figure 1)

    Figure 2 

    GHH654795Courtesy of HONDA, U.S.A., INC.

    5. Remove the seat cushion cover/pad (e) and the cushion spring (f) as needed. (Figure 2)

    Figure 3 

    GHH654796Courtesy of HONDA, U.S.A., INC.

    6. Remove the harness clips (g). (Figure 3)

    Figure 4 

    GHH654797Courtesy of HONDA, U.S.A., INC.

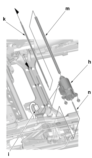
    7. Remove the slide motor (h). (Figure 4)8. Disconnect the connector (i). (Figure 4)9. Remove the long flex cable (k), and then remove the tube (m). (Figure 4)10. Remove the short flex cable (n). (Figure 4)

    Figure 5 (Inboard rail) 

    GHH654798Courtesy of HONDA, U.S.A., INC.

    Figure 6 (Outboard rail) 

    GHH654799Courtesy of HONDA, U.S.A., INC.

    11. Connect the one side of the slide motor cable (o) to the drill (p), and the other side of the cable to the transmission hole (q). (Figure 5 and 6)12. Operate the drill to the slide rail, alternating between the inboard and the outboard rails to directions needed for each rail. (Figure 5 and 6)

    Function (Inboard rail) (Figure 5) 

    Drill RotatingDirection Seat Moving Direction
    Clockwise r Forward
    Counterclockwise s Backward

    Function (Outboard rail) (Figure 6) 

    Drill RotatingDirection Seat Moving Direction
    Counterclockwise t Forward
    Clockwise u Backward

    13. Remove the driver's seat mounting bolts.

    GHH654800Courtesy of HONDA, U.S.A., INC.

    Installation 

    • Tighten the bolts by hand first, then tighten them to specifications.

    Tightening Procedure 

    Step Operation Object Specification
    1 Hand Tighten All bolts -> -> ->
    2 Tighten All bolts -> -> ->

    After Installation 

  5. E.-

    Sub-Procedure 

    Figure 1 

    GHH654801Courtesy of HONDA, U.S.A., INC.

    Removal 

    1. Turn over the seat-back cover (a). (Figure 1)2. Remove the hooks (b). (Figure 1)

    Figure 2 

    GHH654802Courtesy of HONDA, U.S.A., INC.

    3. Refer to figure 2.

  6. F.-
    GHH654803Courtesy of HONDA, U.S.A., INC.
  7. G.-

    WARNING: 

    NOTICE: 

    If you are replacing the side airbag after a deployment, refer to Component Replacement/Inspection After Deployment - Refer to: Airbag and Tensioner Disposal or SRS Component Replacement/Inspection After Deployment for confirming a complete list of other parts that must also be replaced.

    NOTE:  When troubleshooting, do not remove the driver's seat. Disconnect only the side airbag inflator connector from under the driver's seat.

    Preconditions 

    Sub-Procedure 

    Removal 

    1. Remove the harness clips (a) and the connector clip (b). (Figure 1)

    Figure 1 

    GHH654804Courtesy of HONDA, U.S.A., INC.

    2. Remove the harness clips (c). (Figure 2)

    Figure 2 

    GHH654805Courtesy of HONDA, U.S.A., INC.

    3. Take out the side airbag (d) from the inside of the seat back pad. (Figure 3)

    Figure 3 

    GHH654806Courtesy of HONDA, U.S.A., INC.

    4. Remove the side airbag (d). (Figure 4)

    Figure 4 

    GHH654807Courtesy of HONDA, U.S.A., INC.

    Installation 

    NOTICE: 

    • Make sure that the seat-back cover/pad is installed properly. Improper installation may prevent proper deployment.
    • Be sure to install the harness so that they are not pinched or interfering with other parts.
    • Do not install the side airbag while it is in a plastic bag.

    After Installation 

    1. 12 Volt Battery Negative Terminal Reconnect 2. Seat Operation Confirm

    • Move the driver's seat and the seat-back through their full ranges of movement, making sure the harnesses are not pinched or interfering with other parts.

    3. SRS Operation Confirm

    • Turn the vehicle to the ON mode, and check that the SRS indicator comes on for about 6 seconds and then goes off.
  8. H.-

    Precondition 

    Sub-Procedure 

    Removal 

    1. Remove the harness clips (a). (Figure 1)

    Figure 1 

    GHH654808Courtesy of HONDA, U.S.A., INC.

    2. Remove the clip (b) of the reinforcing cloth. (Figure 2)

    Figure 2 

    GHH654809Courtesy of HONDA, U.S.A., INC.
  9. I.-

    Sub-Procedure 

    Figure 1 

    GHH654810Courtesy of HONDA, U.S.A., INC.

    Removal 

    1. Remove the hooks (a). (Figure 1)

    Figure 2 (With Seat Heater) 

    GHH654811Courtesy of HONDA, U.S.A., INC.

    2. Remove the harness clip(s) (b) and the connector clip (c). (Figure 2)

  10. J.-

    Sub-Procedure 

    Removal 

    • Refer to the figure.
    GHH654812Courtesy of HONDA, U.S.A., INC.
  11. K.-
    GHH654813Courtesy of HONDA, U.S.A., INC.
  12. L.-

    Sub-Procedure 

    Removal 

    • Refer to figure 1.

    Figure 1 

    GHH654814Courtesy of HONDA, U.S.A., INC.

    Installation 

    • Refer to figure 2.

      NOTE:  Apply the multipurpose grease after tightening the nut.

    Lubricant Specifications (Figure 2) 

    Position Type
    a Multipurpose grease

    Figure 2 

    GHH654815Courtesy of HONDA, U.S.A., INC.
  13. M.-

    WARNING: 

    NOTICE: 

    Do not turn the vehicle to the ON mode, while removing or installing the driver's seat position sensor.

    Sub-Procedure 

    Installation 

    NOTICE: 

    Be sure to install the harness so it is not pinched or interferes with other parts.

    After Installation 

  14. N.-

    Sub-Procedure 

    Figure 1 

    GHH654816Courtesy of HONDA, U.S.A., INC.

    Removal 

    • Remove the upholstery rings (a), then remove the driver's seat cushion cover (b). (Figure 1)

    Figure 2 

    GHH654817Courtesy of HONDA, U.S.A., INC.

    Installation 

    • Refer to figure 2.

      NOTE:  Replace all of the upholstery rings (c) with new ones, and fasten the driver's seat cushion cover to the wires using pliers (d). (Figure 2)

    Tool Details (Figure 2) 

    Name
    d Pliers (Commercially Available)
  15. O.-

    Sub-Procedure 

    Removal 

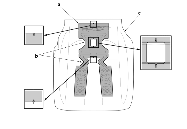
    NOTE:  The driver's seat cushion heater is glued to the driver's seat cushion pad. When removing it, take care not to damage the driver's seat cushion pad. (Figure 1 and 2)

    Installation 

    • Attach the driver's seat cushion heater (a) to the reference position.

      NOTE:  Once the driver's seat cushion heater is in place on the driver's seat cushion, tuck the bridge folds (b) of the driver's seat cushion heater evenly into the grooves of the driver's seat cushion pad (c).

    GHH654818Courtesy of HONDA, U.S.A., INC.
  16. P.-
    GHH654819Courtesy of HONDA, U.S.A., INC.
  17. Q.-

    Sub-Procedure 

    Removal 

    • Refer to the figure.
    GHH654820Courtesy of HONDA, U.S.A., INC.
  18. R.-

    Sub-Procedure 

    GHH654821Courtesy of HONDA, U.S.A., INC.

    Removal 

    • Refer to the figure.