LEMON Manuals: Even more car manuals for everyone: 1960-2025
Home >> Acura >> 2023 >> Integra Base, Standard Trans >> Repair and Diagnosis (Single Page) >> General Information >> OEM General Information >> Electrical Component Locator And Service Information : Intake Manifold Area(1.5L Engine) >> Exploded View >> Intake Manifold Area (1.5L Engine) >> Repair Procedure
April 5, 2026: LEMON Manuals is launched! Read the announcement.

Repair Procedure

How to use this service information .

GHH655596Courtesy of HONDA, U.S.A., INC.

: Torque, N.m (lbf.ft)

: Replace

: Warning/Caution

: Inspection/Adjustment

*: Learning

: SPL Tool

: Required Removal

GHH655597Courtesy of HONDA, U.S.A., INC.

: Torque, N.m (lbf.ft)

: Replace

: Warning/Caution

: Inspection/Adjustment

*: Learning

: SPL Tool

: Required Removal

GHH655598Courtesy of HONDA, U.S.A., INC.

: Torque, N.m (lbf.ft)

: Replace

: Warning/Caution

: Inspection/Adjustment

*: Learning

: SPL Tool

: Required Removal

  1. A.-
    WARNING:

    Do not insert your fingers into the installed throttle body when you turn the vehicle to the ON mode, or while the vehicle is in ON mode. If you do, you will seriously injure your fingers if the throttle valve is activated.

    Preconditions 

    Key Information 

    Do the following before starting your work.

    Remove: 

    Sub-Procedure 

    ■ Removal 

    NOTE:
    • If you are replacing the throttle body, do all of the procedures.
    • If you are removing the throttle body, start from step 5.

    1. Only for replacing Throttle Body: Clear the throttle position (TP) learned value.

    • Select the following menu buttons on the HDS screen in sequence.
      • PGM-FI (System Selection Menu)
      • Function Test
      • ETCS (TAC) TEST
      • TP POSITION CHECK

    2. Turn the vehicle to the OFF (LOCK) mode.

    3. Turn the vehicle to the ON mode, and wait 2 seconds without pressing the accelerator pedal.

    4. Turn the vehicle to the OFF (LOCK) mode.

    5. Remove the throttle body.

    NOTE:

    Plug the water bypass hoses.

    ■ Installation 

    Tightening Procedure 

    Step Operation Object Detail
    1 Temporarily Tighten All Bolts Until the bolts are seated on the throttle body
    2 Temporarily Tighten All Bolts Until the gasket is compressed
    3 Tighten All Bolts -> -> ->
    GHH655599Courtesy of HONDA, U.S.A., INC.

    After Installation 

  2. B.-

    Sub-Procedure 

    ■ Installation 

    Lubricant Specifications 

    Object Type
    O-Ring Engine Oil
  3. C.-
    WARNING:

    Flammable - Keep Fire Away

    NOTICE: 

    Preconditions 

    After Installation 

  4. D.-

    NOTICE: 

    Refer to the Fuel Line/Quick-Connect Fitting Precautions - Refer to: Fuel Line/Quick-Connect Fitting Precautions (1.5L Engine) or Fuel Line/Quick-Connect Fitting Precautions (2.0L Engine) (2024 2025) before doing the procedure.

  5. E.-

    NOTICE: 

    Refer to the Fuel and Emissions Systems Service Precautions before doing the procedure.

  6. F.-
    NOTE:

    When removing the throttle body, it is not necessary to disconnect the water bypass hoses from the throttle body.

    Key Information 

    NOTE:

    For the removal and installation procedure, refer to Intake Manifold Removal and Installation - Refer to: Intake Manifold Removal and Installation (2.0L Engine) (2024 2025) or Intake Manifold Removal and Installation (1.5L Engine) and the sub-procedure below.

    Sub-Procedure 

    ■ Installation 

    Tightening Procedure 

    Step Operation Object Detail
    1 Temporary Tighten All Bolts and Nuts Until the bolts and nuts are seated on the intake manifold
    2 Temporary Tighten All Bolts and Nuts Until the gasket is compressed
    3 Tighten All Bolts and Nuts -> -> -> ->
    GHH655600Courtesy of HONDA, U.S.A., INC.
  7. G.-
    WARNING:

    Flammable - Keep Fire Away

    NOTICE: 

    Preconditions 

    Key Information 

    NOTE:

    For the removal and installation procedure, refer to Injector Removal and Installation - Refer to: Injector Removal and Installation (2.0L Engine) (2024 2025) or Injector Learn Procedure (2.0L Engine) (2024 2025) or Injector Removal and Installation (1.5L Engine) and the sub-procedure below.

    Sub-Procedure 

    NOTICE: 

    • When replacing the injector, you must replace all injectors as an assembly and the fuel joint pipe. Failure to do so will cause poor engine performance and fuel leaks.
    • If you reuse the injector after removal, note the cylinder number and install it to the same cylinder.

    ■ Removal 

    1. Carefully remove the fuel rail with the injectors straight from the cylinder head.

    NOTICE:  If the injector remains on the cylinder head, carefully remove the injector straight from the cylinder head.

    2. Carefully remove the seal (a) from the injector. (Figure 1)

    Figure 1 

    GHH655601Courtesy of HONDA, U.S.A., INC.

    ■ Installation 

    NOTICE: 

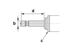
    • Do not wipe off the tip area (b) of the injector as it may be damaged. (Figure 2)
    • If the tip of the injector is dirty or clogged, it must be replaced. The tip of the injector cannot be cleaned.
    • Be sure to protect the injector from dust or debris.

    1. Use compressed air to insure that there are no dust or debris around the ring (c). (Figure 2)

    Figure 2 

    GHH655602Courtesy of HONDA, U.S.A., INC.

    2. With a paper towel, carefully wipe off any carbon from the area (d) shown. (Figure 2)

    3. Install the seal guide (e) over the tip of the injector (f) as shown. (Figure 3)

    Figure 3 

    GHH655603Courtesy of HONDA, U.S.A., INC.

    4. Slide the new seal (g) on the seal guide as shown. (Figure 4)

    Figure 4 

    GHH655604Courtesy of HONDA, U.S.A., INC.

    5. Slide the seal installer (h) onto the seal guide, then quickly push the seal down to the groove (i) of the injector. (Figure 5)

    Figure 5 

    GHH655605Courtesy of HONDA, U.S.A., INC.

    6. Remove the seal guide and the seal installer from the injector.

    7. Joint the sizing tools (k), then slide them as a set onto the seal (m) until tools touch to the injector stepped surface (n) as shown, and hold the tools to reform the seal for 30 seconds or more. (Figure 6)

    Figure 6 

    GHH655606Courtesy of HONDA, U.S.A., INC.

    8. Remove the sizing tool, and check that the seal (o) is installed correctly. (Figure 7)

    NOTICE:  When cleaning the sizing tool and the seal guide, be careful not to scratch the sizing tool bore or the surface of the seal guide.

    Figure 7 

    GHH655607Courtesy of HONDA, U.S.A., INC.

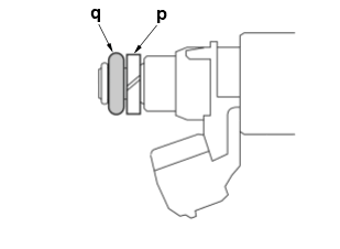
    9. Make sure that the back-up ring (p) is not deformed. (Figure 8)

    Lubricant Specifications (Figure 8) 

    Position Type
    q Engine Oil

    Figure 8 

    GHH655608Courtesy of HONDA, U.S.A., INC.

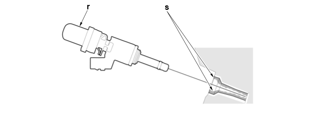
    10. Carefully install the fuel rail (r) with the injectors into the cylinder head straight and equal. (Figure 9)

    NOTICE:  Protect the tip of the injector from dust or debris.

    Lubricant Specifications (Figure 9) 

    Position Type
    s Engine Oil

    Figure 9 

    GHH655609Courtesy of HONDA, U.S.A., INC.

    Tightening Procedure 

    Step Operation Object Detail
    1 Temporary Tighten All Nuts Alternately, until the fuel rail sits on the cylinder head
    2 Tighten All Bolts and Nuts Specified Torque

    After Installation