LEMON Manuals: Even more car manuals for everyone: 1960-2025
Home >> Acura >> 2023 >> Integra Base, Standard Trans >> Repair and Diagnosis (Single Page) >> Quick Lookups >> Electrical Component Locations >> Electrical Component Locator And Service Information : Exhaust Pipe/Muffler Area(1.5L Engine) >> Exploded View >> Exhaust Pipe/Muffler Area (1.5L Engine) >> Repair Procedure
April 5, 2026: LEMON Manuals is launched! Read the announcement.

Repair Procedure

How to use this service information .

GHH654552Courtesy of HONDA, U.S.A., INC.

: Torque, N.m (lbf.ft)

: Replace

: Warning/Caution

: Inspection/Adjustment

*: Learning

: SPL Tool

: Required Removal

*1: M/T

*2: CVT

GHH654553Courtesy of HONDA, U.S.A., INC.

: Torque, N.m (lbf.ft)

: Replace

: Warning/Caution

: Inspection/Adjustment

*: Learning

: SPL Tool

: Required Removal

  1. A.-

    Figure 1 

    GHH654554Courtesy of HONDA, U.S.A., INC.

    Key Information 

    Do the following before starting your work.

    Remove: 

    Sub-Procedure 

    ■ Removal/Installation 

    NOTICE:  Do not bend the flex tube (a) of exhaust pipe A excessively. (Figure 1)

    Figure 2 

    GHH654555Courtesy of HONDA, U.S.A., INC.

    ■ Installation 

    • When replacing exhaust pipe A, remove the protector (b) from the new exhaust pipe A after installation. (Figure 2)
  2. B.-

    Sub-Procedure 

    ■ Installation 

    • Refer to the figure.

    Installation Directions 

    Position Direction
    a Up
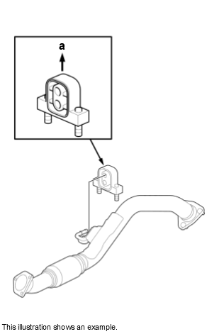
    GHH654556Courtesy of HONDA, U.S.A., INC.
  3. C.-

    Sub-Procedure 

    GHH654557Courtesy of HONDA, U.S.A., INC.

    ■ Installation 

    • Refer to the figure.

    Installation Directions 

    Position Direction
    a Up
  4. D.-

    Sub-Procedure 

    ■ Installation 

    • Installing the fuel tank heat baffle in the following procedure.

    Installation Directions 

    Position Direction
    a Front

    Tightening Procedure 

    Step Operation Object Detail
    1 Temporarily Tighten -
    2 Tighten All Bolts -> -> ->
    GHH654558Courtesy of HONDA, U.S.A., INC.
  5. E.-

    Sub-Procedure 

    GHH654559Courtesy of HONDA, U.S.A., INC.

    ■ Installation 

    • Refer to the figure.

    Installation Directions 

    Position Direction
    a Up