LEMON Manuals: Even more car manuals for everyone: 1960-2025
Home >> Acura >> 2023 >> Integra Base, Standard Trans >> Repair and Diagnosis (Single Page) >> Quick Lookups >> Electrical Component Locations >> Electrical Component Locator And Service Information : HVAC Unit Area >> Exploded View >> HVAC Unit Area >> Repair Procedure
April 5, 2026: LEMON Manuals is launched! Read the announcement.

Repair Procedure

How to use this information .

GHH655522Courtesy of HONDA, U.S.A., INC.

: Torque, N.m (lbf.ft)

: Replace

: Warning/Caution

: Inspection/Adjustment

*: Learning

: SPL Tool

: Required Removal

*1: With dual zone climate control

GHH655523Courtesy of HONDA, U.S.A., INC.

: Torque, N.m (lbf.ft)

: Replace

: Warning/Caution

: Inspection/Adjustment

*: Learning

: SPL Tool

: Required Removal

*1: With dual zone climate control *2: Without auto idle stop system *3: With auto idle stop system

  1. A.-

    Key Information 

    Do the following before starting your work.

    Remove: 

    Sub-Procedure 

    GHH655524Courtesy of HONDA, U.S.A., INC.

    Removal 

    • Refer to the Figure.
  2. B.-

    Key Information 

    Do the following before starting your work.

    Remove: 

    Sub-Procedure 

    GHH655525Courtesy of HONDA, U.S.A., INC.

    Removal 

    • Refer to the Figure.
  3. C.-
    GHH655526Courtesy of HONDA, U.S.A., INC.
  4. D.-

    Preconditions 

    • Set the driver's temperature to MAX COOL (Lo).

    Key Information 

    Do the following before starting your work.

    Remove: 

    Sub-Procedure 

    Installation 

    NOTICE: 

    Before installation, make sure the door and linkage move smoothly.

    1. Align the driver's air mix control linkage (a) and mark (b).

    GHH655527Courtesy of HONDA, U.S.A., INC.

    2. Align the driver's air mix control linkage gear (c) and driver's air mix control motor gear (d), then install the motor.

    After Installation 

  5. E.-

    Key Information 

    Do the following before starting your work.

    Remove: 

    Sub-Procedure 

    GHH655528Courtesy of HONDA, U.S.A., INC.

    Removal 

    • Refer to the Figure.
  6. F.-

    Preconditions 

    • Set to the VENT ( ) position.

    Key Information 

    Do the following before starting your work.

    Remove: 

    Sub-Procedure 

    Installation 

    NOTICE: 

    Before installation, make sure the door and linkage move smoothly.

    • Align the mode control linkage (a) and mark (b).
    GHH655529Courtesy of HONDA, U.S.A., INC.

    After Installation 

  7. G.-

    Preconditions 

    • Set the front passenger's temperature to MAX COOL (Lo).

    Key Information 

    Do the following before starting your work.

    Remove: 

    Sub-Procedure 

    Installation 

    NOTICE: 

    Before installation, make sure the door and linkage move smoothly.

    1. Align the passenger's air mix control linkage (a) and mark (b).

    GHH655530Courtesy of HONDA, U.S.A., INC.

    2. Align the passenger's air mix control linkage gear (c) and passenger's air mix control motor gear (d), then install the motor.

    After Installation 

  8. H.-

    Key Information 

    Do the following before starting your work.

    Remove: 

  9. I.-

    Preconditions 

    • Set the driver's and front passenger's temperature to MAX COOL (Lo), FRESH, and VENT ( ) position.

    Key Information 

    Do the following before starting your work.

    Remove: 

  10. J.-

    Preconditions 

    • Set to the FRESH position.

    Key Information 

    Do the following before starting your work.

    Remove: 

    Sub-Procedure 

    Installation 

    NOTICE: 

    Before installation, make sure the door and linkage move smoothly.

    • Align the recirculation control linkage gear (a) and recirculation control motor gear (b), then install the motor.
    GHH655531Courtesy of HONDA, U.S.A., INC.

    After Installation 

  11. K.-

    Key Information 

    Do the following before starting your work.

    Remove: 

    After Installation 

  12. L.-

    Key Information 

    Do the following before starting your work.

    Remove: 

    Sub-Procedure 

    GHH655532Courtesy of HONDA, U.S.A., INC.

    Removal 

    • Refer to the Figure.
  13. M.-

    After Installation 

  14. N.-

    Key Information 

    Do the following before starting your work.

    Remove: 

  15. O.-

    Preconditions 

    Key Information 

    Do the following before starting your work.

    Remove: 

    Disconnect: 

    Sub-Procedure 

    Removal 

    NOTICE: 

    Engine coolant will run out when the hoses are disconnected; drain it into a clean drip pan. Be sure not to let coolant spill on the electrical parts or the painted surfaces. If any coolant spills, rinse it off immediately.

    GHH655533Courtesy of HONDA, U.S.A., INC.

    Installation 

    • Refer to the Figure.

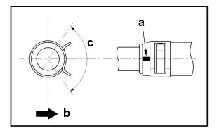
    Heater Hose Installation Directions (Upper and Lower) 

    Position Direction
    a Vehicle Right Side
    b Vehicle Right Side

    Specifications (Upper and lower) 

    Standard Value
    c 110 deg.

    After Installation 

  16. P.-
    GHH655534Courtesy of HONDA, U.S.A., INC.
  17. Q.-

    Preconditions 

    After Installation 

  18. R.-

    Key Information 

    Do the following before starting your work.

    Remove: 

    Sub-Procedure 

    Removal 

    • Refer to the Figure.
    GHH655535Courtesy of HONDA, U.S.A., INC.
  19. S.-

    Sub-Procedure 

    Removal 

    • Refer to the Figure.
    GHH655536Courtesy of HONDA, U.S.A., INC.
  20. T.-

    Preconditions 

    Key Information 

    Do the following before starting your work.

    Remove: 

    After Installation 

  21. U.-

    Sub-Procedure 

    Without Auto Idle Stop System (Figure 1) 

    GHH655537Courtesy of HONDA, U.S.A., INC.

    With Auto Idle Stop System (Figure 2) 

    GHH655538Courtesy of HONDA, U.S.A., INC.

    Installation 

    • Install the evaporator temperature sensor (a) in the evaporator core (b). Refer to the following position list. (Figure 1 and 2)

    Specifications (Without Auto Idle Stop System: Factory-Preset Position) (Figure 1) 

    Standard Value
    c 9th (Row)
    d 50 mm (1.97 in)

    Specifications (Without Auto Idle Stop System: New Position) (Figure 1) 

    Standard Value
    c 10th (Row)
    d 50 mm (1.97 in)

    Specifications (With Auto Idle Stop System: Factory-Preset Position) (Figure 2) 

    Standard Value
    e 8th (Row)
    f 25 mm (0.98 in)

    Specifications (With Auto Idle Stop System: New Position) (Figure 2) 

    Standard Value
    e 8th (Row)
    f 15 mm (0.59 in)