LEMON Manuals: Even more car manuals for everyone: 1960-2025
Home >> Acura >> 2023 >> Integra Base, Standard Trans >> Repair and Diagnosis (Single Page) >> Quick Lookups >> Electrical Component Locations >> Electrical Component Locator And Service Information : Windshield Wiper Area >> Exploded View >> Windshield Wiper Area >> Repair Procedure
April 5, 2026: LEMON Manuals is launched! Read the announcement.

Repair Procedure

How to use this service information .

GHH657570Courtesy of HONDA, U.S.A., INC.

: Torque, N.m (lbf.ft)

: Replace

: Warning/Caution

: Inspection/Adjustment

*: Learning

: SPL Tool

: Required Removal

*1: Part(s) are shown for one side only as the procedure is the same for both sides.

GHH657571Courtesy of HONDA, U.S.A., INC.

: Torque, N.m (lbf.ft)

: Replace

: Warning/Caution

: Inspection/Adjustment

*: Learning

: SPL Tool

: Required Removal

  1. A.-

    Sub-Procedure 

    GHH657572Courtesy of HONDA, U.S.A., INC.

    ■ Removal 

    1. Turn the vehicle to the ON mode.

    2. Turn the vehicle to the OFF mode, then turn and hold the wiper/washer switch to the MIST position within 10 seconds.

    3. Release the wiper/washer switch.

    NOTE:

    The wiper arm stops at the service position.

    4. Lift the wiper arm (a) off the windshield.

    5. Remove the wiper blade assembly (b).

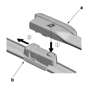
  2. B.-

    Sub-Procedure 

    GHH657573Courtesy of HONDA, U.S.A., INC.

    ■ Removal 

    • Refer to the figure.

    ■ Installation 

    • Turn the vehicle to the ON mode, then turn the wiper switch ON, and then back OFF.
    • Tighten the nut in the vehicle ON mode.

    After Installation 

  3. C.-
    GHH657574Courtesy of HONDA, U.S.A., INC.
  4. D.-

    Sub-Procedure 

    GHH657575Courtesy of HONDA, U.S.A., INC.

    ■ Installation 

    • Align the painted mark (a) of the seal (b) with the notch (c) on the cowl cover, then push the hood rear seal against the cowl cover.
  5. E.-

    Sub-Procedure 

    • Refer to figures 1 and 2.

    Figure 1 

    GHH657576Courtesy of HONDA, U.S.A., INC.

    Figure 2 

    GHH657577Courtesy of HONDA, U.S.A., INC.

    ■ Installation 

    • Refer to figure 3.
    NOTE:
    • Clean the frame surfaces where the EPT sealers (a, b) will be applied with a shop towel dampened with isopropyl alcohol. After cleaning, keep oil, grease, and water from getting on the surface.
    • Make sure the EPT sealers line up with the alignment marks (c). (Figure 3)

    NOTICE: 

    After cleaning, keep oil, grease, and water from getting on the surface.

    Specifications (Figure 3) 

    Standard Value
    d 8 mm (0.31 in)
    e 8 mm (0.31 in)
    f 348 mm (13.70 in)
    g 4 mm (0.16 in)
    h 8 mm (0.31 in)
    i 1384 mm (54.49 in)

    Figure 3 

    GHH657578Courtesy of HONDA, U.S.A., INC.
  6. F.-

    Sub-Procedure 

    ■ Installation 

    1. Refer to the figure.

    Tightening Procedure 

    Step Operation Object Specification
    1 Loosely Tighten -
    2 Tighten Bolts ->
    3 Tighten -
    GHH657579Courtesy of HONDA, U.S.A., INC.

    After Installation 

    • If you replace it with a new windshield wiper control unit/motor, operate the wiper for 100 cycles.
      NOTE:

      When the windshield wiper control unit/motor is replaced with new one, Lip Turn-Over Operation is effective when wiping operates 100 cycles or more after replacing.

    • Windshield Wiper Arm/Nozzle Adjustment
  7. G.-
    GHH657580Courtesy of HONDA, U.S.A., INC.
  8. H.-

    Sub-Procedure 

    ■ Removal 

    • Refer to the figure.
    GHH657581Courtesy of HONDA, U.S.A., INC.

    After Installation 

  9. I.-

    Sub-Procedure 

    ■ Removal 

    • Refer to the figure.
    GHH657582Courtesy of HONDA, U.S.A., INC.

    After Installation