LEMON Manuals: Even more car manuals for everyone: 1960-2025
Home >> Acura >> 2023 >> Integra Base, Standard Trans >> Repair and Diagnosis (Single Page) >> Steering >> Steering Linkage >> Electrical Component Locator And Service Information : Steering Gearbox Components >> Exploded View >> Steering Gearbox Components >> Repair Procedure
April 5, 2026: LEMON Manuals is launched! Read the announcement.

Repair Procedure

How to use this service information .

GHH656508Courtesy of HONDA, U.S.A., INC.

: Torque, N.m (lbf.ft)

: Replace

: Warning/Caution

: Inspection/Adjustment

*: Learning

: SPL Tool

: Required Removal

*1: Part(s) are shown for one side only as the procedure is the same for both sides.

  1. A.-
    NOTE:

    The tie-rod end ball joint boot can be removed without removing the steering gearbox.

    Key Information 

    Do the following before starting your work.

    Remove: 

    Disconnect: 

    Sub-Procedure 

    NOTICE: 

    Do not allow dust, dirt, or other foreign materials to enter the boot.

    ■ Removal 

    NOTICE: 

    When replacing the tie-rod end ball joint boot, remove the tie-rod end.

    Figure 1 

    GHH656509Courtesy of HONDA, U.S.A., INC.

    ■ Installation 

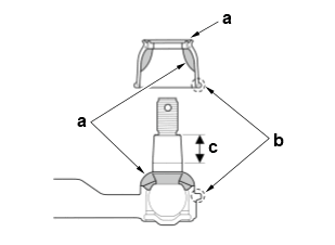
    1. Pack the lower area of the ball pin, the interior of the ball joint boot, and the lip with fresh multipurpose grease.

    Lubricant Specifications (Figure 1) 

    Position Type
    a Service Set Grease

    2. Keep grease off the boot mounting area (b) and the tapered section of the ball pin (c). (Figure 1)

    Figure 2 

    GHH656510Courtesy of HONDA, U.S.A., INC.

    3. Press the boot until the bottom seats on the ball joint housing. (Figure 2)

    Specifications (Figure 2) 

    Specification
    d No Clearance

    After Installation 

    1. If grease contaminates to the tapered section of the ball pin and the screw section, wipe off the grease completely.

    2. Wheel Alignment Check

    3. VSA Sensor Neutral Position Memorization - Refer to: VSA Modulator-Control Unit Update or VSA Sensor Neutral Position Memorization

  2. B.-

    Sub-Procedure 

    NOTICE: 

    Do not allow dust, dirt, or other foreign materials to enter the steering gearbox.

    GHH656511Courtesy of HONDA, U.S.A., INC.

    ■ Installation 

    Lubricant Specifications 

    Position Type
    a Multipurpose Grease
    • Fit the boot ends properly into the grooves.

    After Installation 

    • Wipe the grease off the threaded section of the rack end.
  3. C.-

    Sub-Procedure 

    Figure 1 

    GHH656512Courtesy of HONDA, U.S.A., INC.

    ■ Installation 

    NOTICE: 

    The standard value of the ear clamping width differs depending on the boot identification mark (a). (Figure 1)

    Figure 2 

    GHH656513Courtesy of HONDA, U.S.A., INC.

    Tool Details (Figure 2) 

    Name
    b Pincers 1098 (Oetiker) (Commercially Available) or Equivalent Tool

    Specifications (Figure 2) 

    Position Mark Standard Value
    c T5A or 3W0 3.6 mm (0.142 in) max.
    T5G 1.4 mm (0.055 in) max.

    After Installation 

    • Slide the rack right and left to be certain that the boots are not deformed or twisted.
  4. D.-

    Sub-Procedure 

    NOTICE: 

    • Do not allow dust, dirt, or other foreign materials to enter the steering gearbox.
    • Do not clamp the cylinder part of the gearbox housing in a C-clamp.
    • Be careful not to damage the mounting surface with a C-clamp.
    • Be careful not to damage the rack surface.
    GHH656514Courtesy of HONDA, U.S.A., INC.

    ■ Removal/Installation 

    • Refer to the figure.
      NOTE:

      Hold the right side steering rack flat surfaces with a wrench when unscrewing left side rack end.

    Tool Details 

    Name
    a C-clamp (Commercially Available) or Equivalent Tool
  5. E.-

    Preconditions 

    Sub-Procedure 

    GHH656515Courtesy of HONDA, U.S.A., INC.

    ■ Installation 

    Lubricant Specifications (Figure 2) 

    Position Type
    a Steering Grease or Equivalent
    b Molykote G-1076 Grease or Noxlub TLC 1010 or Equivalent

    After Installation