LEMON Manuals: Even more car manuals for everyone: 1960-2025
Home >> Acura >> 2023 >> MDX Base >> Repair and Diagnosis (Single Page) >> Steering >> Steering Control Systems >> Body Electrical System - Troubleshooting - System Description >> Description & Operation >> Keyless/Power Door Locks/Security System Description - System Diagram
April 5, 2026: LEMON Manuals is launched! Read the announcement.

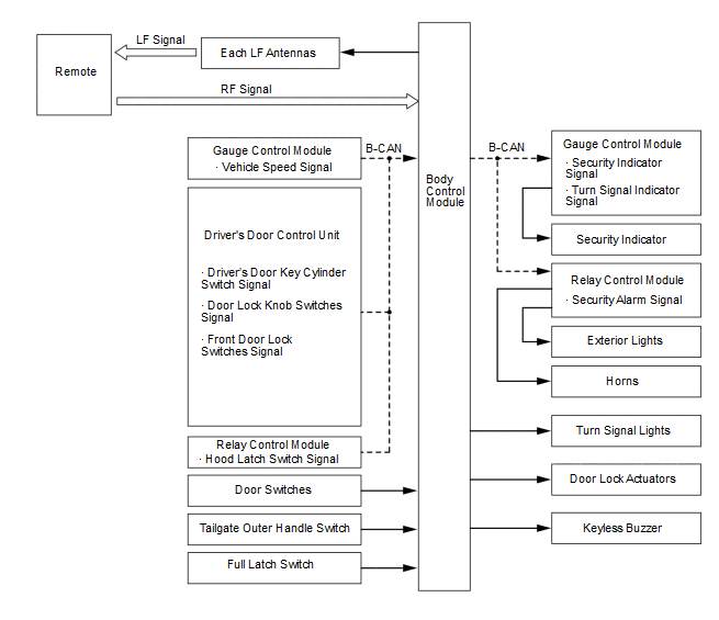
Keyless/Power Door Locks/Security System Description - System Diagram

For locations of each component on vehicle, refer to Component Location Index 

GHH659585Courtesy of HONDA, U.S.A., INC.