LEMON Manuals: Even more car manuals for everyone: 1960-2025
Home >> Acura >> 2023 >> MDX Base >> Repair and Diagnosis (Single Page) >> Transmission >> Transfer Case >> Electrical Component Locator And Service Information : Transfer/Rear Differential Area >> Exploded View >> Transfer/Rear Differential Area >> Repair Procedure
April 5, 2026: LEMON Manuals is launched! Read the announcement.

Repair Procedure

How to use this service information .

NOTICE: 

When working with a vehicle equipped with the electronic air suspension, be sure to set it to the leveling off mode to prevent unexpected operation. Refer to the Electronic Air Suspension System Service Precautions - Refer to: Electronic Air Suspension System Connector Fitting Precautions or Electronic Air Suspension System Service Precautions for the procedure.

GHH666391Courtesy of HONDA, U.S.A., INC.

: Torque, N.m (lbf.ft)

: Replace

: Warning/Caution

: Inspection/Adjustment

*: Learning

: SPL Tool

: Required Removal

*1: Part(s) are shown for one side only as the procedure is the same for both sides.

  1. A.-

    Preconditions 

    Key Information 

    Do the following before starting your work.

    Remove: 

    Disconnect: 

    Sub-Procedure 

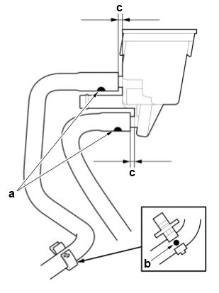
    GHH666392Courtesy of HONDA, U.S.A., INC.

    Removal 

    NOTE:  The bolt (a) cannot be completely removed due to interference with surrounding parts. Leave the bolt in the position shown.

    After Installation 

  2. B.-

    Preconditions 

    Key Information 

    Do the following before starting your work.

    Remove: 

    Sub-Procedure 

    Removal 

    1. Turn the propeller shaft so that the yellow mark (a) is facing down. (Figure 1)

    Figure 1 

    GHH666393Courtesy of HONDA, U.S.A., INC.

    2. Make reference marks (b) across the No. 1 propeller shaft (c) and the companion flange shaft (d), and across the No. 2 propeller shaft (e) and the rear differential companion flange (f). (Figure 1)

    NOTICE:  When replacing the following parts, align the reference marks (b). (Figure 1)

    • Propeller Shaft
    • Rear Differential Assembly
    • Sub Carrier Assembly

    Installation 

    NOTICE: 

    When replacing the following parts, make sure the factory reference yellow marks (g and h) are aligned. (Figure 2)

    • Propeller Shaft
    • Rear Differential Assembly
    • Sub Carrier Assembly

    Figure 2 

    GHH666394Courtesy of HONDA, U.S.A., INC.

    1. Temporarily install all the bolts.

    Specifications (Figure 3) 

    Specification
    i No Clearance

    Installation Directions (Figure 3) 

    Mark Direction
    k Front

    Figure 3 

    GHH666395Courtesy of HONDA, U.S.A., INC.

    2. Tighten the bolts to specifications in the following procedures.

    Tightening Procedure (Figure 3) 

    Step Operation Object Specification
    1 Temporarily Tighten All Bolts -
    2 Tighten All Bolts -> ->

    NOTICE: 

    Make sure the center bearing support (m) is not strained. (Figure 3)

    After Installation 

  3. C.-

    Preconditions 

    Sub-Procedure 

    Figure 1 

    GHH666396Courtesy of HONDA, U.S.A., INC.

    Removal 

    • Refer to figure 1.

    Figure 2 

    GHH666397Courtesy of HONDA, U.S.A., INC.

    Installation 

    Specifications (Figure 2) 

    Standard Value
    a 32 deg. - 38 deg.

    Figure 3 

    GHH666398Courtesy of HONDA, U.S.A., INC.

    Specifications (Figure 3) 

    Standard Value
    b Oil Pump Shaft (Groove)
    c Pump Motor Shaft (Bulge)

    Lubricant Specifications 

    Object Type
    O-Ring Rear Differential Fluid

    Figure 4 

    GHH666399Courtesy of HONDA, U.S.A., INC.
    • Refer to figure 4.

    After Installation 

  4. D.-

    Sub-Procedure 

    GHH666400Courtesy of HONDA, U.S.A., INC.

    Removal/Installation 

    Installation Directions 

    Mark Direction
    a Bottom
    b Up

    Specifications 

    Standard Value
    c 2.0 mm (0.079 in) max.
  5. E.-

    Preconditions 

    After Installation 

  6. F.-

    Preconditions 

    Sub-Procedure 

    NOTICE: 

    Keep sand, dust and debris from entering the rear differential assembly.

    Installation 

    Lubricant Specifications 

    Object Type
    O-Ring Rear Differential Fluid
  7. G.-

    Preconditions 

    Sub-Procedure 

    Installation 

    Lubricant Specifications 

    Object Type
    O-Ring Rear Differential Fluid

    After Installation 

  8. H.-

    Preconditions 

    Key Information 

    Do the following before starting your work.

    Remove: 

    After Installation 

  9. I.-

    Preconditions 

    Key Information 

    Do the following before starting your work.

    Remove: 

    Disconnect: 

    • Propeller Shaft (Rear Differential Side)

    NOTE:  For the removal and installation procedure, refer to Service Precautions .

    Sub-Procedure 

    NOTICE: 

    To support the rear differential assembly, use a jack or other means of support.

    Figure 1 

    GHH666401Courtesy of HONDA, U.S.A., INC.

    Removal 

    1. Support the rear differential assembly (a) with a transmission jack (b). (Figure 1)

    Tool Details (Figure 1) 

    Name
    b Transmission Jack (Commercially Available)

    2. Disconnect the inboard joints (c) while lowering the rear differential assembly. (Figure 1)

    NOTICE: 

    • Be careful not to damage the oil seal or the end of the inboard joint with the pry bar.
    • Do not pull on the driveshaft, or the inboard joint may come apart. Pull the inboard joint straight out to avoid damaging the oil seals.

    Figure 2 

    GHH666402Courtesy of HONDA, U.S.A., INC.

    Installation 

    1. Raise the rear differential assembly (d) to the inboard joints (e) installation position. (Figure 2)

    Figure 3 

    GHH666403Courtesy of HONDA, U.S.A., INC.

    2. Tighten the bolts, in sequence.

    Tightening Procedure (Figure 3) 

    Step Operation Object Specification
    1 Temporarily Tighten All Bolts and Nuts -
    2 Tighten All Bolts and Nuts -> ->

    After Installation 

  10. J.-

    Sub-Procedure 

    Installation 

    • Remove the metal particles from the magnetic surface of the drain plug.
  11. K.-

    Sub-Procedure 

    NOTICE: 

    To support the rear differential assembly, use a jack or other means of support.

    GHH666404Courtesy of HONDA, U.S.A., INC.

    Installation 

    Tightening Procedure 

    Step Operation Object Specification
    1 Temporarily Tighten All Bolts -
    2 Tighten All Bolts ->