LEMON Manuals: Even more car manuals for everyone: 1960-2025
Home >> Acura >> 2023 >> MDX Base >> Repair and Diagnosis (Single Page) >> Transmission >> Transmission Control Systems >> Electrical Component Locator And Service Information : Transmission Area (3.5L Engine) >> Exploded View >> Transmission Area (3.5L Engine) >> Repair Procedure
April 5, 2026: LEMON Manuals is launched! Read the announcement.

Repair Procedure

How to use this service information .

NOTICE: 

Keep all foreign particles out of the transmission.

NOTE:  Unless otherwise indicated, illustrations used in the procedure are for 22-24 models.

22-24 

GHH666466Courtesy of HONDA, U.S.A., INC.

: Torque, N.m (lbf.ft)

: Replace

: Warning/Caution

: Inspection/Adjustment

*: Learning

: SPL Tool

: Required Removal

*1: 2 types

*2: With AWD

*3: Without ATF cooler

*4: With ATF cooler

25 

GHH666467Courtesy of HONDA, U.S.A., INC.

: Torque, N.m (lbf.ft)

: Replace

: Warning/Caution

: Inspection/Adjustment

*: Learning

: SPL Tool

: Required Removal

*1: 2 types

*2: With AWD

*3: Without ATF cooler

*4: With ATF cooler

GHH666468Courtesy of HONDA, U.S.A., INC.

: Torque, N.m (lbf.ft)

: Replace

: Warning/Caution

: Inspection/Adjustment

*: Learning

: SPL Tool

: Required Removal

*1: 2 types

*2: Without AWD

*3: 22-24

*4: 25

GHH666469Courtesy of HONDA, U.S.A., INC.

: Torque, N.m (lbf.ft)

: Replace

: Warning/Caution

: Inspection/Adjustment

*: Learning

: SPL Tool

: Required Removal

*1: 22-24

*2: 25

  1. A.-

    Sub-Procedure 

    Installation 

    Lubricant Specifications 

    Object Type
    O-Ring ATF
  2. B.-

    Sub-Procedure 

    GHH666470Courtesy of HONDA, U.S.A., INC.

    Removal 

    • Refer to the figure.
  3. C.-

    Sub-Procedure 

    GHH666471Courtesy of HONDA, U.S.A., INC.

    Installation 

    Installation Directions 

    Mark Direction
    a b Front
  4. D.-

    Sub-Procedure 

    Installation 

    Lubricant Specifications 

    Object Type
    O-Ring ATF
  5. E.-

    Preconditions 

    Key Information 

    Do the following before starting your work.

    Remove: 

    Sub-Procedure 

    NOTICE: 

    When disconnecting/connecting the hose, do not bend the pipe excessively or it will be damaged or deformed.

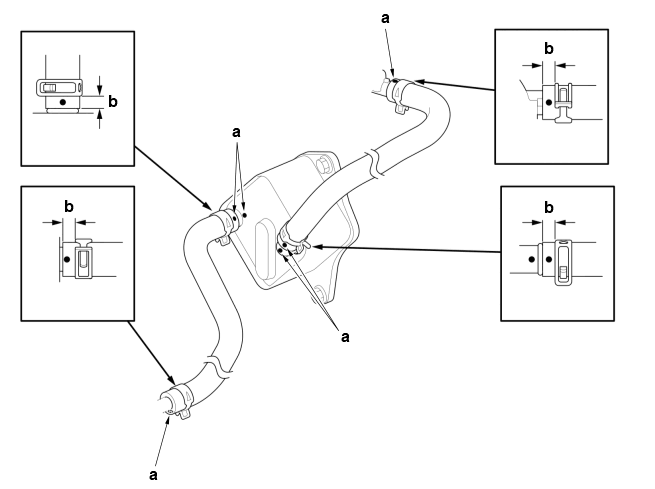
    Installation 

    • Connect the hoses until the hose end contacts the bulge while aligning the paint marks (a) as shown.

    Specifications 

    Standard Value
    b 7.0 mm (0.276 in)
    GHH666472Courtesy of HONDA, U.S.A., INC.

    After Installation 

  6. F.-

    Preconditions 

    Key Information 

    Do the following before starting your work.

    Remove: 

    Sub-Procedure 

    NOTICE: 

    The ATF warmer is an aluminum part. Be careful not to damage the ATF warmer.

    Installation 

    Lubricant Specifications 

    Object Type
    O-Ring ATF

    After Installation 

  7. G.-

    Sub-Procedure 

    Removal 

    • Clean the ATF warmer strainer if necessary. Replace the ATF warmer strainer, if it is clogged or damaged.

      NOTICE: 

      • Do not use compressed air to clean the ATF warmer strainer.
      • Soak the ATF warmer strainer thoroughly in ATF.
    GHH666473Courtesy of HONDA, U.S.A., INC.

    Installation 

    Installation Directions 

    Position Direction
    a Transmission Side

    Lubricant Specifications 

    Object Type
    O-Ring ATF
  8. H.-

    WARNING: 

    Before following the procedure, be sure to observe precautions and eliminate static electricity.

    NOTE: 

    • The TCM and the valve body assembly are not available separately. Replace them as a set.
    • If you are replacing the TCM, the vehicle cannot be turned to the ON mode until the keyless access system registration procedure is complete.

    Key Information 

    Do the following before starting your work.

    Remove: 

    After Installation 

    Procedure After Replacing TCM 

    1. Keyless Access System Registration2. TCM Set Up

    Connect the HDS to the DLC .

    -2. Select the following menu buttons on the HDS screen in sequence.

    NOTE:  If the procedure is unfinished, try to do it again.

    • AT (System Selection Menu)
    • Adjustment
    • TCU Set up
  9. I.-

    Preconditions 

    Key Information 

    Do the following before starting your work.

    Remove: 

    Sub-Procedure 

    Installation 

    • Remove metal particles from the magnetic surface of the drain plug.

    After Installation 

  10. J.-

    Preconditions 

    Key Information 

    Do the following before starting your work.

    Remove: 

    Sub-Procedure 

    GHH666474Courtesy of HONDA, U.S.A., INC.

    Installation 

    Lubricant Specifications 

    Position Type
    a ATF

    Specifications 

    Specification
    b Flush with Housing

    NOTICE: 

    Install the oil seal until the oil seal driver (c) has been fully seated.

    After Installation 

  11. K.-

    Preconditions 

    Key Information 

    Do the following before starting your work.

    Disconnect: 

    Sub-Procedure 

    GHH666475Courtesy of HONDA, U.S.A., INC.

    Installation 

    Lubricant Specifications 

    Position Type
    a ATF

    Specifications 

    Specification
    b Flush with Housing

    NOTICE: 

    Install the oil seal until the oil seal driver (c) has been fully seated.

    After Installation 

  12. L.-

    Key Information 

    Do the following before starting your work.

    Remove: 

    Sub-Procedure 

    GHH666476Courtesy of HONDA, U.S.A., INC.

    Installation 

    Lubricant Specifications 

    Position Type
    a ATF

    Specifications 

    Specification
    b Flush with Housing

    Tool Details 

    Name
    c Spacer (Commercially Available)
  13. M.-

    Preconditions 

    Key Information 

    Do the following before starting your work.

    Remove: 

    Sub-Procedure 

    Installation 

    NOTICE: 

    • Be careful not to pinch the solenoid wire harness.
    • Tighten the bolts in a crisscross pattern in at least two steps.

    After Installation 

  14. N.-

    NOTICE: 

    Do not disassemble the valve body assembly. If any problem occurs, replace the assembly.

    NOTE:  The valve body assembly and the TCM are not available separately. Replace them as a set.

    Preconditions 

    Sub-Procedure 

    Figure 1 

    GHH666477Courtesy of HONDA, U.S.A., INC.

    Removal 

    • Remove the appropriate bolts (a) as shown. (Figure 1)

    Figure 2 

    GHH666478Courtesy of HONDA, U.S.A., INC.

    Installation 

    1. Make sure the control shaft (b) and the two-way clutch (c) are positioned as shown below. (Figure 2)

    Specifications (Figure 2) 

    Condition Position
    Except replacing valve body assembly d Upper side
    Replacing valve body assembly e Lower side

    2. Align the control shaft and the two-way clutch with the valve body assembly.

    After Installation 

  15. O.-

    Preconditions 

    Key Information 

    Do the following before starting your work.

    Remove: 

  16. P.-

    Preconditions 

    Key Information 

    NOTE:  For the removal and installation procedure, refer to Transmission Removal and Installation - Refer to: Automatic Transmission Removal and Installation (3.0L Engine) or Automatic Transmission Removal and Installation (3.5L Engine) and the sub-procedure below.

    Sub-Procedure 

    NOTICE: 

    Use fender covers to avoid damaging painted surfaces.

    Figure 1 

    GHH666479Courtesy of HONDA, U.S.A., INC.

    Removal 

    1. Remove six bolts (a) while rotating the crankshaft pulley. (Figure 1)

    Figure 2 

    GHH666480Courtesy of HONDA, U.S.A., INC.

    2. Check that the transmission is free of hoses and electrical wiring.

    3. Hold the transmission as shown below. (Figure 2)

    Tool Details (Figure 2) 

    Name
    b Transmission Jack (Commercially Available)

    4. Remove the transmission carefully.

    NOTICE: 

    Be careful not to drop the torque converter.

    After Installation 

    1. Keyless Access System Registration (Only for Replacing Transmission or TCM)

    2. TCM Set Up (Only for Replacing Transmission or TCM)

    Connect the HDS to the DLC .

    -2. Select the following menu buttons on the HDS screen in sequence.

    NOTE:  If the procedure is unfinished, try to do it again.

    • AT (System Selection Menu)
    • Adjustment
    • TCU Set up

    3. ATF Refill

    4. Transmission Operation Check

    Park the vehicle on level ground, and block all four wheels.

    -2. Start the engine.

    NOTE:  Check that the engine starts in P position/mode, and does not start in any other positions/modes.

    -3. While pressing the brake pedal firmly, shift the transmission to each position/mode.

    5. Make sure the shift position indicator follows the shift operation.

    6. Front Wheel Alignment Check - Refer to: Wheel Alignment (3.0L Engine) or Wheel Alignment (3.5L Engine)

    7. VSA Sensor Neutral Position Memorization - Refer to: VSA Sensor Neutral Position Memorization or VSA Modulator-Control Unit Update

    8. Vehicle Road Test - Refer to: A/T Road Test or How to Release Park Lock

  17. Q.-

    Sub-Procedure 

    Removal 

    • Inspect the drive plate, and replace it if it is damaged.

    Installation 

    NOTICE: 

    Tighten the bolts in a crisscross pattern in at least two steps.

  18. R.-

    Sub-Procedure 

    Installation 

    • Make sure the torque converter is fully engaged on the transmission. Failure to do so will result in severe transmission or engine damage.

    After Installation 

    Procedure After Replacing Torque Converter 

    • Torque Converter Correction Value Learning

    NOTE:  Do the torque converter correction value learning only when replacing the original torque converter.

    1. Connect the HDS to the DLC .

    2. Select the following menu buttons on the HDS screen in sequence.

    • AT (System Selection Menu)
    • Adjustment
    • Torque Converter Correction Value Learning
  19. S.-

    Sub-Procedure 

    GHH666481Courtesy of HONDA, U.S.A., INC.

    Installation 

    Lubricant Specifications 

    Position Type
    a ATF

    Specifications 

    Specification
    b Flush with Housing

    Tool Details 

    Name
    c Spacer (Commercially Available)
  20. T.-

    Sub-Procedure 

    Installation 

    Lubricant Specifications 

    Object Type
    O-Ring ATF
  21. U.-

    Sub-Procedure 

    Removal 

    • Remove the appropriate bolts (a) as shown. (Figure 1)

      NOTICE: 

      The valve body assembly includes the rollers (b). Be careful not to drop them while removing the solenoid wire harness. (Figure 2)

    Figure 1 

    GHH666482Courtesy of HONDA, U.S.A., INC.

    Figure 2 

    GHH666483Courtesy of HONDA, U.S.A., INC.

    Installation 

    Lubricant Specifications 

    Object Type
    O-Ring ATF
  22. V.-

    Sub-Procedure 

    Figure 1 

    GHH666484Courtesy of HONDA, U.S.A., INC.

    Figure 2 

    GHH666485Courtesy of HONDA, U.S.A., INC.

    Figure 3 (11 x 27 mm Pipe) 

    GHH666486Courtesy of HONDA, U.S.A., INC.

    Figure 4 (Oil Pass Pipe E) 

    GHH666487Courtesy of HONDA, U.S.A., INC.

    Installation 

    • Install the pipes at the appropriate point as shown. (Figure 1 and 2)

    Lubricant Specifications 

    Object Type
    O-Ring ATF

    Installation Information (Figure 1 and 2) 

    Size
    a 11 x 24.5 mm Pipe
    b 11 x 27 mm Pipe
    c 20.4 x 19 mm Pipe
    d 25.4 x 19 mm Pipe
    e 10.9 x 64 mm Pipe
    f Oil Pass Pipe E
    g 10.9 x 22 mm Pipe

    Installation Directions (Figure 3 and 4) 

    Object Position Direction
    11 x 27 mm Pipe h Transmission Side
    Oil Pass Pipe E