LEMON Manuals: Even more car manuals for everyone: 1960-2025
Home >> Acura >> 2023 >> MDX Base >> Repair and Diagnosis >> Engine Performance >> Engine Control Systems >> Body Electrical System - Service Information >> Service Information >> Fog Light Adjustment >> Adjustment
April 5, 2026: LEMON Manuals is launched! Read the announcement.

Fog Light Adjustment: Adjustment

How to use this service information .

NOTICE: 

When working with a vehicle equipped with the electronic air suspension, be sure to set it to the leveling off mode to prevent unexpected operation. Refer to the Electronic Air Suspension System Service Precautions - Refer to: Electronic Air Suspension System Connector Fitting Precautions or Electronic Air Suspension System Service Precautions for the procedure.

  1. Fog Light - Adjust

    Preconditions 

    • Vehicle on Level Ground
    • Tire Pressures Normal Condition
    • The driver or someone who weighs the same should sit in the driver's seat (or use an equivalent weight).
    • Unload the vehicle.
    • For models with electronic air suspension: With the driver's weight added, reset the suspension by changing the integrated dynamics system mode from Normal to Sport, then back to Normal again.

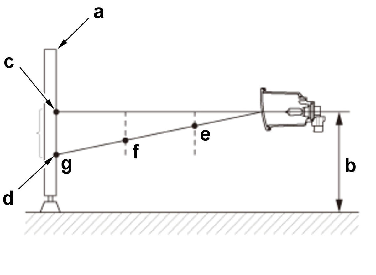
    Figure 1 

    GHH519042Courtesy of HONDA, U.S.A., INC.

    Procedure/Specifications 

    1. Park the vehicle in front of a wall or screen (a). (Figure 1)2. Measure the height of the fog lights (b). (Figure 1)3. Turn the fog lights on.

    4. Determine if the fog lights are aimed properly:

    • On the wall or screen, mark the height of the fog lights with a piece of tape (c). (Figure 1)
    • Check each fog light beam's height. Adjust them both so they are approximately 4.5 cm (1.77 in) lower (d) than the height of the fog lights at a distance of 3 m (9.8 ft). (Figure 1)

    Specifications (Figure 1) 

    Position Distance Standard Value
    e 1 m (3.3 ft) -1.5 cm (0.59 in)
    f 2 m (6.6 ft) -3 cm (1.18 in)
    g 3 m (9.8 ft) -4.5 cm (1.77 in)

    Figure 2 

    GHH519043Courtesy of HONDA, U.S.A., INC.

    5. If necessary, adjust each fog light to the specified height by turning the adjuster (h). (Figure 2)