LEMON Manuals: Even more car manuals for everyone: 1960-2025
Home >> Acura >> 2023 >> MDX Base >> Repair and Diagnosis >> Engine Performance >> Engine Control Systems >> Body Electrical System - Service Information >> Service Information >> Fuel Gauge Sending Unit Test (3.0L Engine) >> Test
April 5, 2026: LEMON Manuals is launched! Read the announcement.

Fuel Gauge Sending Unit Test (3.0L Engine): Test

How to use this service information .

WARNING:

Flammable - Keep Fire Away

NOTICE: 

  1. Fuel Gauge Sending Unit - Test

    Preconditions 

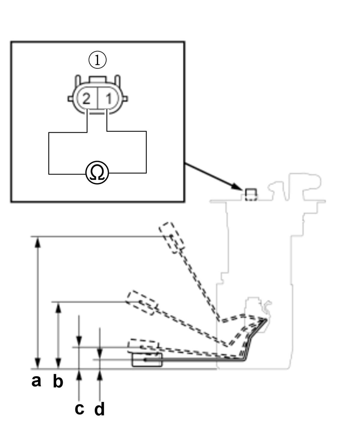
    GHH520017Courtesy of HONDA, U.S.A., INC.

    Procedure/Specifications 

    1. Confirm that the resistance at the following terminals changes smoothly by moving the float.

    Measurement Terminal 

    Fuel tank unit connector B (2P) (male terminals):
    No. 1 - No. 2

    Specifications 

    Object Specification
    Float Resistance changes smoothly

    2. Measure the resistance between the following terminals with each position.

    Measurement Terminal 

    Fuel tank unit connector B (2P) (male terminals):
    No. 1 - No. 2

    Specifications 

    Specification
    a 167.5 mm (6.594 in) 19-21 Ohm
    b 86.3 mm (3.398 in) 192.7-202.7 Ohm
    c 28.4 mm (1.118 in) 475.9-599.5 Ohm
    d 12.2 mm (0.480 in) 772.0-788.0 Ohm

    Result 

  2. Gauge Control Module - Test

    Preconditions 

    • DTC P0462 or P0463 not indication.
    • DTC B1175 or B1176 not indication.
    • "Fuel Gauge Sending Unit - Test" is completed and has tested normal.
    • Fuel Tank Unit Removed
    • Fuel tank unit connector A (4P) and Fuel tank unit connector B (2P) Connected
    GHH520020Courtesy of HONDA, U.S.A., INC.

    Procedure/Specifications 

    1. Move the float to (a), then turn the vehicle to the ON mode.

    Specifications 

    Position
    b 167.5 mm (6.594 in)

    2. Check the pointer of the fuel gauge displayed on the gauge control module.

    Specifications 

    Specification
    The pointer of the fuel gauge indicate "F"

    Result 

    After Test 

    • Remove the following fuses for at least 10 seconds, then reinstall it.