LEMON Manuals: Even more car manuals for everyone: 1960-2025
Home >> Acura >> 2023 >> TLX Base >> Repair and Diagnosis (Single Page) >> Accessories & Equipment >> Collision/Avoidance >> Advanced Driver Assistance Systems - Testing & Troubleshooting >> Description and Operation >> Multi View Camera System (MVCS) Description - System Diagram
April 5, 2026: LEMON Manuals is launched! Read the announcement.

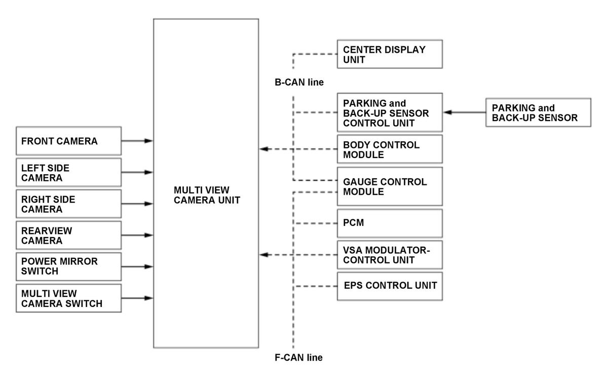
Multi View Camera System (MVCS) Description - System Diagram

The Multi View Camera System's unit first processes the image inputs (from the four wide-angle cameras), steering angle inputs (from the steering angle sensor), vehicle speed inputs (from the F-CAN), and switch inputs (from the related units) to send image signals or change view commands to the center display unit.

For locations of each component on vehicle, refer to Component Location Index:

GHH562709Courtesy of HONDA, U.S.A., INC.