LEMON Manuals: Even more car manuals for everyone: 1960-2025
Home >> Acura >> 2024 >> MDX Base >> Repair and Diagnosis (Single Page) >> Body & Frame >> Windows >> Electrical Component Locator And Service Information : Windshield Area >> Exploded View >> Windshield Area >> Repair Procedure
April 5, 2026: LEMON Manuals is launched! Read the announcement.

Repair Procedure

How to use this service information .

NOTICE: 

When working with a vehicle equipped with the electronic air suspension, be sure to set it to the leveling off mode to prevent unexpected operation. Refer to the Electronic Air Suspension System Service Precautions - Refer to: Electronic Air Suspension System Connector Fitting Precautions or Electronic Air Suspension System Service Precautions for the procedure.

22-24 

GHH666711Courtesy of HONDA, U.S.A., INC.

: Torque, N.m (lbf.ft)

: Replace

: Warning/Caution

: Inspection/Adjustment

*: Learning

: SPL Tool

: Required Removal

*1: Part(s) are shown for one side only as the procedure is the same for both sides.

*2: Without roof rail

*3: With roof rail

*4: For some models

25 

GHH666712Courtesy of HONDA, U.S.A., INC.

: Torque, N.m (lbf.ft)

: Replace

: Warning/Caution

: Inspection/Adjustment

*: Learning

: SPL Tool

: Required Removal

*1: Part(s) are shown for one side only as the procedure is the same for both sides.

*2: Without roof rail

*3: With roof rail

*4: For some models

GHH666713Courtesy of HONDA, U.S.A., INC.

: Torque, N.m (lbf.ft)

: Replace

: Warning/Caution

: Inspection/Adjustment

*: Learning

: SPL Tool

: Required Removal

*1: 22-24

*2: 25

  1. A.-

    Key Information 

    Do the following before starting your work.

    Remove: 

    Sub-Procedure 

    Removal 

    1. Remove the windshield molding (a) from the edge of the windshield (b). If necessary, cut off the windshield molding with a utility knife. (Figure 1)

    Figure 1 

    GHH666714Courtesy of HONDA, U.S.A., INC.

    2. If the original windshield will be reinstalled, make alignment marks (c) across the windshield and the body with a grease pencil. (Figure 2)

    Figure 2 

    GHH666715Courtesy of HONDA, U.S.A., INC.

    3. Apply protective tape along the edge of the dashboard and the body. Make a hole with an awl or similar tool, through the dashboard seal and the adhesive from inside the vehicle at a corner of the windshield. Push a piece of piano wire (d) through the hole, and wrap each end around a piece of wood. (Figure 3 and 4)

    Figure 3 

    GHH666716Courtesy of HONDA, U.S.A., INC.

    Figure 4 (Cutting Positions) 

    GHH666717Courtesy of HONDA, U.S.A., INC.

    4. With a helper on the outside, pull the piano wire back and forth in a sawing motion. Hold the piano wire as close to the windshield (e) as possible to prevent damage to the body and the dashboard. Carefully cut through the dashboard seal (f) and the adhesive (g) around the entire windshield. (Figure 3 and 4)

    5. Carefully remove the windshield.

    6. Scrape the original adhesive smooth to a thickness of about 1 mm (0.04 in) - 2 mm (0.08 in) on the bonding surface around the entire windshield opening flange with a putty knife.

    NOTICE: 

    Do not scrape down to the painted surface of the body; damaged paint will interfere with proper bonding.

    NOTE:  Remove the rubber dam from the body.

    Installation 

    1. Clean the body bonding surface with a shop towel dampened with isopropyl alcohol. After cleaning, do not allow oil, grease, and water to contact on the clean surface.

    2. If you are reinstalling the original windshield, scrape off all of the original adhesive, the windshield molding, the windshield lower molding, the dashboard seal, and the EPT foam from the windshield with a putty knife. Clean the bonding surfaces on the inside face and the edge of the windshield with isopropyl alcohol. Make sure the bonding surface is kept free of water, oil, and grease.

    3. Install the new windshield molding (h), windshield lower molding (i), dashboard seal (k), and EPT foam (m) with adhesive tape on the windshield (n) as shown. (Figure 5)

    NOTE: 

    • Before installing the windshield molding, the windshield lower molding, the dashboard seal, and the EPT foam apply glass primer (o) to the area where the adhesive tape will be applied. (Figure 5)
    • Be careful not to touch the windshield where the adhesive will be applied. (Figure 5)
    • Install the windshield molding, the dashboard seal, and the EPT foam to the windshield, using the alignment marks (p) on the windshield as the guides. (Figure 5)

    Dashboard Seal Cutting Length (Figure 5) 

    Standard Value
    k 1, 450 mm (57.09 in)

    Adhesive Specifications (Figure 5) 

    Standard Value
    q 8.7 mm (0.343 in)
    r 5.5 mm (0.217 in)
    s 9.5 mm (0.374 in)
    t 10 mm (0.39 in)

    Fitting Specifications (Figure 5) 

    Standard Value
    v 28 mm (11.02 in)
    w 129.4 3 mm (5.094 0.12 in)
    x 1 2 mm (0.04 0.08 in)
    y 2.5 mm (0.098 in)

    Figure 5 

    GHH666722Courtesy of HONDA, U.S.A., INC.

    4. Set the windshield (z) in the opening, and center it. Make the alignment marks (aa) across the windshield and the body with a grease pencil at the four points shown. (Figure 6)

    NOTE:  Be careful not to touch the windshield where the adhesive will be applied.

    Figure 6 

    GHH666723Courtesy of HONDA, U.S.A., INC.

    5. Remove the windshield.

    6. Apply a light coat of primer (ab) to the windshield (ac) along the edge of the windshield molding (ad) and the windshield lower molding (ae) as shown, then lightly wipe it off with gauze or cheesecloth. (Figure 7)

    NOTE: 

    • Apply the primer to corner areas of the windshield using the printed dots (af) on the windshield as a guide. (Figure 7)
    • Apply primer to the molding.
    • Do not apply body primer to the windshield, and do not mix up the body and glass primer applicators.
    • Never touch the primed surfaces with your hands. If you do, the adhesive may not bond to the windshield properly, causing a leak after the windshield is installed.
    • Keep water, dust, and abrasive materials away from primed surfaces.

    Specifications (Figure 7) 

    Standard Value
    ag 5.5 mm (0.217 in)
    ah 5.1 mm (0.201 in)
    ai 6.5 mm (0.256 in)
    ak 11 mm (0.43 in)
    am 9.3 mm (0.366 in)

    Figure 7 

    GHH666724Courtesy of HONDA, U.S.A., INC.

    7. Carefully apply a light coat of body primer to any exposed paint or metal around the flange where new adhesive will be applied. Let the primer dry for at least 10 minutes.

    NOTE: 

    • Do not apply the glass primer to the body.
    • Do not apply body primer to any remaining original adhesive on the flange.
    • Cover on the dashboard before applying the body primer.
    • Be careful not to mix up the body and glass primer applicators.
    • Never touch the primed surfaces with your hands.

    8. Cut a "V" in the end of the nozzle (an) on the adhesive cartridge as shown. (Figure 8)

    Specifications (Figure 8) 

    Standard Value
    ao 12 mm (0.47 in)
    ap 7 mm (0.28 in)

    Figure 8 

    GHH666725Courtesy of HONDA, U.S.A., INC.

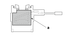
    9. Put the cartridge in a caulking gun, and run a continuous bead of adhesive (aq) on the windshield (ar) along the edge of the windshield moldings (as), and the windshield lower molding (at) as shown. (Figure 9)

    NOTE: 

    • Apply the adhesive within 30 minutes after applying the glass primer.
    • Apply the adhesive to the using the printed dots (au) on the windshield as a guide. (Figure 9)
    • Make a slightly thicker bead at each corner.

    Adhesive Specifications (Figure 9) 

    Standard Value
    av 12 mm (0.47 in)
    aw 7 mm (0.28 in)
    ax 2 mm (0.08 in)
    ay 7.1 mm (0.280 in)
    az 8.5 mm (0.335 in)
    ba 11.3 mm (0.445 in)

    Figure 9 

    GHH666726Courtesy of HONDA, U.S.A., INC.

    10. Hold the windshield with suction cups over the opening, align it with the alignment marks made, and set it down on the adhesive. Lightly push on the windshield until its edges are fully seated on the adhesive all the way around. Carefully remove the suction cups.

    NOTICE: 

    Do not open or close any of the doors for about an hour until the adhesive is dry.

    11. Remove the excess adhesive with a putty knife or a shop towel dampened with isopropyl alcohol.

    12. Wait at least an hour for the adhesive to dry, then spray water over the windshield and check for leaks. Mark the leaking areas, let the windshield dry, then seal with sealant: Let the vehicle stand for at least 4 hours after windshield installation. If the vehicle has to be used within the first 4 hours, it must be driven slowly.

    13. Advise the client not to do the following things for 2 to 3 days:

    • Slam the doors with all the windows rolled up.
    • Twist the body excessively (such as when going in and out of driveways at an angle or driving over rough, uneven roads).

    After Installation 

  2. B.-

    Sub-Procedure 

    Removal 

    1. Press the lock tabs (a) of camera cover lid to release the hook. (Figure 1)

    Figure 1 

    GHH666727Courtesy of HONDA, U.S.A., INC.

    2. Refer to figure 2.

    Figure 2 

    GHH666728Courtesy of HONDA, U.S.A., INC.

    3. Refer to figure 3.

    Tool Details (Figure 3) 

    Name
    b Trim Tool (Commercially Available)

    Figure 3 

    GHH666729Courtesy of HONDA, U.S.A., INC.

    4. Refer to figure 4.

    Figure 4 

    GHH666730Courtesy of HONDA, U.S.A., INC.
  3. C.-

    Sub-Procedure 

    NOTICE: 

    Replace the mount spring whenever the rearview mirror is removed from the windshield.

    Figure 1 

    GHH666731Courtesy of HONDA, U.S.A., INC.

    Figure 2 

    GHH666732Courtesy of HONDA, U.S.A., INC.

    Removal 

    • Refer to figure 1 and 2.

    Figure 3 

    GHH666733Courtesy of HONDA, U.S.A., INC.

    Figure 4 

    GHH666734Courtesy of HONDA, U.S.A., INC.

    Installation 

    • Refer to figure 3 and 4.
  4. D.-

    NOTICE: 

    Make sure that there are no stains, dust, or dirt on the lens of the multipurpose camera unit and the windshield area where the camera is mounted.

    Sub-Procedure 

    Removal 

    • Refer to figure 1 and 2.

    Tool Details (Figure 2) 

    Name
    a Trim Tool(Commercially Available)

    Figure 1 (With Integrated Driver Support System) 

    GHH666735Courtesy of HONDA, U.S.A., INC.

    Figure 2 (With Integrated Driver Support System (Camera and Five Radars)) 

    GHH666736Courtesy of HONDA, U.S.A., INC.

    After Installation 

  5. E.-

    Preconditions 

    Sub-Procedure 

    NOTICE: 

    Replace the automatic lighting/rain sensor whenever the automatic lighting/rain sensor is removed from the windshield.

    Removal 

    1. Prying on the automatic lighting/rain sensor bracket (a) may cause damage to the bracket. Insert a pick tool (b) from inside the clip (c) as shown, and carefully remove the clip. (Figure 1 and 2)

    NOTICE: 

    Be careful not to damage the windshield with the tip of the pick tool while working.

    Tool Details (Figure 1 and 2) 

    Name
    b Pick Tool (Commercially Available)

    Figure 1 

    GHH666737Courtesy of HONDA, U.S.A., INC.

    Figure 2 

    GHH666738Courtesy of HONDA, U.S.A., INC.

    2. Hold the connector portion (d), and carefully remove the automatic lighting/rain sensor (e) and silicon sheet together from the glass surface. (Figure 1 and 2)

    Installation 

    NOTICE: 

    • If the automatic lighting/rain sensor connector is connected after the 12 volt battery terminal is connected, the automatic lighting/rain sensor is not confirmed by the body control module.
    • Never touch the primed surface on the automatic lighting/rain sensor with your hands.
    • Be careful not to touch the silicon sheet surfaces, make sure it is clean. Keep it away from dust.
    • Avoid bubbles from developing under the sheet during installation.

    After Installation 

  6. F.-

    Sub-Procedure 

    Removal 

    1. Refer to figure 1.

    Figure 1 

    GHH666739Courtesy of HONDA, U.S.A., INC.

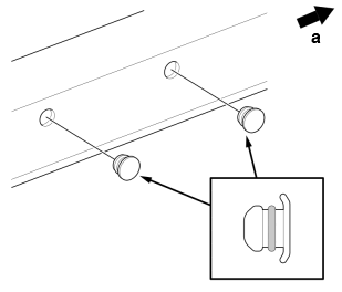
    2. Remove the clip (c) from the roof molding (d). (Figure 2)

    Figure 2 

    GHH666740Courtesy of HONDA, U.S.A., INC.
  7. G.-

    Sub-Procedure 

    GHH666741Courtesy of HONDA, U.S.A., INC.

    Removal 

    • Refer to the figure.

    Tool Details 

    Name
    a Flat-Tip Screwdriver (Commercially Available)
  8. H.-

    Sub-Procedure 

    GHH666742Courtesy of HONDA, U.S.A., INC.

    Removal 

    • Refer to the figure.

    Vehicle Directions 

    Direction
    a Front
  9. I.-

    Key Information 

    Do the following before starting your work.

    Remove: 

    Sub-Procedure 

    Removal 

    • Refer to the figure.
    GHH666743Courtesy of HONDA, U.S.A., INC.
  10. J.-

    Sub-Procedure 

    Removal 

    • Refer to figure 1.

    Figure 1 

    GHH666744Courtesy of HONDA, U.S.A., INC.

    Installation 

    • Refer to figure 2.

      NOTICE: 

      Do not press the heater area (a). (Figure 2)

    Figure 2 

    GHH666745Courtesy of HONDA, U.S.A., INC.