LEMON Manuals: Even more car manuals for everyone: 1960-2025
Home >> Acura >> 2024 >> MDX Base >> Repair and Diagnosis (Single Page) >> General Information >> OEM General Information >> Electrical Component Locator And Service Information : Engine Block/Crankshaft Area (3.5L Engine) >> Exploded View >> Engine Block/Crankshaft Area (3.5L Engine) >> Repair Procedure
April 5, 2026: LEMON Manuals is launched! Read the announcement.

Repair Procedure

How to use this service information .

GHH660620Courtesy of HONDA, U.S.A., INC.

: Torque, N.m (lbf.ft)

: Replace

: Warning/Caution

: Inspection/Adjustment

*: Learning

: SPL Tool

: Required Removal

GHH660621Courtesy of HONDA, U.S.A., INC.

: Torque, N.m (lbf.ft)

: Replace

: Warning/Caution

: Inspection/Adjustment

*: Learning

: SPL Tool

: Required Removal

*1: In the illustration, other parts are omitted because the component parts and the removal/installation procedure are the same.

GHH660622Courtesy of HONDA, U.S.A., INC.

: Torque, N.m (lbf.ft)

: Replace

: Warning/Caution

: Inspection/Adjustment

*: Learning

: SPL Tool

: Required Removal

  1. A.-

    Key Information 

    Do the following before starting your work.

    Remove: 

    Sub-Procedure 

    GHH660623Courtesy of HONDA, U.S.A., INC.

    Installation 

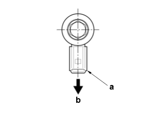
    NOTICE:  Make sure the direction of the sensor connector (a) as shown.

    Installation Directions 

    Position Direction
    b Crankshaft Pulley Side
  2. B.-

    Key Information 

    Do the following before starting your work.

    Remove: 

    Sub-Procedure 

    GHH660624Courtesy of HONDA, U.S.A., INC.

    Installation 

    • Install a cooling control spacer (a) in the engine block whenever the engine block is replaced, and check for free play between the cooling control spacer and the engine block. If there is any free play, install a new cooling control spacer.

    NOTICE: 

    • Make sure the cooling control spacer contacts the bottom of the water jacket (b).
    • Make sure the cooling control spacer upper end portions and the clearance of the cylinder block end face.

    Specifications 

    Standard Value
    c 1.5 mm (0.059 in) min.
  3. C.-

    Key Information 

    Do the following before starting your work.

    Remove: 

    Sub-Procedure 

    Removal 

    NOTE:

    Be careful not to damage the crankshaft and the engine block end cover.

    Figure 1 

    GHH660625Courtesy of HONDA, U.S.A., INC.

    Figure 2 

    GHH660626Courtesy of HONDA, U.S.A., INC.

    Installation 

    • Clean and dry the oil seal housing.

    Lubricant Specifications (Figure 1) 

    Position Type
    a Engine Oil

    Installation Depth (Figure 2) 

    Standard Value
    b No Clearance
    • Clean the excess oil off the crankshaft, and check that the oil seal lip is not distorted.
  4. D.-

    Key Information 

    Do the following before starting your work.

    Remove: 

    Sub-Procedure 

    GHH660627Courtesy of HONDA, U.S.A., INC.

    Installation 

    1. Remove all of the old gasket from the mating surfaces of each part and clean it.

    Lubricant Specifications 

    Position Type Detail
    a Liquid Gasket (P/N 08718-0003, 08718-0004, or 08718-0009) b 2.3 mm (0.091 in)

    Lubricant Specifications 

    Position Type
    The lip of the oil seal Engine Oil

    NOTICE: 

    • Install the component within 5 minutes of applying the liquid gasket.
    • If too much time has passed after applying the liquid gasket, remove the old liquid gasket and residue, then reapply new liquid gasket.
    • Wait at least 30 minutes before filling the engine with oil.
    • Do not run the engine for at least 3 hours after installing the parts.
  5. E.-

    Key Information 

    Do the following before starting your work.

    Remove: 

    Sub-Procedure 

    Removal 

    NOTE:

    Be careful not to damage the engine oil pump.

    Figure 1 

    GHH660628Courtesy of HONDA, U.S.A., INC.

    Figure 2 

    GHH660629Courtesy of HONDA, U.S.A., INC.

    Installation 

    • Clean and dry the oil seal housing.

    Lubricant Specifications (Figure 1) 

    Position Type
    a Engine Oil

    Installation Depth (Figure 2) 

    Standard Value
    b No Clearance
    • Clean the excess oil off the crankshaft, and check that the oil seal lip is not distorted.
  6. F.-

    Preconditions 

    Key Information 

    Do the following before starting your work.

    Remove: 

    Sub-Procedure 

    GHH660630Courtesy of HONDA, U.S.A., INC.

    Installation 

    1. Remove all of the old gasket from the mating surfaces of each part and clean it.

    Lubricant Specifications 

    Position Type Detail
    a Liquid Gasket (P/N 08718-0003, 08718-0004, or 08718-0009) b 2.3 mm (0.091 in)

    Lubricant Specifications 

    Position Type
    The lip of the oil seal Engine Oil

    Lubricant Specifications 

    Object Type Specified Amount
    Pump Rotor Chamber Engine Oil 2 mL (0.07 fl oz, 0.07 Imp oz)

    NOTICE: 

    • Install the component within 5 minutes of applying the liquid gasket.
    • If too much time has passed after applying the liquid gasket, remove the old liquid gasket and residue, then reapply new liquid gasket.
    • Wait at least 30 minutes before filling the engine with oil.
    • Do not run the engine for at least 3 hours after installing the parts.
  7. G.-

    NOTICE: 

    Keep all removed parts in order, and install them of the original position when installing.

    Sub-Procedure 

    Figure 1 

    GHH660631Courtesy of HONDA, U.S.A., INC.

    Figure 2 

    GHH660632Courtesy of HONDA, U.S.A., INC.

    Removal 

    • Refer to the figure 1.

    NOTICE: 

    • If you can feel a ridge of metal or hard carbon around the top of each cylinder, remove it with a ridge reamer (a). Follow the reamer manufacturer's instructions. If the ridge is not removed, it may damage the piston as it is pushed out. (Figure 2)
    • Take care not to damage the cylinder with the connecting rod.
    • Mark the cylinder number on the connecting rod and the connecting rod bearing cap to avoid mixing them up during reassembly.

    Tool Details (Figure 2) 

    Name
    a Ridge Reamer (Commercially Available)

    Figure 3 

    GHH660633Courtesy of HONDA, U.S.A., INC.

    Installation 

    1. Check the connecting rod bearing is securely in place.

    Lubricant Specifications 

    Position Type
    • Piston
    • Inside of Ring Compressor
    • Cylinder Bore
    Engine Oil

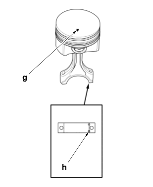
    2. Position the piston/rod assembly with the arrow (b) facing the timing belt side of the engine block. (Figure 3)

    Figure 4 

    GHH660634Courtesy of HONDA, U.S.A., INC.

    3. Push down on the ring compressor (c) to prevent the rings from expanding before entering the cylinder bore. (Figure 4)

    Tool Details (Figure 4) 

    Name
    c Ring Compressor (Commercially Available)

    4. Stop after the ring compressor pops free, and check the connecting rod-to-rod journal alignment before pushing the piston into place.

    5. Adjust the connecting rod bearing - Refer to: Connecting Rod Bearing Adjustment (3.0L Engine) or Connecting Rod Bearing Adjustment (3.5L Engine)

    (if necessary).

    Figure 5 

    GHH660635Courtesy of HONDA, U.S.A., INC.

    6. Measure the diameter of each connecting rod bolt.

    7. Calculate the difference in diameter between point (d) and point (e). (Figure 5)

    Conditions (Figure 7) 

    Position
    d 35 mm (1.38 in)
    e 20 mm (0.79 in)

    Specifications (Figure 7) 

    Service Limit
    Outer diameter of the bolt (Difference in diameter) 0-0.1 mm (0-0.004 in)
    NOTE:

    If the difference in diameter is out of specification, replace the connecting rod bolt.

    Figure 6 

    GHH660636Courtesy of HONDA, U.S.A., INC.

    Figure 7 

    GHH660637Courtesy of HONDA, U.S.A., INC.

    8. Set the crankshaft to bottom dead center (BDC) for the cylinder.

    9. Install the connecting rod cap. Line up the mark (f) on the connecting rod and the connecting rod cap. (Figure 6)

    Lubricant Specifications 

    Position Type
    • Threads
    • Flange
    Engine Oil

    Tightening Procedure (Figure 7) 

    Step Operation Standard Value
    1 Hand Tighten The bolts until they sit on the connecting rod cap
    2 Temporarily Tighten 20 N.m (15 lbf.ft)
    3 Angle Tighten g 90 deg.

    NOTICE: 

    Remove the connecting rod bolt if you tightened it beyond the specified angle, and go back to step 1 of the tightening procedure. Do not loosen it back to the specified angle.

    10. Inspect the connecting rod and crankshaft end play - Refer to: Connecting Rod and Crankshaft End Play Inspection (3.0L Engine) or Piston, Ring, Pin, and Connecting Rod Inspection (3.5L Engine) or Connecting Rod and Crankshaft End Play Inspection (3.5L Engine) or Piston, Ring, Pin, and Connecting Rod Inspection (3.0L Engine) . (if necessary)

  8. H.-

    Key Information 

    Do the following before starting your work.

    Remove: 

    Sub-Procedure 

    NOTICE: 

    • Keep all removed parts in order, and install them of the original position when installing.
    • Be careful not to damage the journals and the CKP pulse plate.
    NOTE:

    The No. 1 journal is on the crankshaft pulley side.

    Figure 1 

    GHH660638Courtesy of HONDA, U.S.A., INC.

    Removal 

    • Loosen the bearing cap bolts and the bearing cap side bolts in sequence 1/3 turn at a time; repeat the sequence until all bolts are loosened. (Figure 1)

    Figure 2 

    GHH660639Courtesy of HONDA, U.S.A., INC.

    Installation 

    1. Adjust the main bearing - Refer to: Crankshaft Main Bearing Adjustment (3.0L Engine) or Crankshaft Main Bearing Adjustment (3.5L Engine)

    (if necessary).

    2. Install the crankshaft.

    Lubricant Specifications 

    Position Type
    • Main Bearings
    • Connecting Rod Bearings
    Engine Oil

    3. Install the thrust washer (a) as shown. (Figure 2)

    Lubricant Specifications 

    Position Type
    Thrust Washer Surfaces Engine Oil

    Figure 3 

    GHH660640Courtesy of HONDA, U.S.A., INC.

    Figure 4 

    GHH660641Courtesy of HONDA, U.S.A., INC.

    4. Install the main bearings and the main bearing caps.

    NOTICE: 

    Install the main bearing caps aligning the arrows (b) facing the timing belt side of the engine block. (Figure 3)

    Lubricant Specifications 

    Position Type
    • Threads
    • Flanges
    Engine Oil

    Installation Directions 

    Position Direction
    c Crankshaft Pulley Side

    Specifications (Figure 4) 

    Position Type
    d 10 x 60 mm
    Position Type
    e 10 x 80 mm

    Figure 5 

    GHH660642Courtesy of HONDA, U.S.A., INC.

    Figure 6 

    GHH660643Courtesy of HONDA, U.S.A., INC.

    5. Tighten the bolts, in sequence. (Figure 5)

    Tightening Procedure (Figure 5 and 6) 

    Step Operation Object Specification
    1 Temporarily Tighten All Bolts
    2 Tighten - 40 N.m (30 lbf.ft)
    3 Angle Tighten - f 47deg.
    4 Tighten - 49 N.m (36 lbf.ft)

    After Installation 

  9. I.-

    Sub-Procedure 

    NOTICE: 

    Keep all removed parts in order, and install them of the original position when installing.

    Figure 1 

    GHH660644Courtesy of HONDA, U.S.A., INC.

    Removal 

    • Refer to the Figure 1.

    Tool Details (Figure 1) 

    Name
    a Ring Expander (Commercially Available)

    Figure 2 

    GHH660645Courtesy of HONDA, U.S.A., INC.

    Installation 

    1. Clean all ring grooves thoroughly with a squared-off broken ring or a ring groove cleaner with a blade to fit the piston grooves. File down a blade if necessary. Do not use a wire brush to clean the ring grooves, or cut the ring grooves deeper with the cleaning tools.

    2. If necessary, inspect the piston ring end gap - Refer to: Block and Piston Inspection (3.0L Engine) or Block and Piston Inspection (3.5L Engine) or Piston, Ring, Pin, and Connecting Rod Inspection (3.5L Engine) or Piston, Ring, Pin, and Connecting Rod Inspection (3.0L Engine)

    NOTE:

    If the piston is to be separated from the connecting rod, do not install new rings yet.

    Specifications (Figure 2) 

    Standard Value (New)
    b 1.2 mm (0.047 in)
    c 1.2 mm (0.047 in)
    d 2.0 mm (0.079 in)

    Figure 3 

    GHH660646Courtesy of HONDA, U.S.A., INC.

    Figure 4 

    GHH660647Courtesy of HONDA, U.S.A., INC.

    3. The manufacturing marks (e)/(f) must be facing upward. (Figure 3)

    Specifications (Figure 3) 

    Marking Position Mark
    e 1A/1R
    f SPR/2R

    Specifications (Figure 4) 

    Standard Value (New)
    Top Ring g 3.1 mm (0.122 in)
    h 1.2 mm (0.047 in)
    Second Ring g 3.6 mm (0.142 in)
    h 1.2 mm (0.047 in)

    Lubricant Specifications 

    Position Type
    Piston Rings Engine Oil

    4. Rotate the rings in their grooves to make sure they do not bind.

    Figure 5 

    GHH660648Courtesy of HONDA, U.S.A., INC.

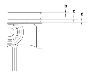
    5. Position the ring end gaps as shown. (Figure 5)

    Specifications (Figure 5) 

    Position Object
    i Oil Ring Gap
    k Second Ring Gap
    m Oil Ring Gap
    n Top Ring Gap and Spacer Ring Gap
    o Piston Pin

    Specifications (Figure 5) 

    Specifications
    p About 90 deg.
    q About 45 deg.

    After Installation 

  10. J.-

    Sub-Procedure 

    NOTICE: 

    Keep all removed parts in order, and install them of the original position when installing.

    Figure 1 

    GHH660649Courtesy of HONDA, U.S.A., INC.

    Figure 2 

    GHH660650Courtesy of HONDA, U.S.A., INC.

    Removal 

    1. Remove the snap rings.

    Lubricant Specifications (Figure 1) 

    Position Type
    a Engine Oil

    -1. Turn them in the ring grooves until the end gaps are lined up with the cutouts in the piston pin bores (b). (Figure 1)

    NOTICE: 

    Take care not to damage the ring grooves.

    -2. Remove the snap rings from both sides of each piston. Start at the cutout in the piston pin bore. Remove the snap rings carefully so they do not go flying or get lost. Wear goggles or safety glasses to prevent eye injury. (Figure 2)

    Figure 3 

    GHH660651Courtesy of HONDA, U.S.A., INC.

    2. Remove the piston pin. (Figure 3)

    • Heat the piston/rod assembly to about 158 deg.F (70 deg.C).

    3. If necessary, do the following inspection.

    Figure 4 

    GHH660652Courtesy of HONDA, U.S.A., INC.

    Installation 

    1. Install the snap ring. (only on one side)

    2. Make sure the mark (c).

    Specifications (Figure 3) 

    Marking Position Mark
    c R9P/5J6

    Figure 5 

    GHH660653Courtesy of HONDA, U.S.A., INC.

    Figure 6 

    GHH660654Courtesy of HONDA, U.S.A., INC.

    Figure 7 (5J6) 

    GHH660655Courtesy of HONDA, U.S.A., INC.

    Figure 8 (R9P) 

    GHH660656Courtesy of HONDA, U.S.A., INC.

    3. Install the piston pin.

    Lubricant Specifications (Figure 5) 

    Position Type
    d Engine Oil
    e
    f
    • Heat the piston to about 158 deg.F (70 deg.C). (Figure 6)
    • Align the arrow (g) with the groove (h) direction on the connecting rod as shown. (Figure 7 and 8)

      NOTICE: 

      Pay attention to the direction for installing the connecting rod according to the marks.

    4. Install the remaining snap ring.

    • Turn the snap rings in the ring grooves until the end gaps are positioned at the bottom of the piston.
  11. K.-

    Sub-Procedure 

    NOTICE: 

    Be careful not to damage the CKP pulse plate.

    GHH660657Courtesy of HONDA, U.S.A., INC.

    Installation 

    • Align the portion (a) on the CKP pulse plate and groove (b) on the crankshaft.

    Lubricant Specifications 

    Position Type
    • Bolt Threads
    • Bolt Flange
    Engine Oil

    After Installation