LEMON Manuals: Even more car manuals for everyone: 1960-2025
Home >> Acura >> 2024 >> MDX Base >> Repair and Diagnosis (Single Page) >> General Information >> OEM General Information >> Electrical Component Locator And Service Information : Intermediate Shaft Components >> Exploded View >> Intermediate Shaft Components >> Repair Procedure
April 5, 2026: LEMON Manuals is launched! Read the announcement.

Repair Procedure

How to use this service information .

NOTICE: 

3.0 L Engine 

GHH664097Courtesy of HONDA, U.S.A., INC.

: Torque, N.m (lbf.ft)

: Replace

: Warning/Caution

: Inspection/Adjustment

*: Learning

: SPL Tool

: Required Removal

3.5 L Engine 

GHH664098Courtesy of HONDA, U.S.A., INC.

: Torque, N.m (lbf.ft)

: Replace

: Warning/Caution

: Inspection/Adjustment

*: Learning

: SPL Tool

: Required Removal

*1: Without AWD

*2: With AWD

  1. A.-

    Sub-Procedure 

    GHH664099Courtesy of HONDA, U.S.A., INC.

    Installation 

    Specifications 

    Standard Value
    a 3.8 - 4.4 mm (0.150 - 0.173 in)
  2. B.-

    Sub-Procedure 

    Figure 1 

    GHH664100Courtesy of HONDA, U.S.A., INC.

    Removal 

    • Refer to figure 1.

    Figure 2 

    GHH664101Courtesy of HONDA, U.S.A., INC.

    Installation 

    Specifications (Figure 2) 

    Specification
    a No Clearance
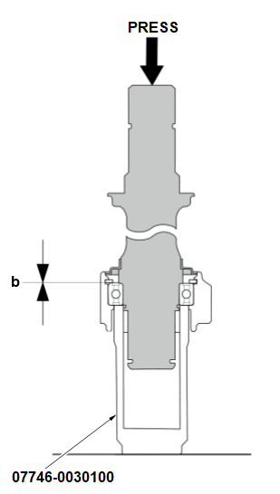
  3. C.-

    Sub-Procedure 

    Figure 1 

    GHH664102Courtesy of HONDA, U.S.A., INC.

    Removal 

    • Be careful not to damage the bearing support ring (a). (Figure 1)

    Figure 2 

    GHH664103Courtesy of HONDA, U.S.A., INC.

    Installation 

    Specifications (Figure 2) 

    Specification
    b No Clearance
  4. D.-

    Sub-Procedure 

    GHH664104Courtesy of HONDA, U.S.A., INC.

    Installation 

    Specifications 

    Standard Value
    a Flush with Housing