LEMON Manuals: Even more car manuals for everyone: 1960-2025
Home >> Acura >> 2024 >> TLX Base >> Repair and Diagnosis (Single Page) >> Quick Lookups >> Electrical Component Locations >> Electrical Component Locator And Service Information - Front Bumper Area Components >> Exploded View >> Front Bumper Area >> Repair Procedure
April 5, 2026: LEMON Manuals is launched! Read the announcement.

Repair Procedure

How to use this manual .

NOTE:
GHH561266Courtesy of HONDA, U.S.A., INC.
: Torque, N.m (lbf.ft) : Replace : Warning/Caution : Inspection/Adjustment *: Learning ■: SPL Tool : Required Removal
*1: For some models

*2: 2.0 L Engine

*3: Part(s) are shown for one side only as the procedure is the same for both sides.

GHH561267Courtesy of HONDA, U.S.A., INC.
: Torque, N.m (lbf.ft) : Replace : Warning/Caution : Inspection/Adjustment *: Learning ■: SPL Tool : Required Removal
*1: 2.0 L Engine

*2: 3.0 L Engine

*3: Part(s) are shown for one side only as the procedure is the same for both sides.

GHH561268Courtesy of HONDA, U.S.A., INC.
: Torque, N.m (lbf.ft) : Replace : Warning/Caution : Inspection/Adjustment *: Learning ■: SPL Tool : Required Removal
*1: Part(s) are shown for one side only as the procedure is the same for both sides.
GHH561269Courtesy of HONDA, U.S.A., INC.
: Torque, N.m (lbf.ft) : Replace : Warning/Caution : Inspection/Adjustment *: Learning ■: SPL Tool : Required Removal
*1: Canada and Mexico Models
  1. A.-

    Sub-Procedure 

    GHH561270Courtesy of HONDA, U.S.A., INC.

    Removal 

    • Refer to the figure.

    Tool Details 

    Name
    a 90 degree pick (Commercially available tool)
  2. B.-

    Sub-Procedure 

    Removal 

    • Refer to the figure.

    Tool Details 

    Name
    a Flat-tip screwdriver (Commercially available tool)
    GHH561271Courtesy of HONDA, U.S.A., INC.

    After Installation 

  3. C.-

    Sub-Procedure 

    Removal 

    1. Refer to the figure 1.

    Figure 1 

    GHH561272Courtesy of HONDA, U.S.A., INC.

    2. Refer to the figure 2.

    Figure 2 

    GHH561273Courtesy of HONDA, U.S.A., INC.
  4. D.-

    Sub-Procedure 

    Removal 

    • Refer to the figure.
    GHH561274Courtesy of HONDA, U.S.A., INC.
  5. E.-

    Sub-Procedure 

    Removal 

    • Refer to the figure.
    GHH561275Courtesy of HONDA, U.S.A., INC.
  6. F.-

    Key Information 

    Do the following before starting your work.

    Remove: 

    • Front Grille Cover
    • Front Bumper Upper Trim

    Sub-Procedure 

    GHH561276Courtesy of HONDA, U.S.A., INC.

    Removal 

    Refer to the figure.

  7. G.-
    NOTE:
    NOTE:

    If you are replacing the front impact sensor after a deployment, refer to Component Replacement/Inspection After Deployment - Refer to: SRS Component Replacement/Inspection After Deployment for a complete list of other parts that must also be replaced.

    Preconditions 

    Key Information 

    Do the following before starting your work.

    2.0 L Engine 

    Remove: 

    3.0 L Engine 

    Remove: 

    Sub-Procedure 

    Installation 

    NOTE:

    Be careful not to bump (by impact wrench, hammer, etc.) the area around the front impact sensor.

    NOTE:
    • Before installing the front bumper, make sure the SRS indicator works normally.

    After Installation 

  8. H.-

    Key Information 

    Do the following before starting your work.

    Remove: 

    Sub-Procedure 

    Removal 

    1. Refer to the figure 1.

    Figure 1 

    GHH561277Courtesy of HONDA, U.S.A., INC.

    2. Refer to the figure 2.

    Figure 2 

    GHH561278Courtesy of HONDA, U.S.A., INC.

    Installation 

    Washer Reservoir Specifications 

    Applicable Area Capacity
    USA models 2.5 L (2.6 Us qt)
    Canada and Mexico models 5.5 L (5.8 Us qt)
  9. I.-

    Key Information 

    Do the following before starting your work.

    Remove: 

    Sub-Procedure 

    GHH561279Courtesy of HONDA, U.S.A., INC.

    Removal 

    1. Refer to the figure.

    Tube Joint Details 

    Position Condition
    a Lock
    Position Condition
    b Unlock
  10. J.-

    Sub-Procedure 

    Installation 

    • Refer to the figure.
      NOTE:

      After cleaning, keep oil, grease, and water from getting on the surface.

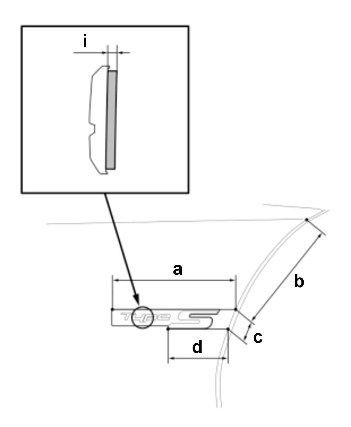
    Specifications 

    Standard Value
    a 141.4 mm (5.570 in)
    b 196.2 mm (7.724 in)
    c 28.7 mm (1.130 in)
    d 209.8 mm (8.260 in)
    e 196.2 mm (7.724 in)
    f 274.1 mm (10.791 in)
    g 28.7 mm (1.130 in)
    h 141.4 mm (5.570 in)
    i 0.8 mm (0.031 in)
    GHH561280Courtesy of HONDA, U.S.A., INC.
  11. K.-

    Sub-Procedure 

    Installation 

    • Refer to the figure. (Figure 1 and 2)
      NOTE:

      After cleaning, keep oil, grease, and water from getting on the surface.

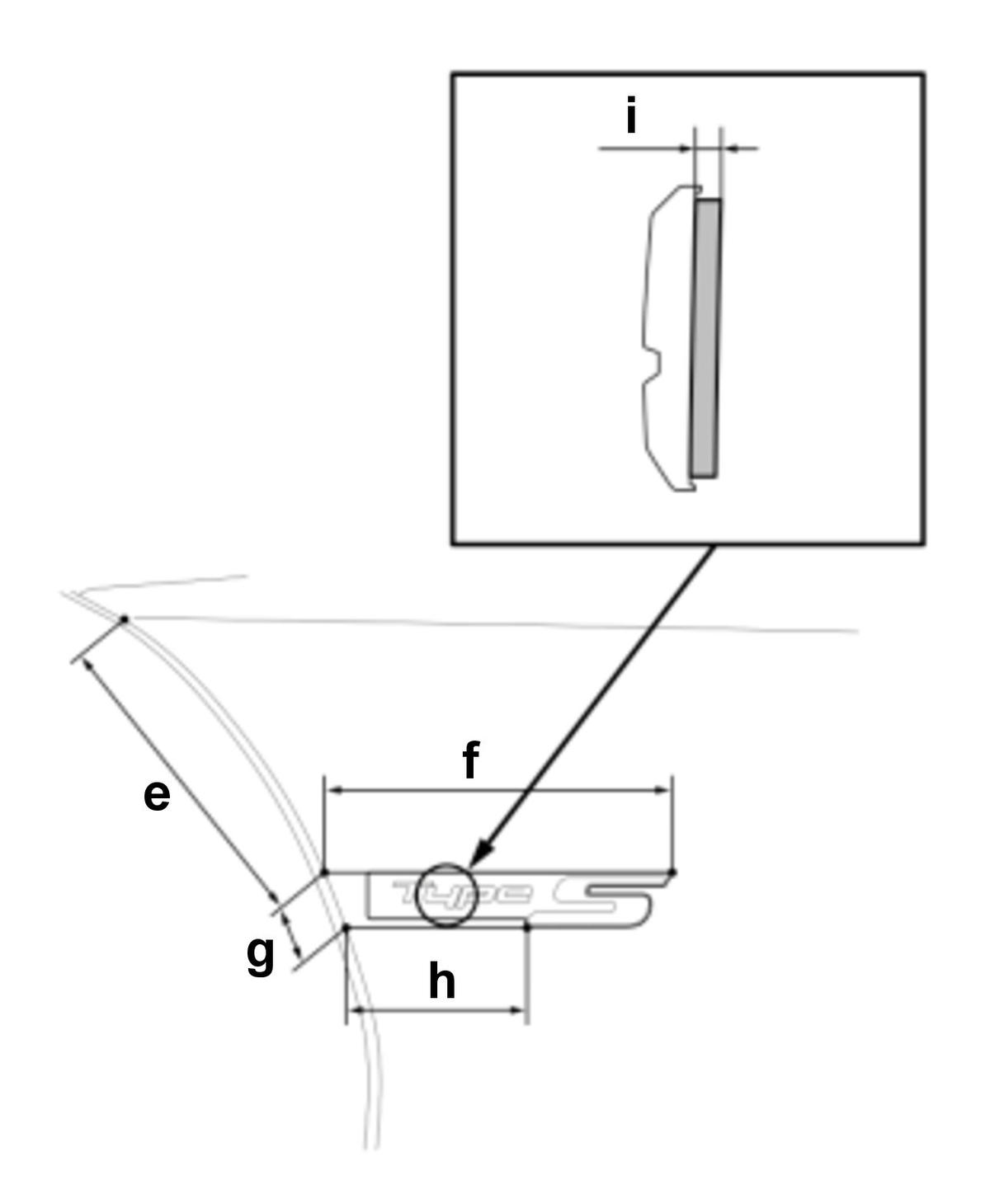
    Specifications (Figure 1 and 2) 

    Standard Value
    a 161.5 mm (6.358 in)
    b 145 mm (5.71 in)
    c 29 mm (1.14 in)
    d 73 mm (2.87 in)
    e 145 mm (5.71 in)
    f 169 mm (6.65 in)
    g 29 mm (1.14 in)
    h 88 mm (3.46 in)
    i 0.8 mm (0.031 in)

    Figure 1 

    GHH561281Courtesy of HONDA, U.S.A., INC.

    Figure 2 

    GHH561282Courtesy of HONDA, U.S.A., INC.
  12. L.-

    NOTE:  The front bumper can be removed without removing the front "A" emblem/radar cover.

    Sub-Procedure 

    Removal 

    1. Refer to the figure. (Figure 1, 2, 3, and 4)

    Figure 1 

    GHH561283Courtesy of HONDA, U.S.A., INC.

    Figure 2 

    GHH561284Courtesy of HONDA, U.S.A., INC.

    Figure 3 

    GHH561285Courtesy of HONDA, U.S.A., INC.

    Figure 4 

    GHH561286Courtesy of HONDA, U.S.A., INC.

    After Installation 

  13. M.-

    After Installation 

  14. N.-

    After Installation 

  15. O.-
    GHH561287Courtesy of HONDA, U.S.A., INC.
  16. P.-
    GHH561288Courtesy of HONDA, U.S.A., INC.
  17. Q.-

    Key Information 

    Do the following before starting your work.

    Remove: 

    • Front Bumper Beam (3.0 L engine)

    Sub-Procedure 

    Figure 1 (2.0 L Engine) 

    GHH561289Courtesy of HONDA, U.S.A., INC.

    Figure 2 (3.0 L Engine) 

    GHH561290Courtesy of HONDA, U.S.A., INC.

    Removal 

    • Refer to the figure 1 and 2.
  18. R.-

    Sub-Procedure 

    Removal 

    • Refer to the figure.
    GHH561291Courtesy of HONDA, U.S.A., INC.
  19. S.-

    Sub-Procedure 

    Removal 

    • Refer to the figure.
    GHH561292Courtesy of HONDA, U.S.A., INC.
  20. T.-

    Sub-Procedure 

    Removal 

    • Refer to the figure.
    GHH561293Courtesy of HONDA, U.S.A., INC.
  21. U.-

    Sub-Procedure 

    Removal 

    • Refer to the figure.
    GHH561294Courtesy of HONDA, U.S.A., INC.
  22. V.-

    Sub-Procedure 

    Removal 

    • Refer to the figure.
    GHH561295Courtesy of HONDA, U.S.A., INC.

    After Installation 

  23. W.-

    Sub-Procedure 

    Installation 

    NOTE:

    Inspect the grommet for damage. If damaged, replace it.