Repair Procedure
How to use this service information .
: Torque, N.m (lbf.ft)
: Replace
: Warning/Caution
: Inspection/Adjustment
*: Learning
: SPL Tool
: Required Removal
: Torque, N.m (lbf.ft)
: Replace
: Warning/Caution
: Inspection/Adjustment
*: Learning
: SPL Tool
: Required Removal
- A.-
Sub-Procedure
Installation
- Refer to the figure.
NOTICE:
- Check that cover joint tube (a) is lying smoothly against the air cleaner housing cover without buckling.
- Be careful not to pinch the air cleaner element packing (b).
- B.-
Sub-Procedure
Installation
Installation Directions
Mark Direction a Rear b Down After Installation
- If the idle speed fluctuates, do the idle speed inspection - Refer to: Idle Speed Inspection (3.0L Engine) or Idle Speed Inspection (3.5L Engine) .
- Maintenance Minder Reset (With Maintenance Minder System)NOTE:
If the Maintenance Minder required to replace the air cleaner element, reset the Maintenance Minder with the gauge (see "Resetting the Maintenance Minder").
- C.-
Key Information
Do the following before starting your work.
Remove:
- Front Grille Cover - Refer to: Front Bumper Area (2025) or Front Bumper Area (2022 2023 2024)
Sub-Procedure
Installation
NOTE:- If you are reinstalling the original air intake tube, make sure the air intake form is not damaged or distorted. Replace it if it is.
- If you are installing a new air intake tube, make sure the air intake foam is installed.
- D.-
Sub-Procedure
Installation
Specifications
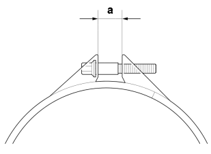
Standard Value a 9-10 mm (0.35-0.39 in) - E.-
Sub-Procedure
Installation
NOTICE: Make sure the clamp do not interfere with the surrounding parts.
- F.-
Sub-Procedure
Removal
- Refer to the figure.
- G.-NOTE:
- Make sure the HDS has the latest HDS software version.
- If you are replacing the PCM after substituting a known-good PCM, reinstall the original PCM, then do this procedure.
- If you are removing the PCM, skip the procedures of READ DATA and Procedure After Replacing/Substituting PCM.
Preconditions
Sub-Procedure
Removal
1. Only for replacing PCM: Select the following menu buttons on the HDS screen in sequence.
- PGM-FI (System Selection Menu)
- ECU Replacement
- READ DATA
NOTICE: If the READ DATA indicates FAILED, go to the next step.
NOTE:Doing this step copies (READS) the data from the original PCM so you can later download (WRITES) it into the new PCM.
2. Turn the vehicle to the OFF (LOCK) mode.
3. Jump the SCS line with the HDS, and wait more than 1 minute.
NOTICE: This step must be done to protect the PCM from damage.
4. Remove the PCM.
Installation
1. Install the PCM.
2. Connect the HDS to the DLC .
3. Open the SCS.
After Installation
Procedure After Replacing/Substituting PCM
- VIN InputNOTE:
If DTC P0630 VIN Not Programmed or Mismatch is stored, ignore it and go to the next step.
- Keyless Access System Registration
- Only for replacing PCM: Select the following menu buttons on the HDS screen in sequence.
NOTICE: If the READ DATA failed, skip this procedure, and replace the engine oil - Refer to: Engine Oil Level Check or Engine Oil Replacement (3.5L Engine) or Engine Oil Replacement (3.0L Engine) and the oil filter - Refer to: A/C Compressor/Engine Oil Pan Area (3.5L Engine) or A/C Compressor/Engine Oil Pan Area (3.0L Engine) .
-
- PGM-FI (System Selection Menu)
- ECU Replacement
- WRITE DATA
- DTC Clear - Refer to: How to Troubleshoot the Fuel and Emissions Systems (3.5L Engine) or How to Troubleshoot the Fuel and Emissions Systems (3.0L Engine)
- PCM Update - Refer to: PCM Reset or PCM Update
- PCM Idle Learn
- CKP Pattern Clear/Learn
- H.-
Sub-Procedure
Removal
- Refer to the figure.
- I.-
Sub-Procedure
Removal
- Refer to the figure.