LEMON Manuals: Even more car manuals for everyone: 1960-2025
Home >> Acura >> 2025 >> MDX Base >> Repair and Diagnosis (Single Page) >> General Information >> OEM General Information >> Electrical Component Locator And Service Information : Windshield Wiper Area >> Exploded View >> Windshield Wiper Area >> Repair Procedure
April 5, 2026: LEMON Manuals is launched! Read the announcement.

Repair Procedure

How to use this service information .

NOTICE: 

When working with a vehicle equipped with the electronic air suspension, be sure to set it to the leveling off mode to prevent unexpected operation. Refer to the Electronic Air Suspension System Service Precautions - Refer to: Electronic Air Suspension System Connector Fitting Precautions or Electronic Air Suspension System Service Precautions for the procedure.

GHH666750Courtesy of HONDA, U.S.A., INC.

: Torque, N.m (lbf.ft)

: Replace

: Warning/Caution

: Inspection/Adjustment

*: Learning

: SPL Tool

: Required Removal

*1: Part(s) are shown for one side only as the procedure is the same for both sides.

GHH666751Courtesy of HONDA, U.S.A., INC.

: Torque, N.m (lbf.ft)

: Replace

: Warning/Caution

: Inspection/Adjustment

*: Learning

: SPL Tool

: Required Removal

*1: 3.0 L Engine

GHH666752Courtesy of HONDA, U.S.A., INC.

: Torque, N.m (lbf.ft)

: Replace

: Warning/Caution

: Inspection/Adjustment

*: Learning

: SPL Tool

: Required Removal

GHH666753Courtesy of HONDA, U.S.A., INC.

: Torque, N.m (lbf.ft)

: Replace

: Warning/Caution

: Inspection/Adjustment

*: Learning

: SPL Tool

: Required Removal

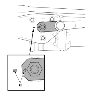
  1. A.-

    Sub-Procedure 

    Figure 1 

    GHH666754Courtesy of HONDA, U.S.A., INC.

    Removal 

    1. Turn the vehicle to the ON mode.

    2. Turn and hold the wiper/washer switch to the MIST position, and then turn the vehicle to the OFF (LOCK) mode.

    3. Release the wiper/washer switch.

    NOTE:  The wiper arm stops at the service position.

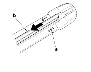
    4. On the "SET" label (a) side, pull back the wiper blade (b). (Figure 1)

    Figure 2 

    GHH666755Courtesy of HONDA, U.S.A., INC.

    5. Pull out the wiper blade (c). (Figure 2)

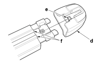
    Figure 3 

    GHH666756Courtesy of HONDA, U.S.A., INC.

    6. If necessary, remove the end cap (d) by pressing the tab (e). (Figure 3)

    NOTE:  When removing it, take care not to damage the rubber holder (f). (Figure 3)

  2. B.-

    Sub-Procedure 

    GHH666757Courtesy of HONDA, U.S.A., INC.

    Removal 

    1. Turn the vehicle to the ON mode.

    2. Turn and hold the wiper/washer switch to the MIST position, and then turn the vehicle to the OFF (LOCK) mode.

    3. Release the wiper/washer switch.

    NOTE:  The wiper arm stops at the service position.

    4. Remove the wiper blade holder (a).

    After Installation 

  3. C.-

    NOTE:  Before removal, turn the wiper/washer switch ON to the (LO) or (HI) position, then OFF to return the motor shaft to the park position.

    After Installation 

  4. D.-

    Sub-Procedure 

    GHH666758Courtesy of HONDA, U.S.A., INC.

    Removal 

    • Refer to the figure.
  5. E.-

    Sub-Procedure 

    GHH666759Courtesy of HONDA, U.S.A., INC.

    Removal 

    • Refer to the figure.
  6. F.-

    Sub-Procedure 

    GHH666760Courtesy of HONDA, U.S.A., INC.

    Installation 

    • Align the painted mark (a) of the seal (b) with the notch (c) on the cowl cover, then push the hood rear seal against the cowl cover.
  7. G.-
    GHH666761Courtesy of HONDA, U.S.A., INC.
  8. H.-

    Sub-Procedure 

    Removal 

    • Refer to figure 1.

    Figure 1 

    GHH666762Courtesy of HONDA, U.S.A., INC.

    Installation 

    • Refer to figure 2.

    NOTICE: 

    • Clean the frame surfaces where the seal (a) will be applied with a shop towel dampened with isopropyl alcohol. After cleaning, keep oil, grease, and water from getting on the surface. (Figure 2)
    • If you reinstalling the original cowl top, make sure that the seal is not damaged or distorted or compressed. If it is damaged or distorted or it stays compressed replace it.

    Specifications (Figure 2) 

    Standard Value
    b 1 + 1.5/- 1 mm (0.04 + 0.059/- 0.04 in)
    c 2 mm (0.08 in)

    Figure 2 

    GHH666763Courtesy of HONDA, U.S.A., INC.
  9. I.-
    GHH666764Courtesy of HONDA, U.S.A., INC.
  10. J.-

    Sub-Procedure 

    GHH666765Courtesy of HONDA, U.S.A., INC.

    Removal 

    • Refer to the figure.
  11. K.-

    Sub-Procedure 

    Installation 

    • Refer to figure1 and 2.

      NOTICE: 

      Do not wipe off part (a) because special grease is applied. (Figure 2)

    Figure 1 

    GHH666766Courtesy of HONDA, U.S.A., INC.

    Figure 2 

    GHH666767Courtesy of HONDA, U.S.A., INC.

    After Installation 

  12. L.-
    GHH666768Courtesy of HONDA, U.S.A., INC.
  13. M.-
    GHH666769Courtesy of HONDA, U.S.A., INC.
  14. N.-

    Key Information 

    Do the following before starting your work.

    Move: 

    Sub-Procedure 

    Removal 

    • Refer to figure 1.

    Figure 1 

    GHH666770Courtesy of HONDA, U.S.A., INC.

    Installation 

    • Refer to figure 2.

    NOTE: 

    • Clean the frame surfaces where the EPT sealers (a) will be applied with a shop towel dampened with isopropyl alcohol. After cleaning, keep oil, grease, and water from getting on the surface.
    • Make sure the EPT sealers line up with the alignment marks (b).

    NOTICE: 

    After cleaning, keep oil, grease, and water from getting on the surface.

    Specifications (Figure 2) 

    Standard Value
    c 10 mm (0.39 in)
    d 10 mm (0.39 in)
    e 883 mm (34.76 in)
    f 10 mm (0.39 in)
    g 10 mm (0.39 in)
    h 220 mm (8.66 in)

    Figure 2 

    GHH666771Courtesy of HONDA, U.S.A., INC.
  15. O.-

    Sub-Procedure 

    GHH666772Courtesy of HONDA, U.S.A., INC.

    Installation 

    Lubricant Specifications 

    Position Type
    a Multipurpose Grease
  16. P.-

    Sub-Procedure 

    GHH666773Courtesy of HONDA, U.S.A., INC.

    Installation 

    • Set the motor (a) and the wiper linkage assembly (b).

    NOTICE: 

    • Use new self-tapping bolts (C) when the windshield wiper control unit/motor is replaced.
    • Do not use air tools and impact wrenches.
    • Keep the bolts perfectly straight while bolting them in.

    Tightening Procedure 

    Step Operation Object Specification
    1 Tighten (Tapping) All bolts The bolts until they sit on the linkage.
    2 Loosen All bolts -
    3 Tighten All bolts -

    After Installation 

  17. Q.-

    Sub-Procedure 

    GHH666774Courtesy of HONDA, U.S.A., INC.

    Installation 

    • Set the windshield wiper motor to the park position.

      NOTE:  Connect the wiper motor connector, and turn the wiper/washer switch ON to (LO) or (HI) position, then OFF to return the wiper motor shaft to the park position.

    • Align the marks (a).

    After Installation