LEMON Manuals: Even more car manuals for everyone: 1960-2025
Home >> Cadillac >> 1983 >> Cimarron L4-121 2.0L >> Repair and Diagnosis >> Powertrain Management >> Computers and Control Systems >> Transmission Position Sensor/Switch >> Testing and Inspection
April 5, 2026: LEMON Manuals is launched! Read the announcement.

Transmission Position Sensor/Switch: Testing and Inspection

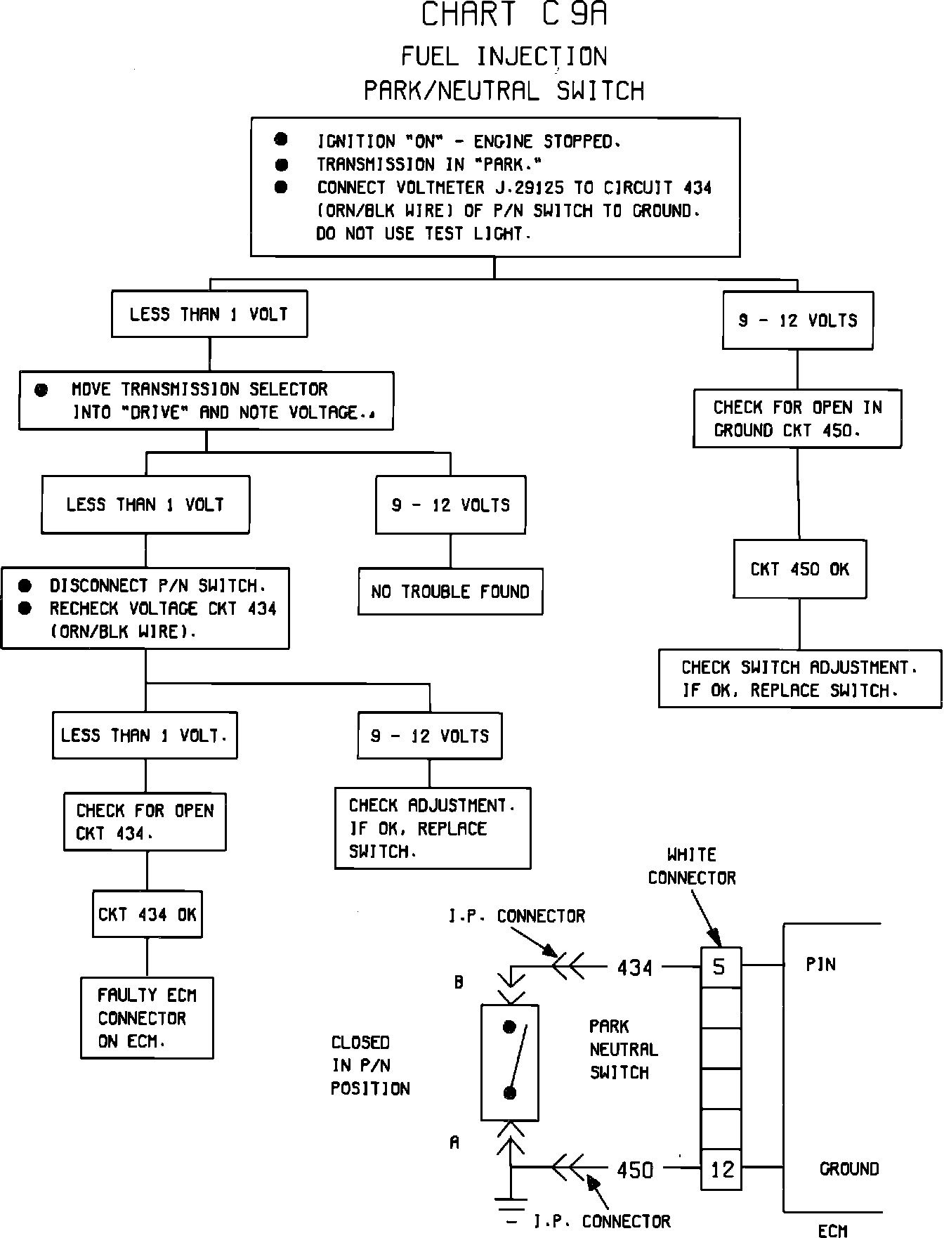
Fig. 36 Chart C-9A Park/Neutral Switch 1982-83: