LEMON Manuals: Even more car manuals for everyone: 1960-2025
Home >> Cadillac >> 1983 >> Cimarron Standard >> Repair and Diagnosis (Single Page) >> Engine Performance >> System >> TBI Tests W/Codes >> Code 13: Open Oxygen (O2) Sensor Circuit
April 5, 2026: LEMON Manuals is launched! Read the announcement.

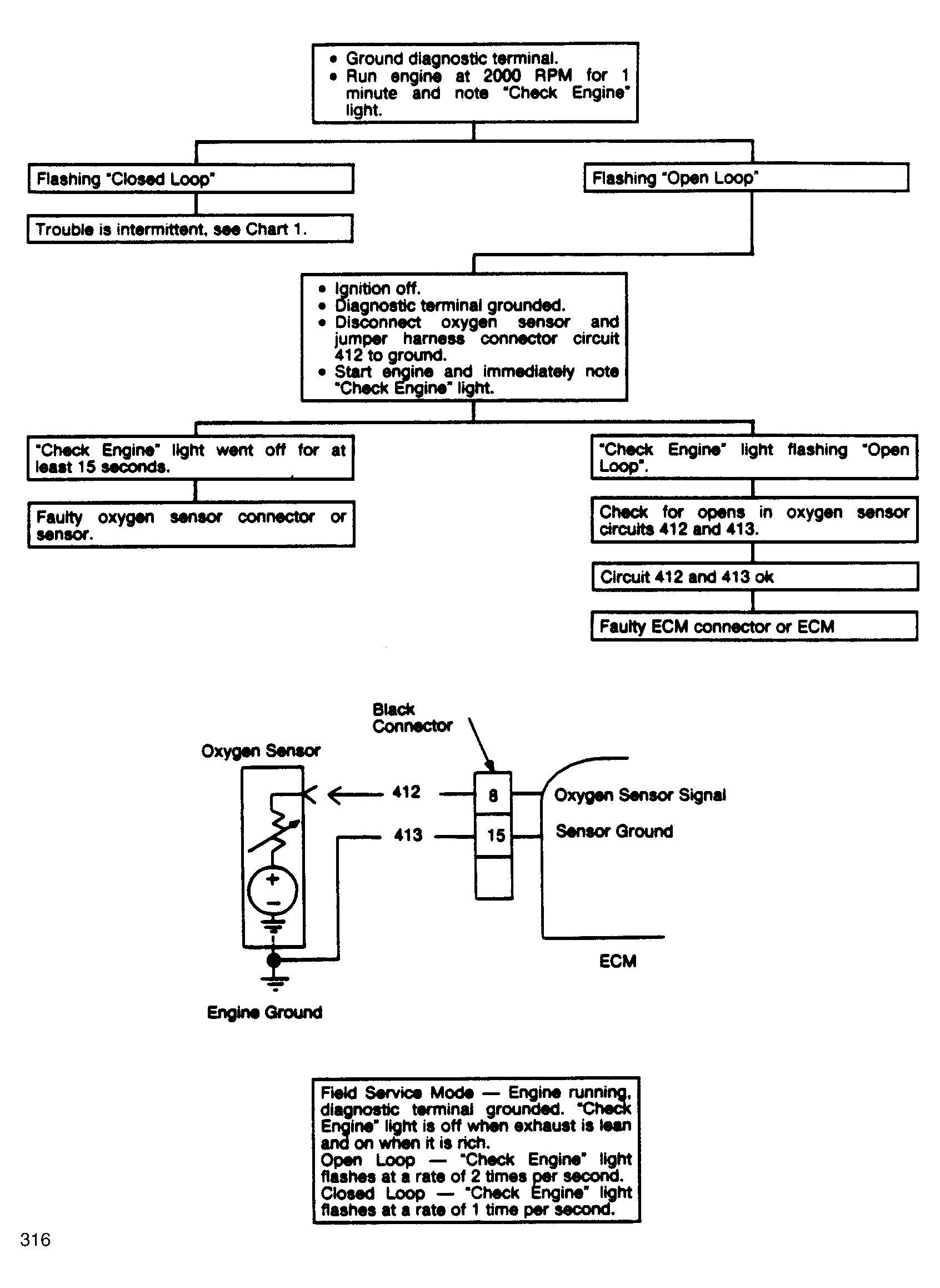
Code 13: Open Oxygen (O2) Sensor Circuit

Fig 1: Code 13: Open Oxygen (O2) Sensor Circuit Flow Chart
G316
Fig 2: Code 13: Open Oxygen (O2) Sensor Circuit Flow Chart
GB0045663