LEMON Manuals: Even more car manuals for everyone: 1960-2025
Home >> Cadillac >> 1987 >> Allante F7/ME9 >> Repair and Diagnosis >> Engine Performance >> System >> Self-Diagnostics >> Input Tests >> ECM Input EI71: Brake Switch >> Notes On Intermittents
April 5, 2026: LEMON Manuals is launched! Read the announcement.

Notes On Intermittents

Check switch for proper adjustment. Check for intermittent open circuit on circuits No. 86 and 420 from brake switches to ECM. Turn cruise On/Off switch off and manipulate wiring for circuit. No. 420. If ECM input EI71 jumps from "HI" to "LO", repair intermittent connection in circuit No. 86. If the 15-amp or 3-amp ECS fuse is being blown intermittently, check circuits No. 86 and 420 for intermittent shorts to ground.

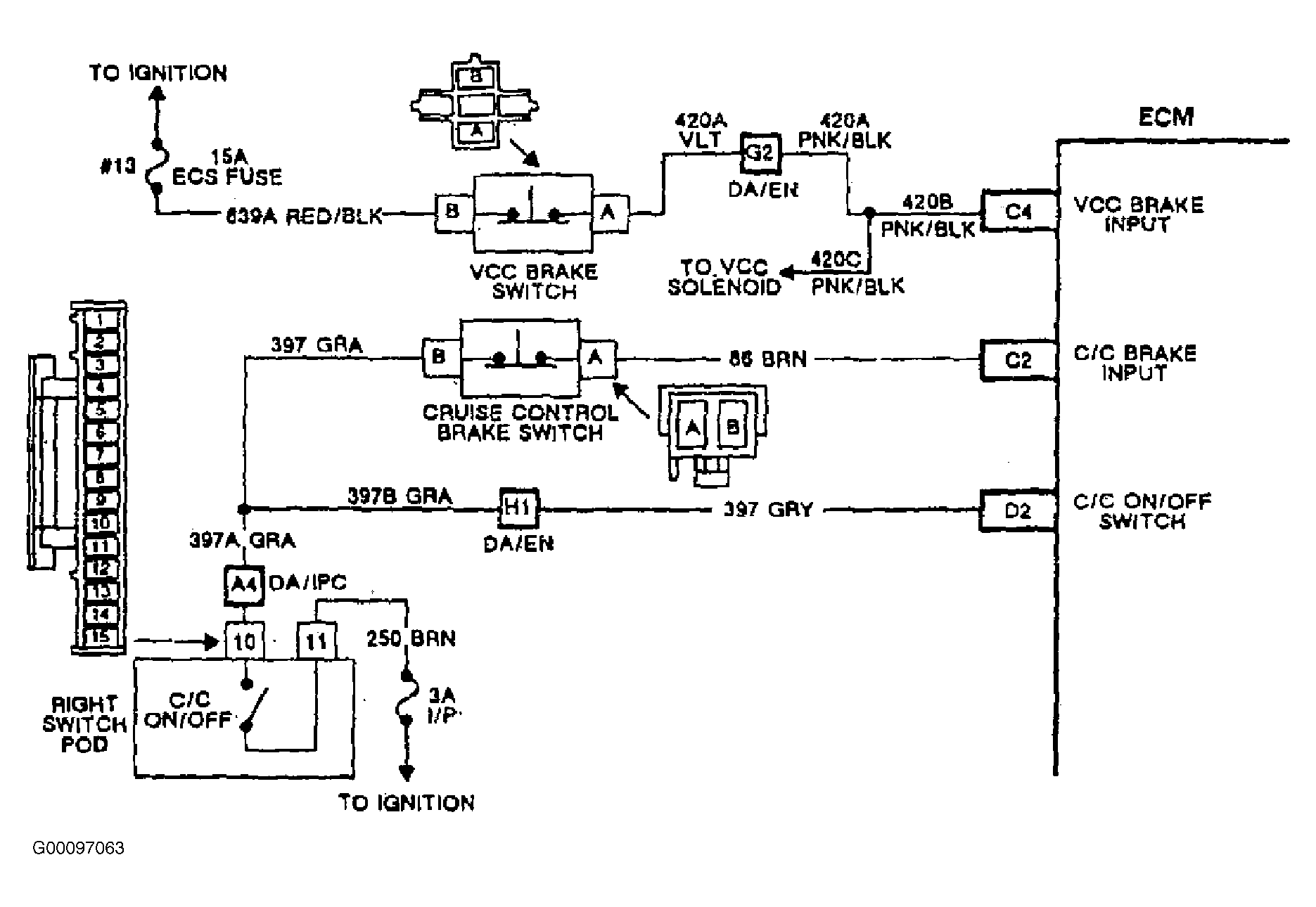
NOTE: For diagnostic chart, see Fig 1 . For circuit identification, see Fig 2 .
Fig 1: Identifying ECM Input EI71: Brake Switch Flow Chart
G00097062Courtesy of GENERAL MOTORS CORP.
Fig 2: Identifying ECM Input EI71: Brake Switch Flow Chart Circuit
G00097063Courtesy of GENERAL MOTORS CORP.