LEMON Manuals: Even more car manuals for everyone: 1960-2025
Home >> Cadillac >> 1987 >> Allante F7/ME9 >> Repair and Diagnosis >> Engine Performance >> System >> Self-Diagnostics >> Input Tests >> ECM Input EI81: Fourth Gear Switch >> Notes On Intermittents
April 5, 2026: LEMON Manuals is launched! Read the announcement.

Notes On Intermittents

Manipulate switch wiring while observing the "°F" status light. If the fault is induced, the "°F" light will flash on. Repair intermittent open in. Circuit No. 446.

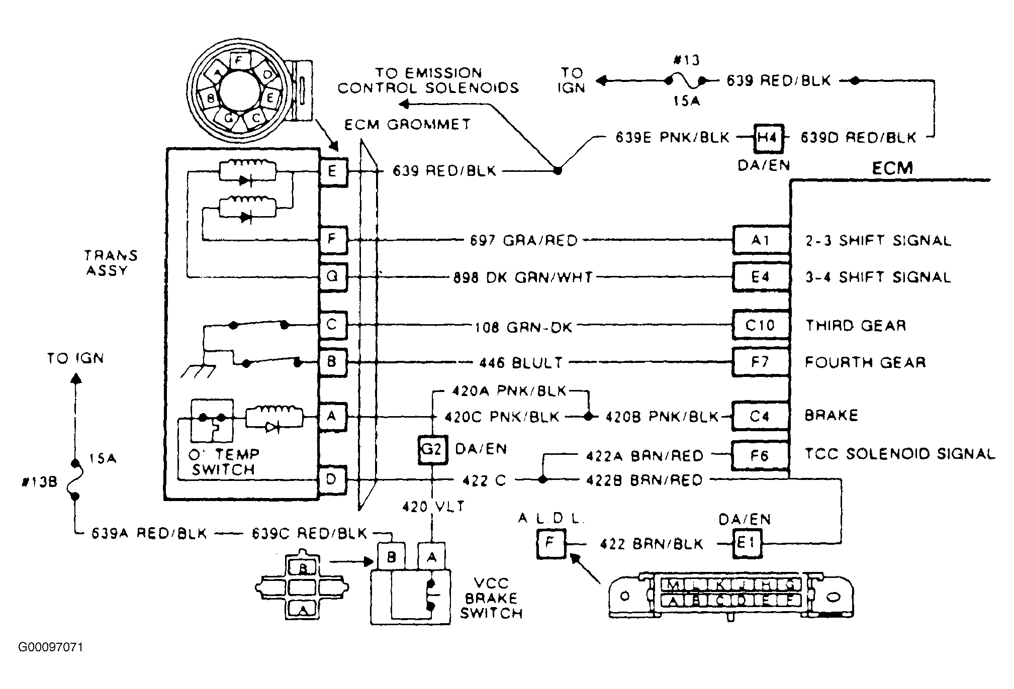
NOTE: For diagnostic chart, see Fig 1 . For circuit identification, see Fig 2 .
Fig 1: Identifying ECM Input EI81: Fourth Gear Switch Flow Chart
G00097070Courtesy of GENERAL MOTORS CORP.
Fig 2: Identifying ECM Input EI81: Fourth Gear Switch Flow Chart Circuit
G00097071Courtesy of GENERAL MOTORS CORP.