LEMON Manuals: Even more car manuals for everyone: 1960-2025
Home >> Cadillac >> 1987 >> Allante F7/ME9 >> Repair and Diagnosis >> Engine Performance >> System >> Self-Diagnostics >> Input Tests >> ECM Input EI83: Cruise Control Set/Coast Switch >> Notes On Intermittents
April 5, 2026: LEMON Manuals is launched! Read the announcement.

Notes On Intermittents

Select ECM input EI83 and observe the status light while holding set/coast button in and manipulating wiring. If the fault is induced, the status will jump from "HI" to "LO". Repair intermittent open in circuit No. 84.

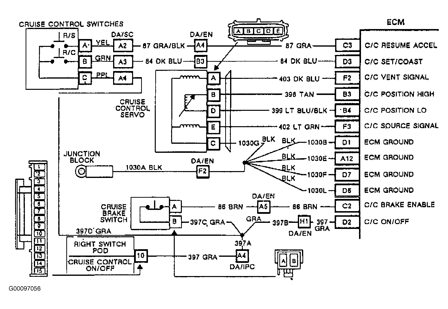
NOTE: For diagnostic chart, see Fig 1 . For circuit identification, see Figure .
Fig 1: Identifying ECM Input EI83: Cruise Control Set/Coast Switch Flow Chart
G00097074Courtesy of GENERAL MOTORS CORP.