LEMON Manuals: Even more car manuals for everyone: 1960-2025
Home >> Cadillac >> 1988 >> Seville Base >> Repair and Diagnosis (Single Page) >> Engine Performance >> Testing & Diagnosis >> DFI ECM Tests W/Codes >> ECM Input Data Code Tests >> ECM Input Code EI78 - Power Steering Pressure Switch Circuit >> Notes on Intermittents
April 5, 2026: LEMON Manuals is launched! Read the announcement.

Notes on Intermittents

With key on, engine off, manipulate wiring and connectors while observing ECM Input EI78. If EI78 cycles to "LO" at any time, repair intermittent open.

Review snapshot data parameters stored with this code to verify failure. If failure is verified, check and repair intermittent wiring connections or sensor.

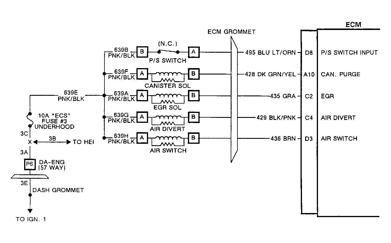
Fig 1: ECM Input Code EI78, Power Steering Pressure Switch Circuit
G57255
Fig 2: ECM Input Code EI78, Power Steering Pressure Switch Circuit
G57377