LEMON Manuals: Even more car manuals for everyone: 1960-2025
Home >> Cadillac >> 1988 >> Seville Base >> Repair and Diagnosis >> Engine Performance >> System >> DFI BCM Tests W/Codes >> BCM Code B124 - Vehicle Speed Sensor Circuit >> Notes On INTERMITTENTS
April 5, 2026: LEMON Manuals is launched! Read the announcement.

Notes On INTERMITTENTS

If intermittent code B124 is being set, manipulate related wiring while observing BCM data code BD60. If a failure is induced, reading will jump from normal value to zero MPH.

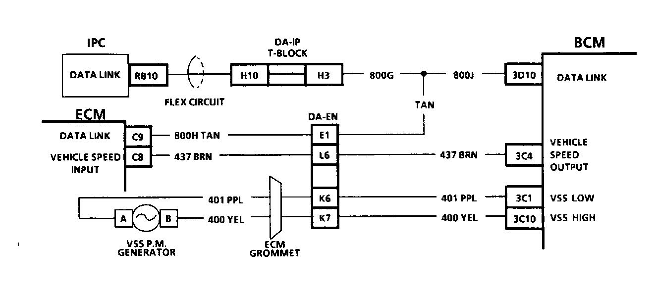
Fig 1: Code B124 Schematic, Vehicle Speed Sensor Circuit
G57407
Fig 2: Code B124 Flow Chart, Vehicle Speed Sensor Circuit
G57408
Fig 3: Code B124 Flow Chart, Vehicle Speed Sensor Circuit
GB0048576