LEMON Manuals: Even more car manuals for everyone: 1960-2025
Home >> Cadillac >> 1989 >> Seville Base >> Repair and Diagnosis >> Engine Performance >> System >> DFI BCM Tests W/Codes >> Multiple Intermittent Codes >> Code B335 - Loss Of CCDIC Data
April 5, 2026: LEMON Manuals is launched! Read the announcement.

Code B335 - Loss Of CCDIC Data

Since a loss of data communication with CCDIC will result in "SYSTEM PROBLEM" display, this code can only be recognized as a history code. During a failure, the A/C-heater programmer will default to 75°F set temperature, front defrost air delivery and automatic blower control.

With a 2-way, redundant communication ability built into this system, a double open in data line must occur to set fault. A single fault, however, in the CCDIC power or ground would also cause this code to set.

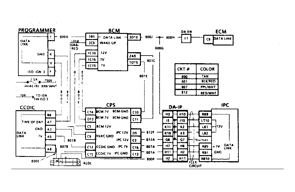
Fig 1: Flow Chart, BCM Code B335, Loss Of CCDIC Data
G57415