LEMON Manuals: Even more car manuals for everyone: 1960-2025
Home >> Cadillac >> 1989 >> Seville Base >> Repair and Diagnosis >> Engine Performance >> System >> DFI ECM Tests W/Codes >> Diagnostic Charts >> ECM Code EO24 - Speed Sensor Circuit Problem >> Notes On Intermittents
April 5, 2026: LEMON Manuals is launched! Read the announcement.

Notes On Intermittents

Backprobe ECM terminal C8 with a voltmeter to ground. Lift both drive wheels off ground, start engine and allow it to idle in drive. Manipulate affected wiring and watch for sudden loss of voltage on ECM terminal C8.

Review snapshot data parameters stored with this code to verify failure. If failure is verified, check and repair intermittent wiring connection or sensor.

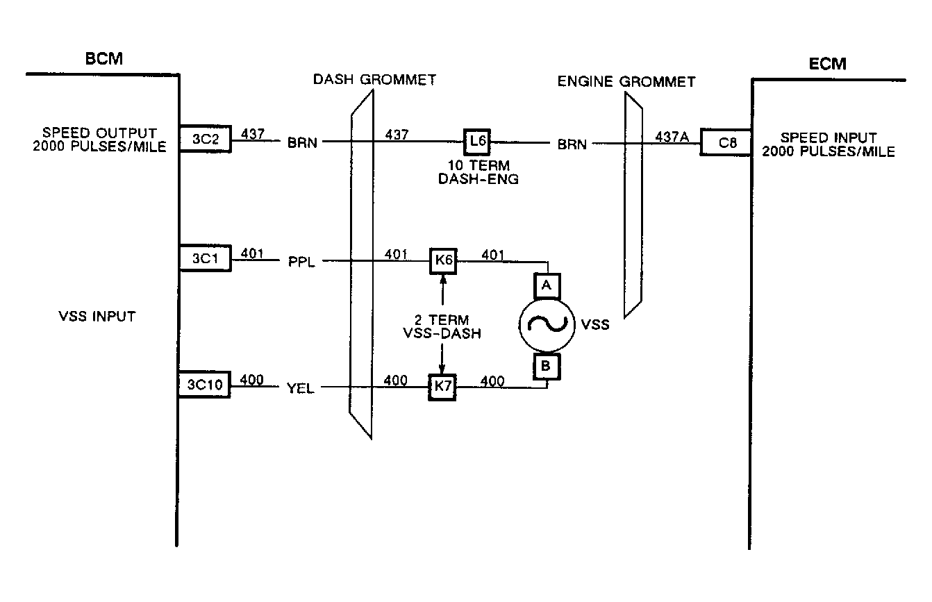
Fig 1: ECM Code E024, Speed Sensor Circuit Schematic
G57320
Fig 2: Flow Chart, Code E024, Speed Sensor Circuit
G111806