LEMON Manuals: Even more car manuals for everyone: 1960-2025
Home >> Cadillac >> 1989 >> Seville Base >> Repair and Diagnosis >> Engine Performance >> System >> DFI ECM Tests W/Codes >> Testing >> Climate Control/Driver Information Center Data Displays >> Notes
April 5, 2026: LEMON Manuals is launched! Read the announcement.

Climate Control/Driver Information Center Data Displays: Notes

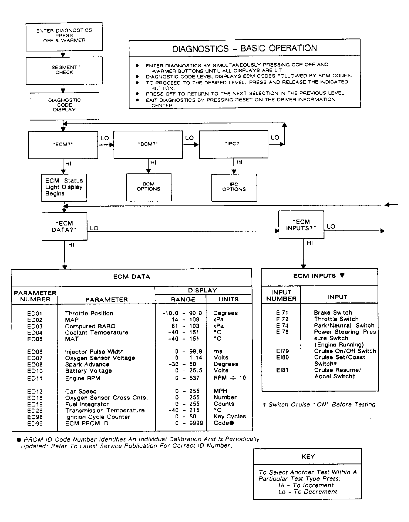
When trouble shooting a malfunction, the ECM and BCM data display can be used to compare problem vehicle with a vehicle that is functioning properly. See Figure . The following is a brief summary of each parameter.