LEMON Manuals: Even more car manuals for everyone: 1960-2025
Home >> Cadillac >> 1990 >> Allante F7/ME9 >> Repair and Diagnosis >> Body & Frame >> Body, Cab Control Systems >> Body Computer Module >> Description & Operation >> Lighting System >> Output Switching Modules (OSM's)
April 5, 2026: LEMON Manuals is launched! Read the announcement.

Output Switching Modules (OSM's)

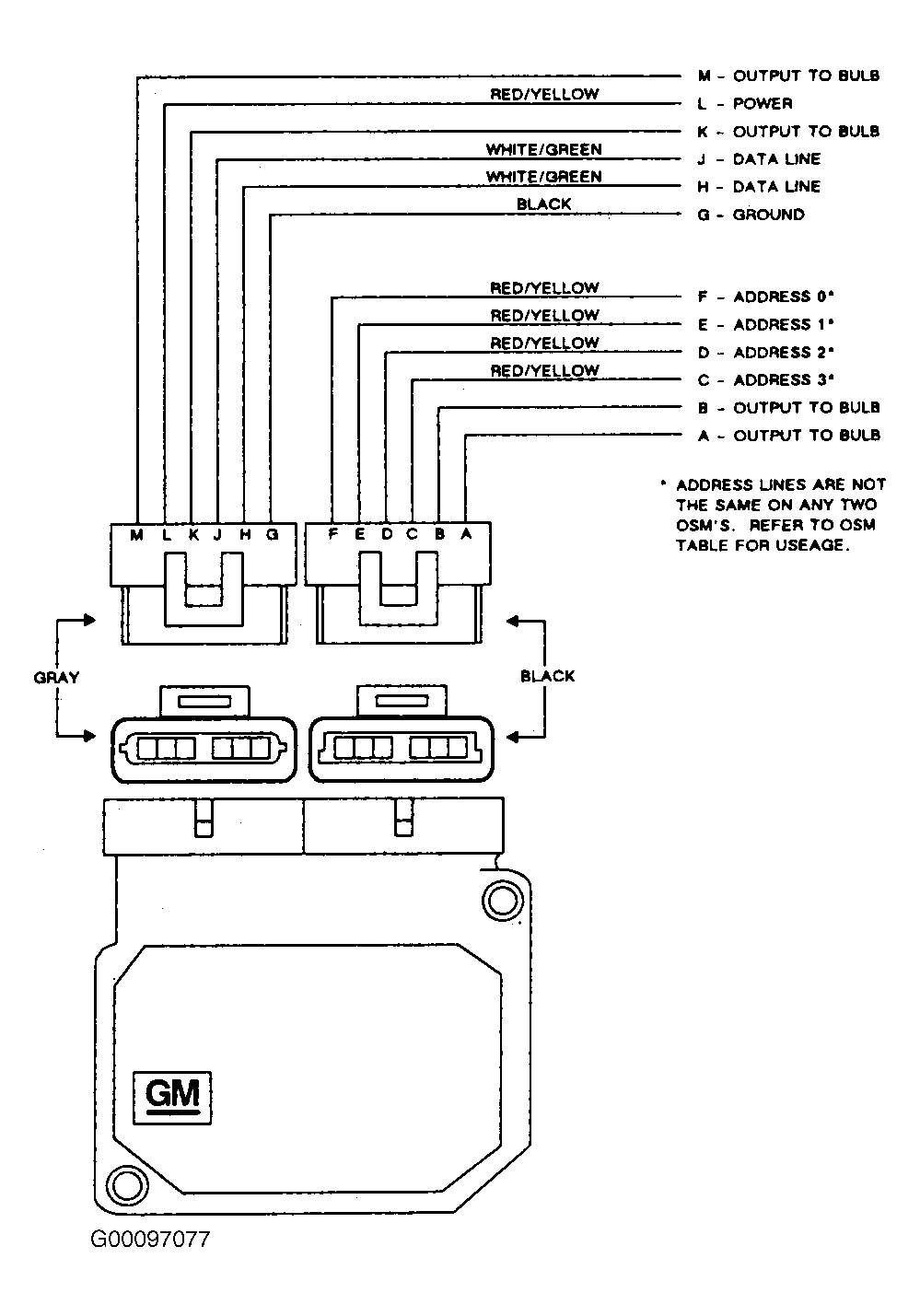
Each OSM is a solid state switching device that consists of:

  1. Four outputs to power lamps.
  2. Address pins that will uniquely identify the OSM when connected to the vehicle harness.
  3. Two data line inputs that are used to communicate with the BCM.
  4. A power and ground connection.
Based on the commands the OSM receives from the BCM, the OSM will turn on and off its outputs, which results in the headlamp, tail lamp, turn signal lamp, or courtesy lamp operation required under the particular operation condition. Fig 1 and Fig 2 detail the general and specific bulbs, addresses, power, and grounds for each OSM.

Fig 1: Typical Output Switching Module Pin-Out
G00097077Courtesy of GENERAL MOTORS CORP.
Fig 2: Output Switching Module Addressing System
G00097078Courtesy of GENERAL MOTORS CORP.