LEMON Manuals: Even more car manuals for everyone: 1960-2025
Home >> Cadillac >> 1991 >> Seville Base >> Repair and Diagnosis >> Engine Performance >> System >> Engine Controls - Tests W/Codes >> Diagnostic Tests >> BCM Code B111, A/C High Side Temperature Sensor Circuit >> Note On Intermittents
April 5, 2026: LEMON Manuals is launched! Read the announcement.

Note On Intermittents

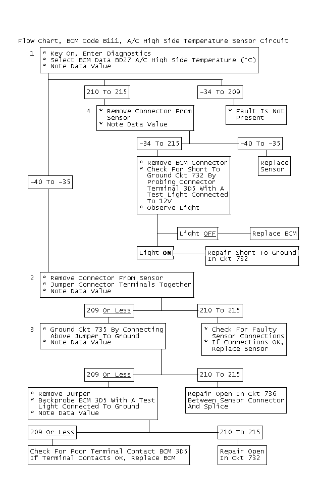
If intermittent Code B111 is being set, manipulate related wiring while observing BCM parameter BD27. If failure is induced, reading will jump from its normal value to a reading outside range of -34°C to 209°C. If value of sensor displayed by BD27 is not reasonably close to pressure gauge reading, check poor terminal connections or replace sensor.

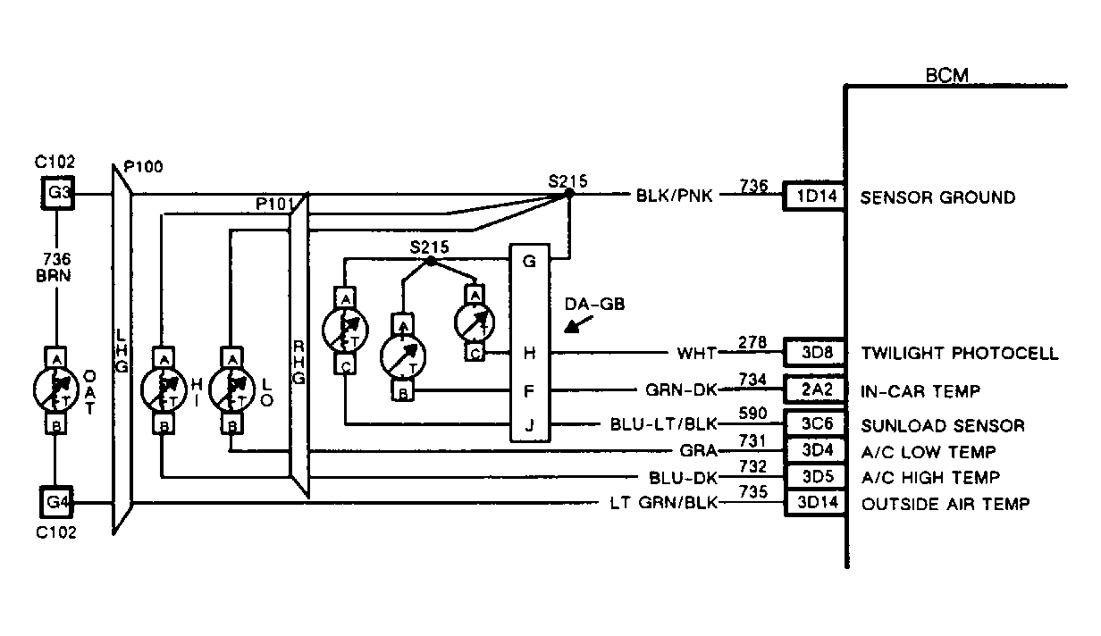
Fig 1: BCM Code B111, Schematic, A/C High Side Temperature Sensor Circuit
G91G07636
Fig 2: Flow Chart, BCM Code B111, A/C High Side Temperature Sensor Circuit
GB0022568
NOTE: When The Repair Is Complete, Remove #5 Fuse (CPS) For 10 Seconds To Reset Outside Temperature And Allow A/C Operation.