LEMON Manuals: Even more car manuals for everyone: 1960-2025
Home >> Cadillac >> 1992 >> DeVille Touring >> Repair and Diagnosis >> Engine Performance >> System >> Engine Controls - Tests W/Codes >> Pcm Trouble Code Diagnosis >> Pcm Code E74, Mat Sensor Signal Interrupt >> Note On Intermittents
April 5, 2026: LEMON Manuals is launched! Read the announcement.

Note On Intermittents

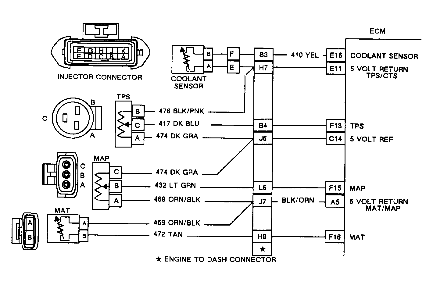
This code can be caused by an open, short to ground or short to voltage on circuit No. 472 and/or 469. Also check for open or short in sensor connector, engine-to-dash connector or PCM connector. If no problems are found in wiring and connectors, substitute a known good sensor, and retest.

Fig 1: PCM Code E74, Schematic, MAT Sensor Signal Interrupt
G90F17264Courtesy of GENERAL MOTORS CORP.