LEMON Manuals: Even more car manuals for everyone: 1960-2025
Home >> Cadillac >> 1992 >> Seville Base >> Repair and Diagnosis (Single Page) >> Engine Performance >> System >> Engine Controls - Tests W/Codes >> Pcm Code Charts >> Pcm Code E053, Distributor Signal Interrupt >> Note On Intermittents
April 5, 2026: LEMON Manuals is launched! Read the announcement.

Note On Intermittents

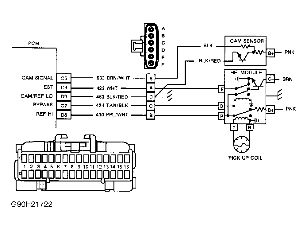
DO NOT  attempt to diagnose PCM Code E053 unless complaints of stumble, stall, miss or other driveability conditions which could be caused by loss of spark or fuel exist. PCM Code E053 can be caused by loss of ground on circuit No. 453, loss of distributor reference signal on circuit No. 430, loss of battery power to "B+" terminal of distributor or faulty ignition switch circuit.

Fig 1: PCM Code E053, Schematic, Distributor Signal Interrupt
G90H21722Courtesy of GENERAL MOTORS CORP.
Fig 2: PCM Code E053, Flow Chart, Distributor Signal Interrupt
G91C07597Courtesy of GENERAL MOTORS CORP.
Fig 3: PCM Code E053
GB0011203