LEMON Manuals: Even more car manuals for everyone: 1960-2025
Home >> Cadillac >> 1992 >> Seville Base >> Repair and Diagnosis >> Engine Performance >> System >> Engine Controls - Tests W/Codes >> Pcm Code Charts >> Pcm Code E019, Shorted Fuel Pump Circuit >> Note On Intermittents
April 5, 2026: LEMON Manuals is launched! Read the announcement.

Note On Intermittents

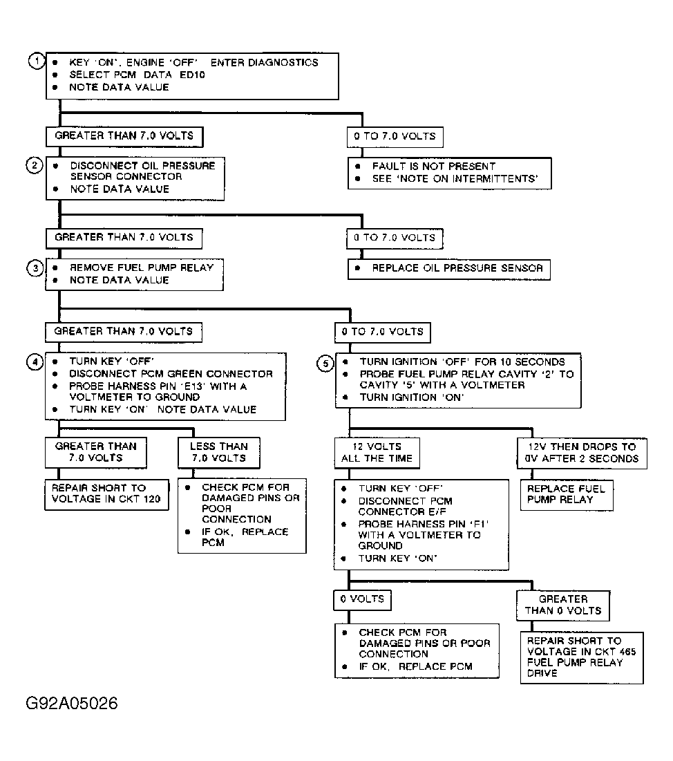
Probe fuel pump test point using a voltmeter to ground. Turn ignition on, and observe voltmeter. Voltmeter should indicate battery voltage for 2 seconds and then drop to zero. If voltage reading stays at battery voltage for longer than 2 seconds, check for sticking fuel pump relay contacts. Repeat test several times. Continue probing fuel pump test point to ground. Start engine, and then turn it off. Voltage should drop immediately to zero. If voltage does not immediately drop to zero, check oil pressure switch contacts.

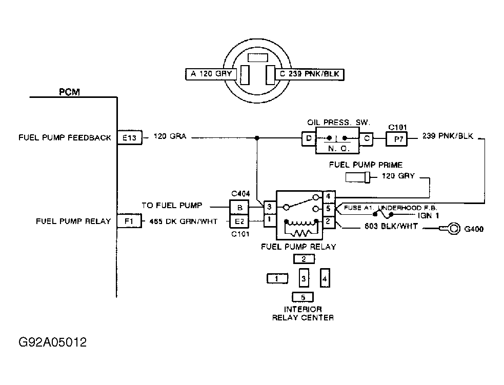
Fig 1: PCM Code E019, Schematic, Shorted Fuel Pump Circuit
G92A05012Courtesy of GENERAL MOTORS CORP.
Fig 2: PCM Code E019, Flow Chart, Shorted Fuel Pump Circuit
G92A05026Courtesy of GENERAL MOTORS CORP.
Fig 3: PCM Code E019
GB0011175