LEMON Manuals: Even more car manuals for everyone: 1960-2025
Home >> Cadillac >> 1992 >> Seville Base >> Repair and Diagnosis >> Engine Performance >> System >> Engine Controls - Tests W/Codes >> Pcm Code Charts >> Pcm Code E060, Cruise Control W/Transmission Not In Drive >> Note On Intermittents
April 5, 2026: LEMON Manuals is launched! Read the announcement.

Note On Intermittents

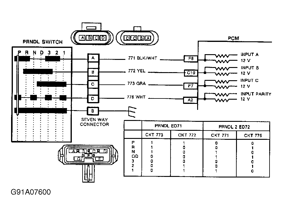
If PCM Code E060 is stored as a history code, select PCM data ED71 and ED72. Manipulate harness while observing status of switch. If switch changes status as wiring is manipulated, repair intermittent connections. If no trouble code is found, code may have been set if transmission was inadvertently put into Neutral while cruise control was engaged.

Fig 1: PCM Code E060, Schematic, Cruise Control w/Transmission Not in Drive
G91A07600