LEMON Manuals: Even more car manuals for everyone: 1960-2025
Home >> Cadillac >> 1993 >> Allante >> Repair and Diagnosis >> Body & Frame >> Power Windows >> Removal & Installation >> Express Down Module >> Removal & Installation
April 5, 2026: LEMON Manuals is launched! Read the announcement.

Removal & Installation

  1. Remove armrest pad. See Door Armrest Pad  .
  2. Remove armrest plate. See DOOR ARMREST PLATE  .
  3. Disconnect wiring connector.
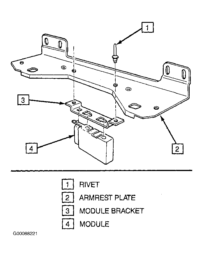
  4. Press release tab and remove module (4) from bracket. See .
  5. Installation is the reverse of removal.
Fig 1: Removing Express Down Module
G00088221Courtesy of GENERAL MOTORS CORP.