LEMON Manuals: Even more car manuals for everyone: 1960-2025
Home >> Cadillac >> 1993 >> Allante >> Repair and Diagnosis >> Steering >> Steering Column >> Overhaul
April 5, 2026: LEMON Manuals is launched! Read the announcement.

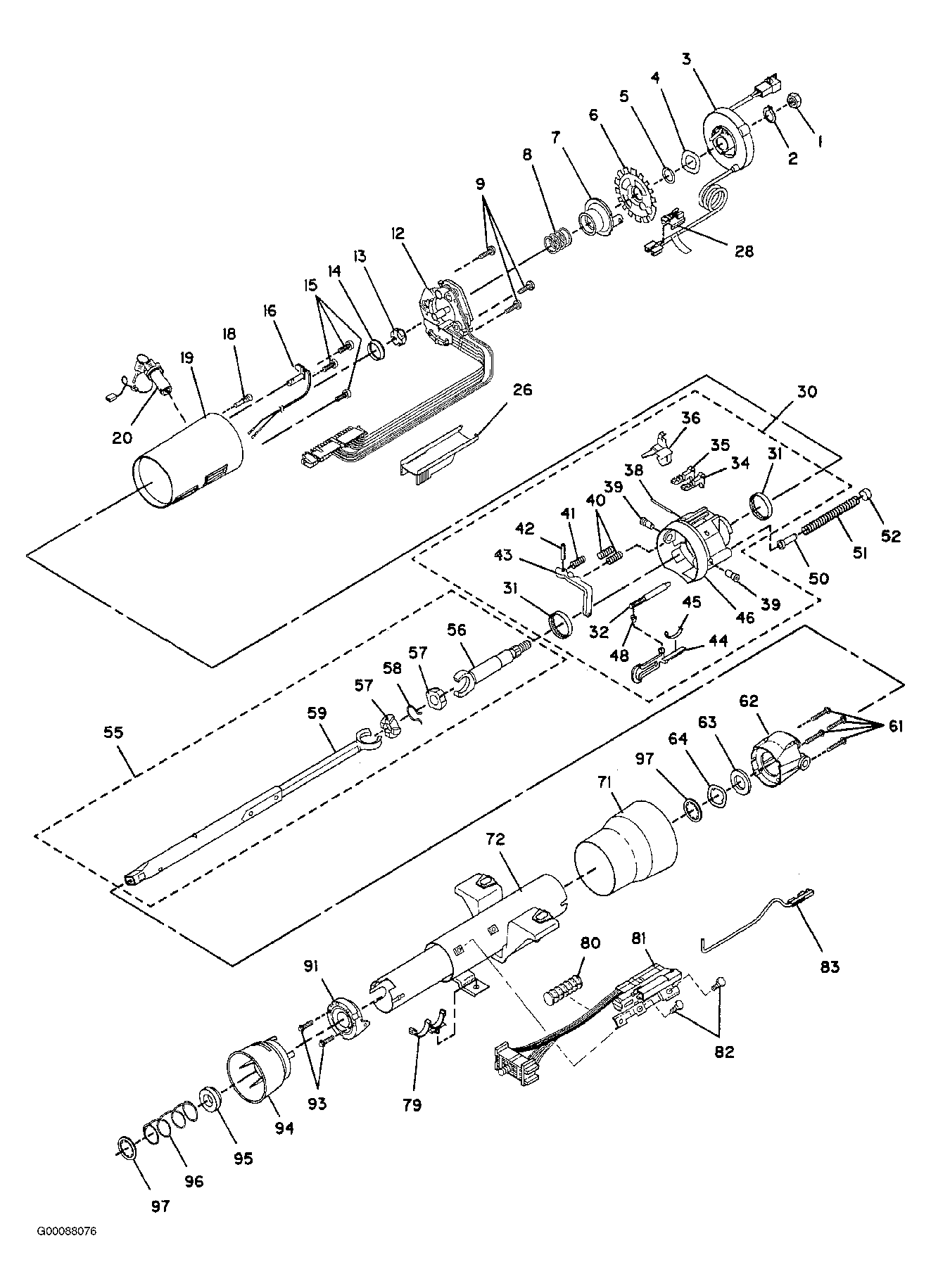
Steering Column: Overhaul

Fig 1: Exploded View Of Tilt Steering Column (1 Of 2)
G00088076Courtesy of GENERAL MOTORS CORP.
Fig 2: Exploded View Of Tilt Steering Column, Legend (2 Of 2)
G00088077Courtesy of GENERAL MOTORS CORP.