LEMON Manuals: Even more car manuals for everyone: 1960-2025
Home >> Cadillac >> 1993 >> Seville Base >> Repair and Diagnosis (Single Page) >> Engine Performance >> System >> Engine Controls - Tests W/Codes - Pcm >> Pcm Code Charts >> Pcm Code P032 - Open Map Sensor Circuit >> Note On Intermittents
April 5, 2026: LEMON Manuals is launched! Read the announcement.

Note On Intermittents

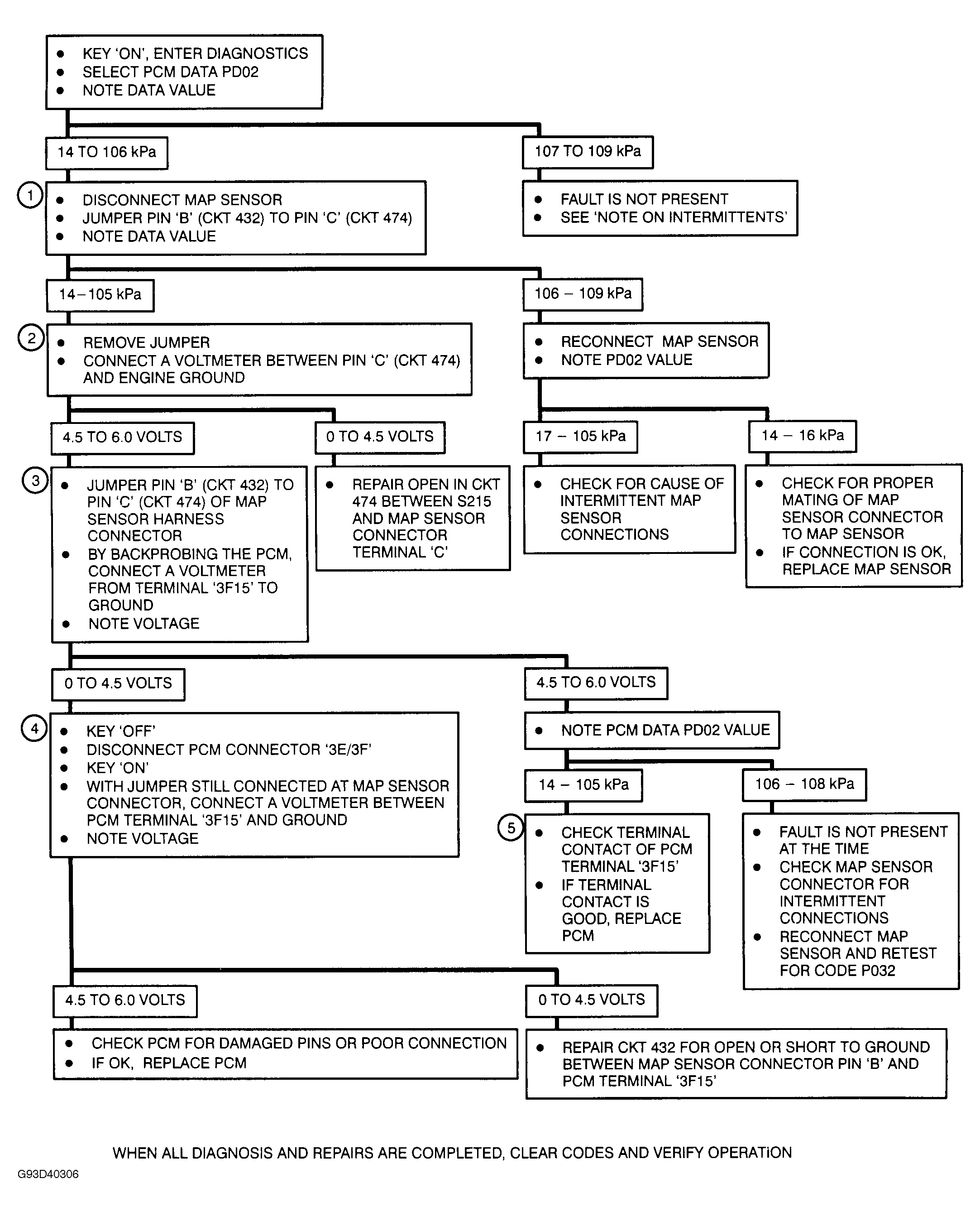
PCM Code P032 can be set by an open 5-volt reference signal between PCM and sensor, an open MAP signal between sensor and PCM or a defective MAP sensor. Manipulate affected wiring and connectors while observing PCM parameter PD02. Apply and release vacuum to MAP sensor vacuum port using a vacuum source. If PCM parameter PD02 displays less than 15 kPa, condition has been induced and cause of intermittent can be repaired. If wiring and connectors are okay, substitute a known good sensor, and retest.

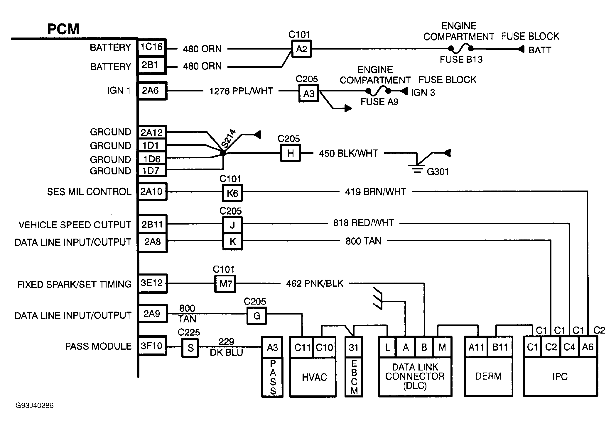
Fig 1: PCM Code P032 Schematic - Open MAP Sensor Circuit
G93J40286Courtesy of GENERAL MOTORS CORP.
Fig 2: PCM Code P032 Flow Chart - Open MAP Sensor Circuit
G93D40306Courtesy of GENERAL MOTORS CORP.