LEMON Manuals: Even more car manuals for everyone: 1960-2025
Home >> Cadillac >> 1993 >> Seville Base >> Repair and Diagnosis >> Engine Performance >> System >> Engine Controls - Tests W/Codes - Pcm >> Pcm Code Charts >> Pcm Code P023 - Ignition Control Circuit Problem >> Action
April 5, 2026: LEMON Manuals is launched! Read the announcement.

Pcm Code P023 - Ignition Control Circuit Problem: Action

PCM turns on SERVICE ENGINE SOON light and will not enable spark timing control. Engine will start and run on base timing. PCM disables EGR solenoid.

NOTE: Test numbers refer to numbers on diagnostic chart.
  1. When circuit No. 423 is shorted to ground, engine will have a long crank and hard start condition. When PCM detects grounded circuit, by-pass line will be shifted low.
  2. With only distributor reference (distributor reference ground jumpered), engine will run on back-up spark control. This checks for proper ground connections between PCM and engine and between PCM and ignition control module.
  3. This ensures PCM provides an ignition control output signal over circuit No. 423.
  4. This checks if ignition control module can ground ignition control signal with an open by-pass circuit.
  5. This checks if ignition control module can recognize a voltage on by-pass circuit and stop grounding ignition control (PCM-controlled timing).
  6. This checks for by-pass signal to module. If by-pass signal is being sent by PCM to ignition control and if module is interpreting by-pass voltage correctly, module will switch off ground to ignition control.
  7. Fault may exist in 6-way connector. Check connector and terminals for damage. If connector is okay, plug in connector, and retest for PCM Code P023.
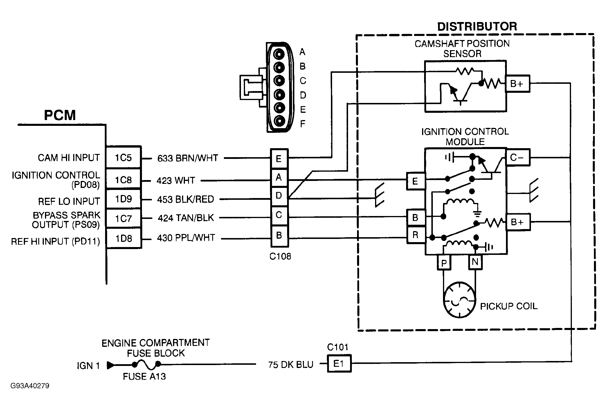
Fig 1: PCM Code P023 Schematic - Ignition Control Ckt. Problem
G93A40279Courtesy of GENERAL MOTORS CORP.
Fig 2: PCM Code P023 Flow Chart (1 Of 2) - Ignition Control Ckt. Problem
G93B40296Courtesy of GENERAL MOTORS CORP.
Fig 3: PCM Code P023 Flow Chart (2 Of 2) - Ignition Control Ckt. Problem
G93C40297Courtesy of GENERAL MOTORS CORP.