LEMON Manuals: Even more car manuals for everyone: 1960-2025
Home >> Cadillac >> 1993 >> Seville Base >> Repair and Diagnosis >> Engine Performance >> System >> Engine Controls - Tests W/Codes - Pcm >> Pcm Code Charts >> Pcm Code P046 - Front-To-Rear Bank Fueling Imbalance >> Action
April 5, 2026: LEMON Manuals is launched! Read the announcement.

Pcm Code P046 - Front-To-Rear Bank Fueling Imbalance: Action

PCM turns on SERVICE ENGINE SOON light.

NOTE: Test numbers refer to numbers on diagnostic chart.
  1. If any other codes are present, diagnose them first because they can cause a fueling imbalance.
  2. This test checks for a physical or mechanical problem causing PCM Code P046 to set.
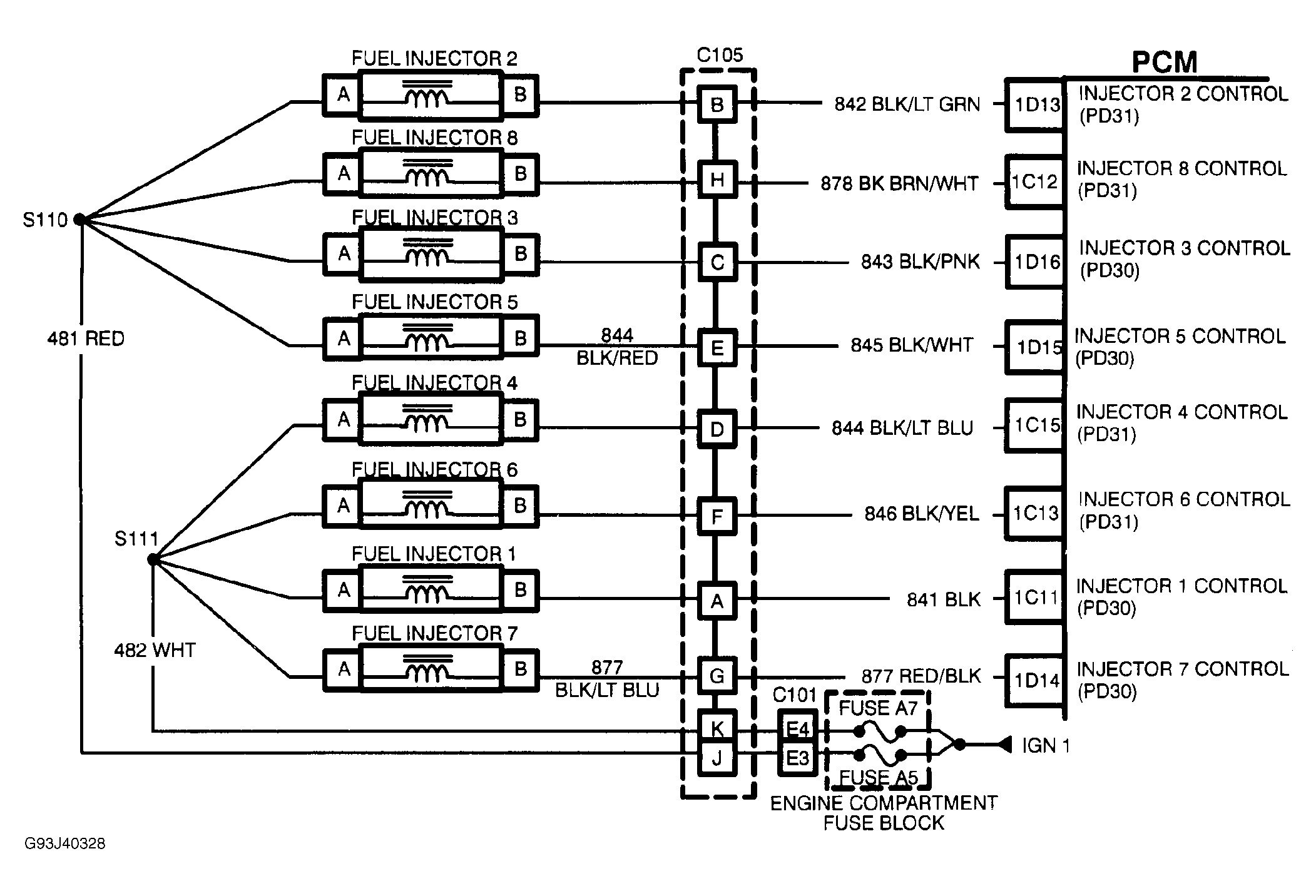
  3. Injector bank that is farthest from neutral value of 128 is bank which is out of fuel. Refer to PCM DATA PARAMETER. See Figure . See appropriate chart under POWERTRAIN CHARTS.
Fig 1: PCM Code P046 Schematic - Front-To-Rear Bank Fueling Imbalance
G93J40328Courtesy of GENERAL MOTORS CORP.
Fig 2: PCM Code P046 Flow Chart - Front-To-Rear Bank Fueling Imbalance
G93A40329Courtesy of GENERAL MOTORS CORP.