LEMON Manuals: Even more car manuals for everyone: 1960-2025
Home >> Cadillac >> 1993 >> Seville Base >> Repair and Diagnosis >> Engine Performance >> System >> Engine Controls - Tests W/Codes - Pcm >> Powertrain Charts >> Powertrain Chart 1 - Powertrain System Check
April 5, 2026: LEMON Manuals is launched! Read the announcement.

Powertrain Chart 1 - Powertrain System Check

POWERTRAIN SYSTEM CHECK is an organized approach to identifying a computer-controlled electronics problem. Understanding chart and using it correctly will reduce diagnostic time and prevent unnecessary parts replacement.

Use POWERTRAIN SYSTEM CHECK to begin diagnosis if any customer complaint does not directly relate to a specific subsystem. If SERVICE ENGINE SOON light fails to glow during cranking, problem could be in PCM power supply circuit. POWERTRAIN SYSTEM CHECK will direct technician to an appropriate diagnostic chart, test procedure or article.

If DIC panel display is not operating properly, PCM computer self-diagnostics mode cannot be used and POWERTRAIN SYSTEM CHECK will direct technician to an appropriate diagnostic chart, test procedure or article.

If a trouble code is identified by PCM computer system self-diagnostics mode, problem can be corrected following appropriate numbered code charts. If no trouble code has been identified, POWERTRAIN SYSTEM CHECK will direct technician to an appropriate diagnostic chart, test procedure of article.

NOTE: Test numbers refer to numbers on diagnostic chart.
  1. Checks if system will enter diagnostics. If diagnostics cannot be entered or displays are blank, problem exists in IPC or related circuit. Diagnose system as follows:
    • Turn ignition on. Using a DVOM connected to ground, backprobe IPC connector cavities A1, A2, C12 and C14. Reading should be greater than 10 volts. If voltage reading on one or more terminal is not as specified, repair open or short in related circuit. If voltage reading is not as specified on all terminals, check charging system.
    • If all of voltage readings are correct, turn ignition off. Disconnect IPC connectors (Black and White). Measure resistance between ground and IPC connector cavities A5 and C16. If any measurement is greater than one ohm, repair affected circuit or check/repair ground. If both circuits are within 0-1 ohm, reconnect IPC connectors.
    • Turn ignition on. Using a DVOM connected to ground, backprobe IPC connector cavity B2. If reading is 14 volts or greater, check IPC connectors for good terminal contact. If contacts are okay and diagnostics still cannot be entered, replace IPC.
    • If reading is less than 14 volts, disconnect radio head and measure voltage at IPC connector terminal B2. If reading is 14 volts or greater, replace radio head. If reading is less than 14 volts, disconnect IPC connector.
    • Check continuity between IPC connector terminal B2 and ground. If continuity is present, repair short in circuit. If continuity is not present, replace IPC assembly.
  2. Checks to see if IPC is able to communicate with PCM. If IPC is unable to communicate with PCM, Code I034 will set or NO PCM DATA message will be displayed when diagnostics are used.
  3. SERVICE ENGINE SOON light should be on when vehicle is in diagnostic mode.
  4. Checks if powertrain system is operational.
  5. Checks if PCM codes are present.
  6. SERVICE ENGINE SOON light should be off if codes are not present.
  7. Checks if known customer complaint is causing problem.
  8. If complaint is not in customer complaint list, perform system check applying to situation.
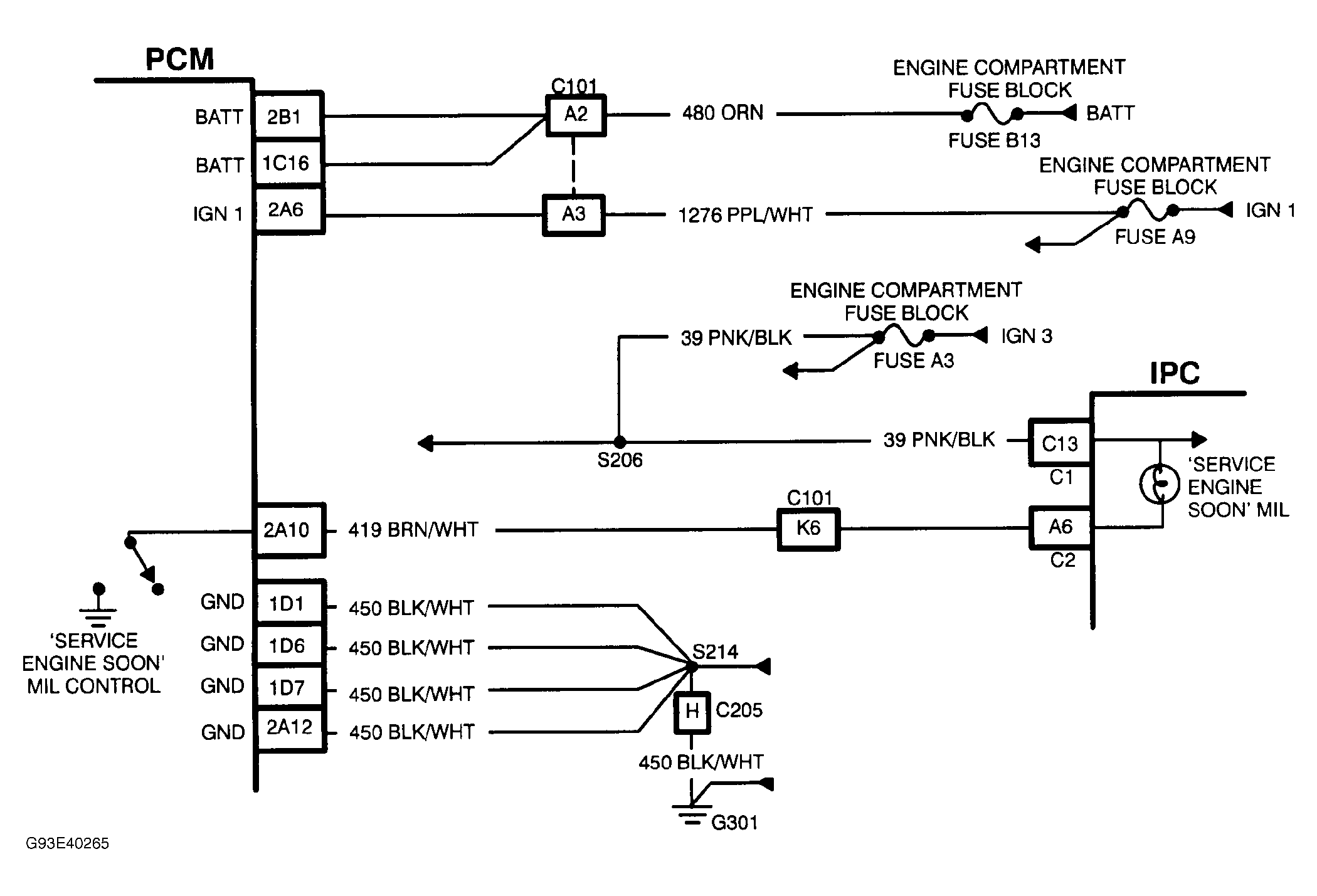
Fig 1: POWERTRAIN Chart 1 Schematic - Powertrain System Check
G93E40265Courtesy of GENERAL MOTORS CORP.
Fig 2: POWERTRAIN Chart 1 Flow Chart - Powertrain System Check
G93F40266Courtesy of GENERAL MOTORS CORP.