LEMON Manuals: Even more car manuals for everyone: 1960-2025
Home >> Cadillac >> 1993 >> Seville V8-281 4.6L >> Repair and Diagnosis >> Body and Frame >> Locks >> Keyless Entry >> Keyless Entry Programming Connector >> Locations >> Programming Connector
April 5, 2026: LEMON Manuals is launched! Read the announcement.

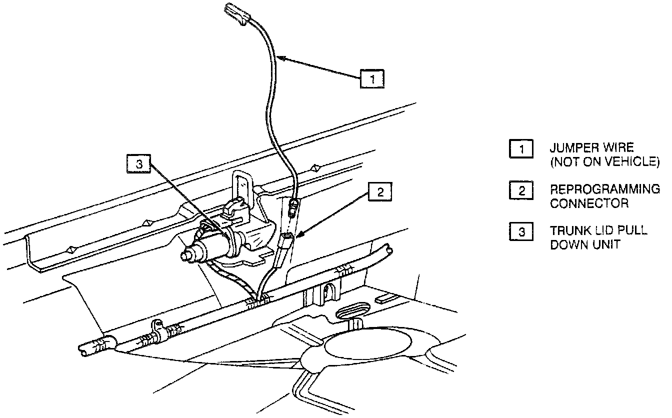
Programming Connector

RKE Programming Connector: